GM Service Manual Online
For 1990-2009 cars only

Tools Required

J 41352 Steering Column Holding Fixture

Removal Procedure

    Caution: Refer to SIR Caution in the Preface section.


    Object Number: 323849  Size: SH
  1. Disable the SIR system. Refer to SIR Disabling and Enabling in SIR.
  2. Important: Put the steering column in the CENTER position.

  3. Remove the tilt lever. Refer to Tilt Lever Replacement .
  4. Remove the steering wheel from the steering column. Refer to Steering Wheel Replacement .
  5. Remove the steering column from the vehicle. Refer to Steering Column Replacement .
  6. Put the steering column and J 41352 into a vise.
  7. Inspect the steering column for accident damage. Refer to Steering Column Accident Damage Inspection .

  8. Object Number: 328807  Size: SH
  9. Remove the lower trim cover from the upper trim cover.
  10. Tilt the lower trim cover down.
  11. Slide the lower trim cover backward in order to disengage the locking tabs.

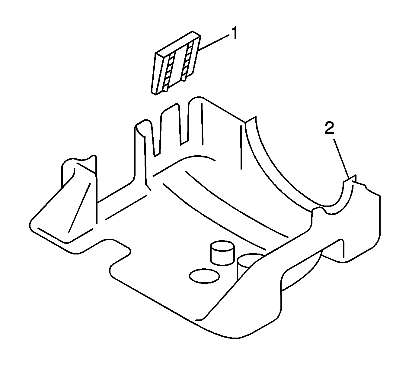
  12. Object Number: 1971768  Size: SH
  13. Remove the trim cover protector (1) from the lower trim cover (2).

Installation Procedure


    Object Number: 1971768  Size: SH
  1. Install the trim cover protector (1) onto the lower trim cover (2).

  2. Object Number: 328807  Size: SH
  3. Install the lower trim cover onto the upper trim cover.
  4. Match the tab slots on the lower trim cover with the locking tabs on the upper trim cover.
  5. Tilt the lower trim cover up.
  6. Slide the lower trim cover forward until the locking tabs snap into the tab slots.

  7. Object Number: 323849  Size: SH
  8. Remove the steering column and J 41352 from the vise.
  9. Install the steering column into the vehicle. Refer to Steering Column Replacement .
  10. Install the steering wheel onto the steering column. Refer to Steering Wheel Replacement .
  11. Install the tilt lever. Refer to Tilt Lever Replacement .
  12. Enable the SIR system. Refer to SIR Disabling and Enabling in SIR.