GM Service Manual Online
For 1990-2009 cars only

Fuel System Overview

The fuel tank stores the fuel supply. An electric fuel pump, located in the fuel tank with the fuel sender assembly, pumps fuel through an in-tank fuel filter to the fuel rail assembly. The pump provides fuel at a pressure that is more than is needed by the injectors. The fuel pressure regulator, part of the fuel rail assembly, keeps fuel available to the injectors at a regulated pressure.

Fuel Tank


Object Number: 531026  Size: SH

The fuel tank stores the fuel supply. The fuel tank is located in the rear of the vehicle. The fuel tank is held in place by 2 metal straps that attach to the frame. The fuel tank is molded from high density polyethylene.

Fuel Fill Pipe


Object Number: 61745  Size: SH

The fuel fill pipe (2) has a built-in restrictor and a deflector in order to prevent refueling with leaded fuel.

Fuel Filler Cap


Object Number: 155471  Size: SH

Notice: If a fuel tank filler cap requires replacement, use only a fuel tank filler cap with the same features. Failure to use the correct fuel tank filler cap can result in a serious malfunction of the fuel and EVAP system.

The fuel fill pipe has a tethered quarter-turn type fuel filler cap. A torque-limiting device prevents the cap from being over tightened. To install the cap, turn the cap clockwise until you hear audible clicks. This indicates that the cap is correctly torqued and fully seated. A fuel filler cap that is not fully seated may cause a malfunction in the emission system.

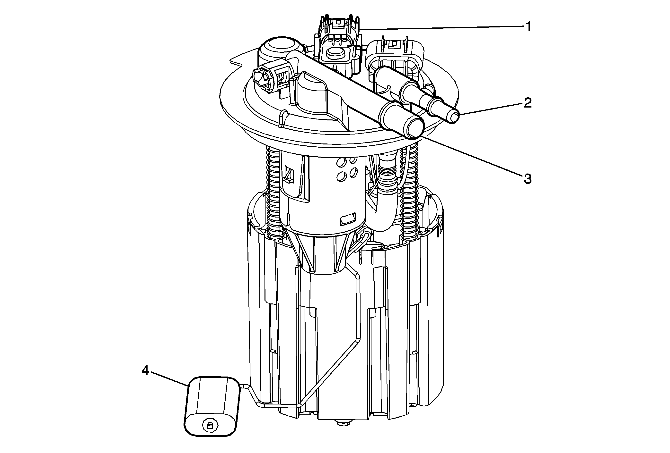
Fuel Sender Assembly


Object Number: 1455724  Size: MF

The fuel sender assembly consists of the following major components:

    • The fuel tank pressure (FTP) sensor (1)
    • The post not used (2)
    • The fuel feed (3)
    • The canister vent (4)
    • The fuel limiting vent valve (FLVV) (5)
    • The fuel level sensor (6)
    • The fuel pump and reservoir assembly (7)

Fuel Level Sensor


Object Number: 50562  Size: SH

The fuel level sensor consists of a float, a wire float arm, and a ceramic resistor card. The position of the float arm indicates the fuel level. The fuel level sensor contains a variable resistor which changes resistance in correspondence with the amount of fuel in the fuel tank. The engine control module (ECM) sends the fuel level information via the class 2 circuit to the instrument panel cluster (IPC). This information is used for the IPC fuel gage and the low fuel warning indicator, if applicable. The ECM also monitors the fuel level input for various diagnostics.

Fuel Pump


Object Number: 49371  Size: SH

The fuel pump is mounted in the fuel sender assembly reservoir. The fuel pump is an electric high pressure pump. Fuel is pumped to the fuel rail at a specified flow and pressure. The fuel pump delivers a constant flow of fuel to the engine even during low fuel conditions and aggressive vehicle maneuvers. The engine control module (ECM) controls the electric fuel pump operation through a fuel pump relay. The fuel pump flex pipe acts to dampen the fuel pulses and noise generated by the fuel pump.

Fuel Strainer


Object Number: 50673  Size: SH

The fuel strainer attaches to the lower end of the fuel sender. The fuel strainer is made of woven plastic. The functions of the fuel strainer are to filter contaminants and to wick fuel. The fuel strainer is self-cleaning and normally requires no maintenance. Fuel stoppage at this point indicates that the fuel tank contains an abnormal amount of sediment or water.

Fuel Filter

The fuel filter is located inside the fuel tank and is not serviceable.

Fuel Feed Pipe

The fuel feed pipe carries fuel from the fuel tank to the fuel rail assembly. The fuel pipes consist of 2 sections:

    • The rear fuel pipe assembly is located from the top of the fuel tank to the chassis fuel pipe. The rear fuel pipes are constructed of nylon.
    • The chassis fuel pipe is located under the vehicle connects the rear fuel pipe to the fuel rail pipe. The chassis fuel pipe is constructed of steel.

Nylon Fuel Pipe

Nylon pipes are constructed to withstand maximum fuel system pressure, exposure to fuel additives, and changes in temperature. There are 3 sizes of nylon pipes used:

    • 9.53 mm (3/8 inch) ID for the fuel feed
    • 12.7 mm (1/2 inch) ID for the vent

Heat resistant rubber hose or corrugated plastic conduit protect the sections of the pipes that are exposed to chafing, high temperature, or vibration.

Nylon fuel pipes are somewhat flexible and can be formed around gradual turns under the vehicle. However, if nylon fuel pipes are forced into sharp bends, the pipes kink and restrict the fuel flow. Also, once exposed to fuel, nylon pipes may become stiffer and are more likely to kink if bent too far. Take special care when working on a vehicle with nylon fuel pipes.

Quick-Connect Fittings

Quick-connect fittings provide a simplified means of installing and connecting fuel system components. The fittings consist of a unique female connector and a compatible male pipe end. O-rings, located inside the female connector, provide the fuel seal. Integral locking tabs inside the female connector hold the fittings together.

Fuel Pipe O-Rings

O-rings seal the threaded connections in the fuel system. Fuel system O-ring seals are made of special material. Service the O-ring seals with the correct service part.

Fuel Rail Assembly


Object Number: 1577624  Size: SH

The fuel rail assembly attaches to the engine intake manifold. The fuel rail assembly performs the following functions:

    • Positions the injectors in the intake manifold
    • Distributes fuel evenly to the injectors

Fuel Injectors


Object Number: 537314  Size: SH

The fuel injector assembly is a solenoid operated device, controlled by the engine control module (ECM), that meters pressurized fuel to a single engine cylinder. The ECM energizes the high-impedance (12 ohms) injector solenoid (1) to open a normally closed ball valve (2). This allows fuel to flow into the top of the injector, past the ball valve, and through a director plate at the injector outlet. The director plate has four machined holes that control the fuel flow, generating a spray of finely atomized fuel at the injector tip. Fuel from the injector tip is directed at the intake valve, causing the fuel to become further atomized and vaporized before entering the combustion chamber. An injector stuck partly open can cause a loss of pressure after engine shutdown. Consequently, long cranking times would be noticed on some engines.

Fuel Pressure Regulator Assembly


Object Number: 216234  Size: SH

The fuel pressure regulator attaches to the fuel module assembly. The fuel pressure regulator is a diaphragm-operated relief valve. A software bias compensates the injector on-time because the fuel pressure regulator is not referenced to manifold vacuum. The injector pulse width varies with the signal from the manifold absolute pressure (MAP) sensor. The fuel pressure regulator is a serviceable part.

Fuel Metering Modes of Operation

The engine control module (ECM) monitors voltages from several sensors in order to determine how much fuel to give the engine. The ECM controls the amount of fuel delivered to the engine by changing the fuel injector pulse width. The fuel is delivered under one of several modes.

Starting Mode

When the ignition is first turned ON, the engine control module (ECM) energizes the fuel pump relay for 2 seconds. This allows the fuel pump to build pressure in the fuel system. The ECM calculates the air/fuel ratio based on inputs from the engine coolant temperature (ECT), mass air flow (MAF), manifold absolute pressure (MAP), and throttle position (TP) sensors. The system stays in starting mode until the engine speed reaches a predetermined RPM.

Clear Flood Mode

If the engine floods, clear the engine by pressing the accelerator pedal down to the floor and then crank the engine. When the throttle position (TP) sensor is at wide open throttle (WOT), the engine control module (ECM) reduces the fuel injector pulse width in order to increase the air to fuel ratio. The ECM holds this injector rate as long as the throttle stays wide open and the engine speed is below a predetermined RPM. If the throttle is not held wide open, the ECM returns to the starting mode.

Run Mode

The run mode has 2 conditions called Open Loop and Closed Loop (CL). When the engine is first started and the engine speed is above a predetermined RPM, the system begins Open Loop operation. The engine control module (ECM) ignores the signal from the heated oxygen sensor (HO2S). The ECM calculates the air/fuel ratio based on inputs from the engine coolant temperature (ECT), mass air flow (MAF), manifold absolute pressure (MAP), and throttle position (TP) sensors. The system stays in Open Loop until meeting the following conditions:

    • The HO2S has varying voltage output, showing that it is hot enough to operate properly.
    • The ECT sensor is above a specified temperature.
    • A specific amount of time has elapsed after starting the engine.

Specific values for the above conditions exist for each different engine, and are stored in the electrically erasable programmable read-only memory (EEPROM). The system begins CL operation after reaching these values. In CL, the ECM calculates the air/fuel ratio, injector ON time, based upon the signal from various sensors, but mainly from the HO2S. This allows the air/fuel ratio to stay very close to 14.7:1.

Acceleration Mode

When the driver pushes on the accelerator pedal, air flow into the cylinders increases rapidly. To prevent possible hesitation, the engine control module (ECM) increases the pulse width to the injectors to provide extra fuel during acceleration. This is also known as power enrichment. The ECM determines the amount of fuel required based upon the throttle position (TP), the engine coolant temperature (ECT), the manifold absolute pressure (MAP), the mass air flow (MAF), and the engine speed.

Deceleration Mode

When the driver releases the accelerator pedal, air flow into the engine is reduced. The engine control module (ECM) monitors the corresponding changes in throttle position (TP), manifold absolute pressure (MAP), and mass air flow (MAF). The ECM shuts OFF fuel completely if the deceleration is very rapid, or for long periods, such as long, closed-throttle coast-down. The fuel shuts OFF in order to prevent damage to the catalytic converters.

Battery Voltage Correction Mode

When the battery voltage is low, the engine control module (ECM) compensates for the weak spark delivered by the ignition system in the following ways:

    • Increasing the amount of fuel delivered
    • Increasing the idle RPM
    • Increasing the ignition dwell time

Fuel Cutoff Mode

The engine control module (ECM) cuts OFF fuel from the fuel injectors when the following conditions are met in order to protect the powertrain from damage and improve driveability:

    • The ignition is OFF. This prevents engine run-on.
    • The ignition is ON but there is no ignition reference signal. This prevents flooding or backfiring.
    • The engine speed is too high above the red line.
    • The vehicle speed is too high above the rated tire speed.
    • During an extended, high speed, closed throttle coast down--This reduces emissions and increases engine braking.
    • During extended deceleration, in order to prevent damage to the 3-way catalytic (TWC) converters

Fuel Trim

The engine control module (ECM) controls the air/fuel metering system in order to provide the best possible combination of driveability, fuel economy, and emission control. The ECM monitors the heated oxygen sensor (HO2S) signal voltage while in Closed Loop (CL) and regulates the fuel delivery by adjusting the pulse width of the injectors based on this signal. The ideal fuel trim (FT) values are around 0 percent for both short and long term FT. A positive FT value indicates the ECM is adding fuel in order to compensate for a lean condition by increasing the pulse width. A negative FT value indicates that the ECM is reducing the amount of fuel in order to compensate for a rich condition by decreasing the pulse width. A change made to the fuel delivery changes the long and short term FT values. The short term FT values change rapidly in response to the HO2S signal voltage. These changes fine tune the engine fueling. The long term FT makes course adjustments to fueling in order to re-center and restore control to short term FT. A scan tool can be used to monitor the short and long term FT values. The long term FT diagnostic is based on an average of several of the long term speed load learn cells. The ECM selects the cells based on the engine speed and engine load. If the ECM detects an excessively lean or rich condition, the ECM will set a FT diagnostic trouble code (DTC).