GM Service Manual Online
For 1990-2009 cars only
Connector 1: Powertrain Control Module (PCM) C1 (NU3)
Connector 2: Powertrain Control Module (PCM) C1 (w/o NU3)
Connector 3: Powertrain Control Module (PCM) C2 (NU3)
Connector 4: Powertrain Control Module (PCM) C2 (w/o NU3)
Connector 5: Powertrain Control Module (PCM) C3 (NU3)
Connector 6: Powertrain Control Module (PCM) C3 (w/o NU3)

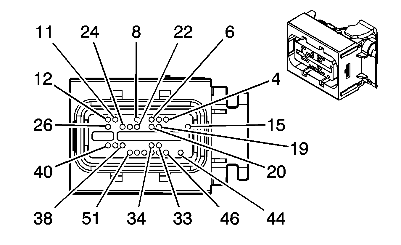
Powertrain Control Module (PCM) C1 (NU3)


Object Number: 1228485  Size: CH

Connector Part Information

  • OEM: 15460473
  • Service: 88953346
  • Description: 56-Way F Micro-Pack/064 Series (BU)

Terminal Part Information

  • Pins: 4, 6- 8, 10, 12, 15, 18-24, 26, 31-34, 37, 43, 44, 48, 50, 53
  • Terminal/Tray: 15359541/4
  • Core/Insulation Crimp: M/M
  • Release Tool/Test Probe: 15381651-2/J-35616-64B (L-BU)

Powertrain Control Module (PCM) C1 (NU3)

Pin

Wire Color

Circuit No.

Function

1-3

--

--

Not Used

4

GY

2700

5-Volt Reference 2

5

--

--

Not Used

6

BN/WH

419

MIL Control

7

BK

2751

Low Reference

8

BK

2759

Low Reference

9

--

--

Not Used

10

WH

1310

EVAP Canister Vent Solenoid Control

11

--

--

Not Used

12

BK

476

Low Reference

13-14

--

--

Not Used

15

D-GN

1049

PCM Class 2 Serial Data

16-17

--

--

Not Used

18

BN

1141

Ignition 3 Voltage

19

PK

439

Ignition 1 Voltage

20

OG

540

Battery Positive Voltage

21

WH

121

Engine Speed Signal (ABS)

22

D-GN

389

Vehicle Speed Signal

23

YE/BK

625

Starter Enable Relay Control

24

BN

5069

Powertrain Relay Control

25

--

--

Not Used

26

D-GN

890

Fuel Tank Pressure Sensor Signal

27-30

--

--

Not Used

31

RD/BK

380

A/C Refrigerant Pressure Sensor Signal

32

WH

17

Stop Lamp Switch Signal

33

D-GN/WH

459

A/C Compressor Clutch Relay Control

34

BN

436

Air Pump Relay Control

35-36

--

--

Not Used

37

D-GN/WH

465

Fuel Pump Relay Control

38-42

--

--

Not Used

43

PU

1589

Fuel Level Sensor Signal

44

GY

1884

Cruise Control Switch Signal

45-47

--

--

Not Used

48

D-GN

335

Low Speed Cooling Fan Relay Control

49

--

--

Not Used

50

D-BU

473

High Speed Cooling Fan Relay Control

51-52

--

--

Not Used

53

GY

2709

5-Volt Reference 1

54-56

--

--

Not Used

Powertrain Control Module (PCM) C1 (w/o NU3)


Object Number: 1228485  Size: CH

Connector Part Information

  • OEM: 15418488
  • Service: 88953346
  • Description: 56-Way F Micro-Pack/064 Series (BU)

Terminal Part Information

  • Pins: 4, 6- 8, 10, 15, 18- 20, 22- 24, 26, 31- 33, 37, 43, 44, 48, 50, 53
  • Terminal/Tray: 15359541/4
  • Core/Insulation Crimp: M/M
  • Release Tool/Test Probe: 15381651-2/J-35616-64B (L-BU)
  • Pins: 21, 45
  • Terminal/Tray: See Terminal Repair Kit
  • Core/Insulation Crimp: See Terminal Repair Kit
  • Release Tool/Test Probe: See Terminal Repair Kit

Powertrain Control Module (PCM) C1 (w/o NU3)

Pin

Wire Color

Circuit No.

Function

1-3

--

--

Not Used

4

GY

2700

5-Volt Reference 2

5

--

--

Not Used

6

BN/WH

419

MIL Control

7

BK

2751

Low Reference

8

BK

2759

Low Reference

9

--

--

Not Used

10

WH

1310

EVAP Canister Vent Solenoid Control

11-14

--

--

Not Used

15

D-GN

1049

PCM Class 2 Serial Data

16-17

--

--

Not Used

18

BN

1141

Ignition 3 Voltage

19

PK

439

Ignition 1 Voltage

20

OG

540

Battery Positive Voltage

21

WH

121

Engine Speed Signal (ABS)

22

D-GN

389

Vehicle Speed Signal

23

YE/BK

625

Starter Enable Relay Control

24

BN

5069

Powertrain Relay Control

25

--

--

Not Used

26

D-GN

890

Fuel Tank Pressure Sensor Signal

27-30

--

--

Not Used

31

RD/BK

380

A/C Refrigerant Pressure Sensor Signal

32

WH

17

Stop Lamp Switch Signal

33

D-GN/WH

459

A/C Compressor Clutch Relay Control

34-36

--

--

Not Used

37

D-GN/WH

465

Fuel Pump Relay Control

38-42

--

--

Not Used

43

PU

1589

Fuel Level Sensor Signal

44

GY

1884

Cruise Control Switch Signal

45

YE

1996

Remote Shift Selector Signal (L32)

46-47

--

--

Not Used

48

D-GN

335

Low Speed Cooling Fan Relay Control

49

--

--

Not Used

50

D-BU

473

High Speed Cooling Fan Relay Control

51-52

--

--

Not Used

53

GY

2709

5-Volt Reference 1

54-56

--

--

Not Used

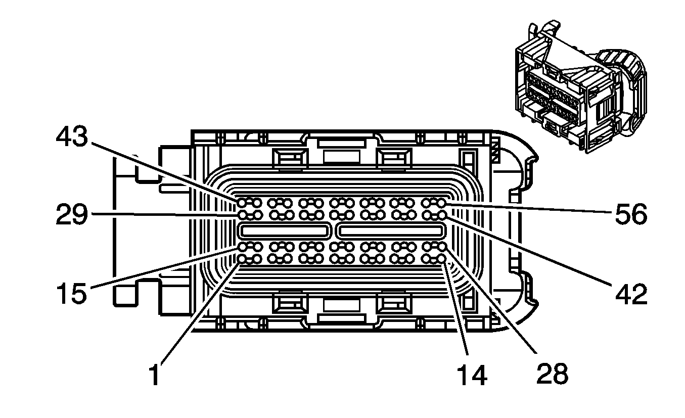
Powertrain Control Module (PCM) C2 (NU3)


Object Number: 1524159  Size: CH

Connector Part Information

  • OEM: 15460475
  • Service: 88953274
  • Description: 73-Way F Micro-Pack/064 Series (BK)

Terminal Part Information

  • Pins: 1-13, 16, 18, 26-31, 33-35, 37, 41, 45-48, 53, 55, 57-59, 61
  • Terminal/Tray: 15359541/4
  • Core/Insulation Crimp: M/M
  • Release Tool/Test Probe: 15381651-2/J-35616-64B (L-BU)
  • Pins: 73
  • Terminal/Tray: 15304720/19
  • Core/Insulation Crimp: 4/5
  • Release Tool/Test Probe: 15315247/J-35616-4A (PU)

Powertrain Control Module (PCM) C2 (NU3)

Pin

Wire Color

Circuit No.

Function

1

BN

1456

EGR Valve Position Signal

2

OG/BK

1061

UART Serial Data Secondary

3

TN

800

UART Serial Data Primary

4

BK/WH

845

Fuel Injector 5 Control

5

BK

1744

Fuel Injector 1 Control

6

YE/BK

846

Fuel Injector 6 Control

7

PK/BK

1746

Fuel Injector 3 Control

8

BK

2753

Low Reference

9

L-GN/BK

1745

Fuel Injector 2 Control

10

L-BU/BK

844

Fuel Injector 4 Control

11

TN/BK

424

IC Timing Signal

12

BK/WH

3112

HO2S Heater Low Control Sensor 1

13

RD

1676

EGR Solenoid High Control

14-15

--

--

Not Used

16

GY

435

EGR Solenoid Low Control

17

--

--

Not Used

18

L-GN

432

MAP Sensor Signal

19-25

--

--

Not Used

26

BK

630

Camshaft Position Signal

27

PU/WH

430

Low Resolution Engine Speed Signal

28

L-BU/BK

647

Medium Resolution Engine Speed Signal

29

BK

2761

Low Reference

30

OG/BK

469

Low Reference

31

BN

1174

Oil Level Switch Signal

32

--

--

Not Used

33

GY

2702

5-Volt Reference 1

34

GY

2704

5-Volt Reference 1

35

GY

474

5-Volt Reference 2

36

--

--

Not Used

37

RD/BK

453

Low Reference

38-40

--

--

Not Used

41

D-GN/WH

428

EVAP Canister Purge Solenoid Control

42-44

--

--

Not Used

45

GY

23

Generator Field Duty Cycle Signal

46

D-BU

496

Knock Sensor 1 Signal

47

TN/WH

3111

HO2S Low Signal

48

PU/WH

3110

HO2S High Signal

49-52

--

--

Not Used

53

RD

225

Generator Turn On Signal

54

--

--

Not Used

55

YE

410

ECT Sensor Signal

56

--

--

Not Used

57

TN/BK

231

Oil Pressure Switch Signal

58

L-BU

1876

Knock Sensor 2 Signal

59

PK/BK

429

AIR Solenoid Control

60

--

--

Not Used

61

WH

423

IC Timing Control

62-72

--

--

Not Used

73

BK/WH

451

Ground

Powertrain Control Module (PCM) C2 (w/o NU3)


Object Number: 1524157  Size: CH

Connector Part Information

  • OEM: 15462060
  • Service: 88953274
  • Description: 73-Way F Micro-Pack/064 Series (BK)

Terminal Part Information

  • Pins: 1-13, 16, 18, 26-31, 33, 34, 37, 41, 45-48, 53, 55, 57, 58, 61
  • Terminal/Tray: 15359541/4
  • Core/Insulation Crimp: M/M
  • Release Tool/Test Probe: 15381651-2/J-35616-64B (L-BU)
  • Pins: 17, 20, 24
  • Terminal/Tray: See Terminal Repair Kit
  • Core/Insulation Crimp: See Terminal Repair Kit
  • Release Tool/Test Probe: See Terminal Repair Kit
  • Pins: 73
  • Terminal/Tray: 15304720/19
  • Core/Insulation Crimp: 4/5
  • Release Tool/Test Probe: 15315247/J-35616-4A (PU)

Powertrain Control Module (PCM) C2 (w/o NU3)

Pin

Wire Color

Circuit No.

Function

1

BN

1456

EGR Valve Position Signal

2

OG/BK

1061

UART Serial Data Secondary

3

TN

800

UART Serial Data Primary

4

BK/WH

845

Fuel Injector 5 Control

5

BK

1744

Fuel Injector 1 Control

6

YE/BK

846

Fuel Injector 6 Control

7

PK/BK

1746

Fuel Injector 3 Control

8

BK

2753

Low Reference

9

L-GN/BK

1745

Fuel Injector 2 Control

10

L-BU/BK

844

Fuel Injector 4 Control

11

TN/BK

424

IC Timing Signal

12

BK/WH

3112

HO2S Heater Low Control Sensor 1

13

RD

1676

EGR Solenoid High Control

14-15

--

--

Not Used

16

GY

435

EGR Solenoid Low Control

17

GY

597

5-Volt Reference 2 (L32)

18

L-GN

432

MAP Sensor Signal

19

--

--

Not Used

20

BK

476

Low Reference (L32)

21-23

--

--

Not Used

24

GY/BK

433

BARO Sensor Signal (L32)

25

--

--

Not Used

26

BK

630

Camshaft Position Signal

27

PU/WH

430

Low Resolution Engine Speed Signal

28

L-BU/BK

647

Medium Resolution Engine Speed Signal

29

BK

2761

Low Reference

30

OG/BK

469

Low Reference

31

BN

1174

Oil Level Switch Signal

32

--

--

Not Used

33

GY

2702

5-Volt Reference 1

34

GY

2704

5-Volt Reference 1

35-36

--

--

Not Used

37

RD/BK

453

Low Reference

38-40

--

--

Not Used

41

D-GN/WH

428

EVAP Canister Purge Solenoid Control

42-44

--

--

Not Used

45

GY

23

Generator Field Duty Cycle Signal

46

D-BU

496

Knock Sensor 1 Signal

47

TN/WH

3111

HO2S Low Signal

48

PU/WH

3110

HO2S High Signal

49-52

--

--

Not Used

53

RD

225

Generator Turn On Signal

54

--

--

Not Used

55

YE

410

ECT Sensor Signal

56

--

--

Not Used

57

TN/BK

231

Oil Pressure Switch Signal

58

L-BU

1876

Knock Sensor 2 Signal

59-60

--

--

Not Used

61

WH

423

IC Timing Control

62-72

--

--

Not Used

73

BK/WH

451

Ground

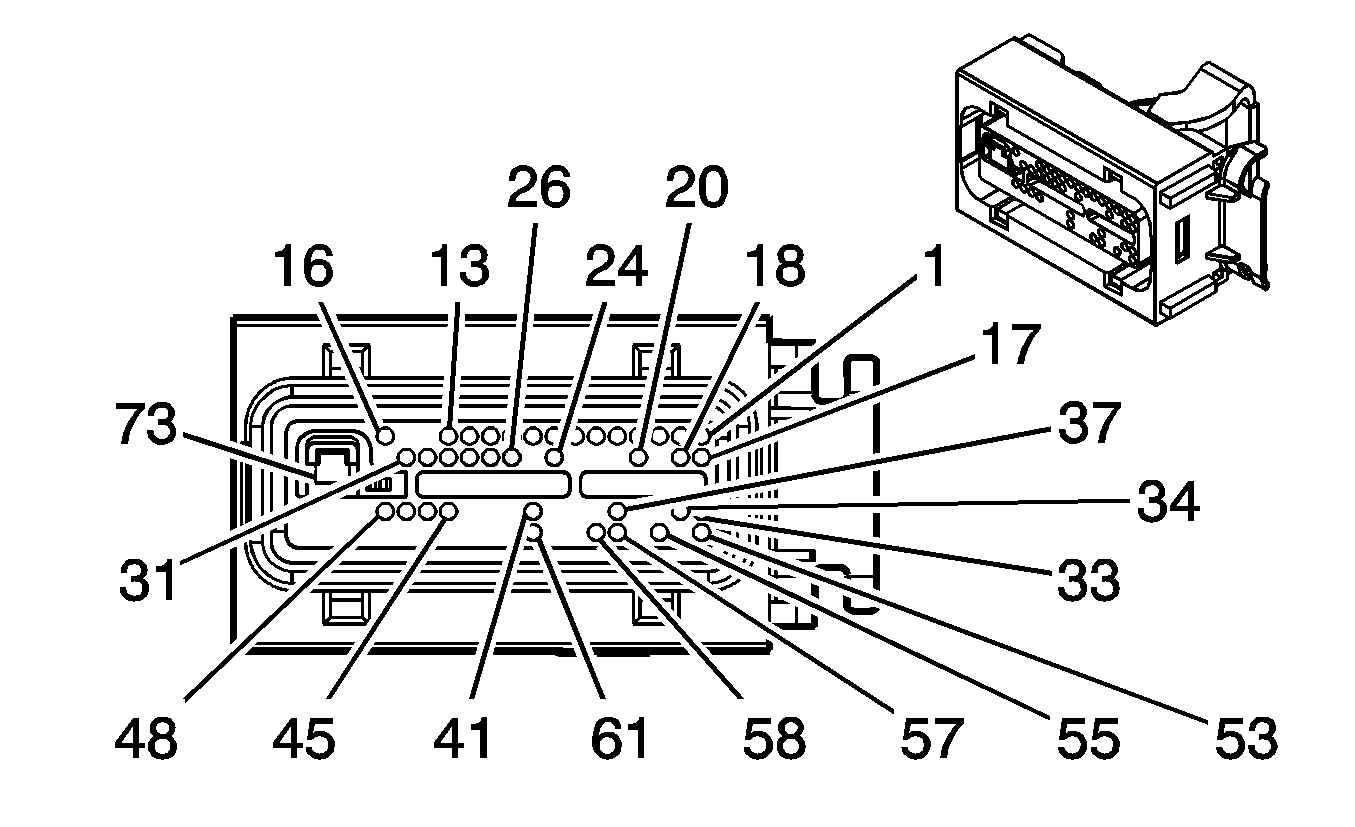
Powertrain Control Module (PCM) C3 (NU3)


Object Number: 1524164  Size: CH

Connector Part Information

  • OEM: 15460474
  • Service: 88953347
  • Description: 56-Way F Micro-Pack/064 Series (GY)

Terminal Part Information

  • Pins: 4-6, 8, 11, 12, 15, 19, 22-24, 26, 31, 33, 34, 39, 44, 46-51
  • Terminal/Tray: 15359541/4
  • Core/Insulation Crimp: M/M
  • Release Tool/Test Probe: 15381651-2/J-35616-64B (L-BU)

Powertrain Control Module (PCM) C3 (NU3)

Pin

Wire Color

Circuit No.

Function

1-3

--

--

Not Used

4

TN/WH

3121

HO2S Low Signal

5

YE/BK

1227

TFT Sensor Signal

6

YE

492

MAF Sensor Signal

7

--

--

Not Used

8

BK/WH

3122

HO2S Heater Low Control - Sensor 2

9-10

--

--

Not Used

11

RD/BK

1230

AT ISS High Signal

12

YE

400

Signal High - Front

13-14

--

--

Not Used

15

GY

773

Transmission Range Switch Signal C

16-18

--

--

Not Used

19

PU

3120

HO2S High Signal

20-21

--

--

Not Used

22

YE

772

Transmission Range Switch Signal B

23

WH

776

Transmission Range Switch Signal P

24

WH

1804

TCC Release Switch Signal

25

--

--

Not Used

26

TN

472

IAT Sensor Signal

27-30

--

--

Not Used

31

WH

5268

Air Pressure Sensor

32

--

--

Not Used

33

L-GN

1222

1-2 Shift Solenoid Valve Control

34

BK/WH

771

Transmission Range Switch Signal A

35-38

--

--

Not Used

39

TN/BK

422

TCC Solenoid Valve Control

40-43

--

--

Not Used

44

PU

401

Signal Low - Front

45

--

--

Not Used

46

YE/BK

1223

2-3 Shift Solenoid Valve Control

47

RD/BK

1228

PC Solenoid Valve High Control (Sol. A)

48

BK

452

Low Reference

49

D-BU/WH

1231

AT ISS Low Signal

50

BK

2760

Low Reference

51

L-BU/WH

1229

PC Solenoid Valve Low Control (Sol. A)

52-56

--

--

Not Used

Powertrain Control Module (PCM) C3 (w/o NU3)


Object Number: 1524162  Size: CH

Connector Part Information

  • OEM: 15418487
  • Service: 88953347
  • Description: 56-Way F Micro-Pack/064 Series (GY)

Terminal Part Information

  • Pins: 4-8, 11, 12, 15, 19, 22-24, 26, 33, 34, 39, 44, 46-51
  • Terminal/Tray: 15359541/4
  • Core/Insulation Crimp: M/M
  • Release Tool/Test Probe: 15381651-2/J-35616-64B (L-BU)
  • Pins: 20, 38, 40
  • Terminal/Tray: See Terminal Repair Kit
  • Core/Insulation Crimp: See Terminal Repair Kit
  • Release Tool/Test Probe: See Terminal Repair Kit

Powertrain Control Module (PCM) C3 (w/o NU3)

Pin

Wire Color

Circuit No.

Function

1-3

--

--

Not Used

4

TN/WH

3121

HO2S Low Signal

5

YE/BK

1227

TFT Sensor Signal

6

YE

492

MAF Sensor Signal

7

--

--

Not Used

8

BK/WH

3122

HO2S Heater Low Control - Sensor 2

9-10

--

--

Not Used

11

RD/BK

1230

AT ISS High Signal

12

YE

400

Signal High - Front

13-14

--

--

Not Used

15

GY

773

Transmission Range Switch Signal C

16-18

--

--

Not Used

19

PU

3120

HO2S High Signal

20

TN/BK

464

Delivered Torque Signal (L32)

21

--

--

Not Used

22

YE

772

Transmission Range Switch Signal B

23

WH

776

Transmission Range Switch Signal P

24

WH

1804

TCC Release Switch Signal

25

--

--

Not Used

26

TN

472

IAT Sensor Signal

27-32

--

--

Not Used

33

L-GN

1222

1-2 Shift Solenoid Valve Control

34

BK/WH

771

Transmission Range Switch Signal A

35-37

--

--

Not Used

38

GY

1724

Boost Control Solenoid Control (L32)

39

TN/BK

422

TCC Solenoid Valve Control

40

OG/BK

463

Requested Torque Signal (L32)

41-43

--

--

Not Used

44

PU

401

Signal Low - Front

45

--

--

Not Used

46

YE/BK

1223

2-3 Shift Solenoid Valve Control

47

RD/BK

1228

PC Solenoid Valve High Control (Sol. A)

48

BK

452

Low Reference

49

D-BU/WH

1231

AT ISS Low Signal

50

BK

2760

Low Reference

51

L-BU/WH

1229

PC Solenoid Valve Low Control (Sol. A)

52-56

--

--

Not Used