GM Service Manual Online
For 1990-2009 cars only

Tire  Size

RPO

Model

D (Curb)

J (Curb)

K (Curb)

Z (Curb)

P225/60R16

QNX

GT

266 mm (10.47 in)

176 mm (6.93 in)

209 mm (8.23 in)

41 mm (1.61 in)

P225/55R17

QNW

GT

266 mm (10.47 in)

179 mm (7.05 in)

212 mm (8.35 in)

41 mm (1.61 in)

P225/55R17

QNW

GTP

267 mm (10.51 in)

183 mm (7.20 in)

214 mm (8.43 in)

45 mm (1.77 in)

F: 255/45R18 R: 225/50R18

Q22

GXP

254 mm (10.0 in)

228 mm (8.98 in)

221 mm (8.70 in)

28 mm (1.10 in)

Trim Heights are ±10.0 mm.

The D Height (represented as 1 on the figure) is measured from a point 30 mm outboard of the rear brake hose bracket bolt centerline to the bolt centerline of the trailing arm to the steering knuckle.

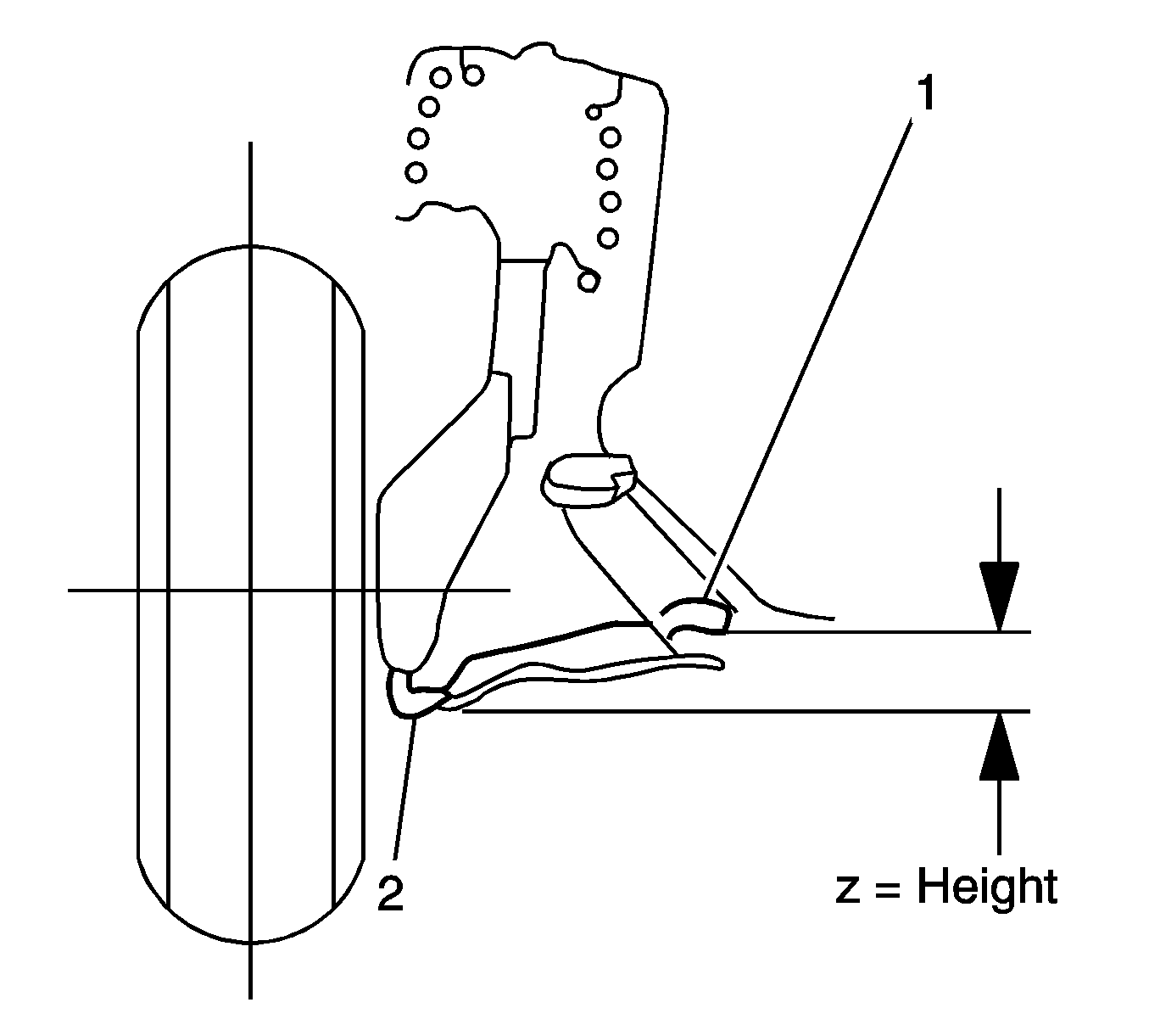
The Z height is measured in line with the wheel center:

  • 1 represents the center of the rear bushing bolt.
  • 2 represents the lowest inboard point on the ball.

Measuring Z Height


Object Number: 1690173  Size: SH

Measuring D Height


Object Number: 236112  Size: SH

Measuring J or K Height


Object Number: 186760  Size: MH