GM Service Manual Online
For 1990-2009 cars only
Connector 1: Ambient Air Temperature Sensor
Connector 2: Driver Information Center (DIC)
Connector 3: Electronic Compass Module
Connector 4: Engine Oil Level Switch (L26/L32)
Connector 5: Engine Oil Level Switch (LS4)
Connector 6: Engine Oil Pressure (EOP) Switch
Connector 7: Fuel Pump and Sender Assembly
Connector 8: Head Up Display (HUD) (UV6)
Connector 9: Head Up Display (HUD) Switch (UV6)
Connector 10: Instrument Panel Cluster (IPC)

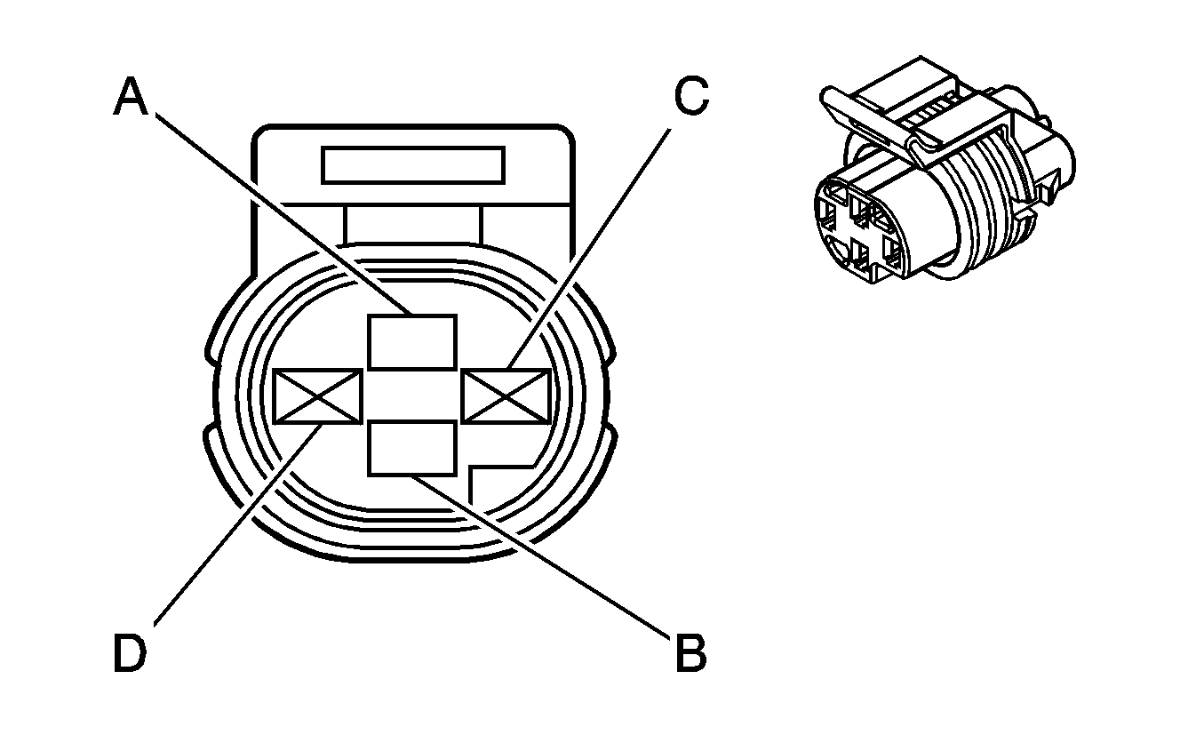
Ambient Air Temperature Sensor


Object Number: 684793  Size: CH

Connector Part Information

  • OEM: 12052642
  • Service: 12101856
  • Description: 2-Way F Metri-Pack 150 Series Sealed (GN)

Terminal Part Information

  • Terminal/Tray: 12048074/2
  • Core/Insulation Crimp: E/1
  • Release Tool/Test Probe: 12094429/J-35616-2A (GY)

Ambient Air Temperature Sensor

Pin

Wire Color

Circuit No.

Function

A

L-GN/BK

735

Ambient Air Temperature Sensor Signal

B

YE

61

Low Reference

Driver Information Center (DIC)


Object Number: 73151  Size: CH

Connector Part Information

  • OEM: 12064799
  • Service: 15305996
  • Description: 12-Way F Micro-Pack 100 Series (BK)

Terminal Part Information

  • Pins: A- C, F, G, L, M
  • Terminal/Tray: 12146447/3
  • Core/Insulation Crimp: E/C
  • Release Tool/Test Probe: 12031876-1/J-35616-6 (BN)

Driver Information Center (DIC)

Pin

Wire Color

Circuit No.

Function

A

L-GN/BK

735

Ambient Air Temperature Sensor Signal

B

BN

1779

Compass Data Signal

C

D-BU

1778

Compass Clock Signal

D-E

--

--

Not Used

F

BK/WH

1551

Ground

G

YE

61

Low Reference

H-K

--

--

Not Used

L

OG

5240

Battery Positive Voltage

M

YE

1127

Trip Computer Class 2 Serial Data

Electronic Compass Module


Object Number: 62467  Size: CH

Connector Part Information

  • OEM: 12064980
  • Service: 12102629
  • Description: 9-Way F Micro-Pack 100 Series (BK)

Terminal Part Information

  • Pins: 9, 11-14
  • Terminal/Tray: See Terminal Repair Kit
  • Core/Insulation Crimp: See Terminal Repair Kit
  • Release Tool/Test Probe: See Terminal Repair Kit

Electronic Compass Module

Pin

Wire Color

Circuit No.

Function

7-8

--

--

Not Used

9

WH

193

Rear Defog On Signal

10

--

--

Not Used

11

BN

1779

Compass Data Signal

12

D-BU

1778

Compass Clock Signal

13

PK

739

Ignition 1 Voltage

14

BK

550

Ground

15

--

--

Not Used

Engine Oil Level Switch (L26/L32)


Object Number: 635009  Size: CH

Connector Part Information

  • OEM: 12052641
  • Service: 12102747
  • Description: 2-Way F Metri-Pack 150 Series (BK)

Terminal Part Information

  • Terminal/Tray: 12048074/2
  • Core/Insulation Crimp: E/1
  • Release Tool/Test Probe: 12094429/J-35616-2A (GY)

Engine Oil Level Switch (L26/L32)

Pin

Wire Color

Circuit No.

Function

A

BN

1174

Oil Level Switch Signal

B

BK/WH

451

Ground

Engine Oil Level Switch (LS4)


Object Number: 646415  Size: CH

Connector Part Information

  • OEM: 15326808
  • Service: See Catalog
  • Description: 3-Way F GT 150 Series Sealed 4.5 (BK)

Terminal Part Information

  • Pins: A, C
  • Terminal/Tray: 12191819/8
  • Core/Insulation Crimp: E/A
  • Release Tool/Test Probe: 15315247/J-35616-2A (GY)

Engine Oil Level Switch (LS4)

Pin

Wire Color

Circuit No.

Function

A

BN

1174

Oil Level Switch Signal

B

--

--

Not Used

C

BK/WH

451

Ground

Engine Oil Pressure (EOP) Switch


Object Number: 516616  Size: CH

Connector Part Information

  • OEM: 12065400
  • Service: 12126436
  • Description: 4-Way F Metri-Pack 150 Series (GN)

Terminal Part Information

  • Pins: A, B
  • Terminal/Tray: 12048074/2
  • Core/Insulation Crimp: E/1
  • Release Tool/Test Probe: 12094429/J-35616-2A (GY)

Engine Oil Pressure (EOP) Switch

Pin

Wire Color

Circuit No.

Function

A

TN/BK

231

Oil Pressure Switch Signal

B

BK/WH

451

Ground

C-D

--

--

Not Used

Fuel Pump and Sender Assembly


Object Number: 456551  Size: CH

Connector Part Information

  • OEM: 12160482
  • Service: 12167154
  • Description: 4-Way F Metri-Pack 150 Series Sealed (BK)

Terminal Part Information

  • Terminal/Tray: See Terminal Repair Kit
  • Core/Insulation Crimp: See Terminal Repair Kit
  • Release Tool/Test Probe: See Terminal Repair Kit

Fuel Pump and Sender Assembly

Pin

Wire Color

Circuit No.

Function

A

PU

30

Fuel Level Sensor Signal

B

GY

120

Fuel Pump Supply Voltage

C

BK

150

Ground

D

BK/WH

651

Low Reference

Head Up Display (HUD) (UV6)


Object Number: 483131  Size: CH

Connector Part Information

  • OEM: 175964-2
  • Service: 15306185
  • Description: 8-Way F AMP Multi-Lock 040 Mark II Series (BK)

Terminal Part Information

  • Terminal/Tray: See Terminal Repair Kit
  • Core/Insulation Crimp: See Terminal Repair Kit
  • Release Tool/Test Probe: See Terminal Repair Kit

Head Up Display (HUD) (UV6)

Pin

Wire Color

Circuit No.

Function

1

BN/WH

1048

HUD Class 2 Serial Data

2

YE

621

HUD Image Up Control

3

BN

620

HUD Image Down Control

4

BK/WH

1551

Ground

5

WH

717

Illuminated Display Signal

6

OG

5240

Battery Positive Voltage

7

BN

622

HUD Switch Signal

8

WH

1104

Low Reference

Head Up Display (HUD) Switch (UV6)


Object Number: 1243609  Size: CH

Connector Part Information

  • OEM: 638392-1
  • Service: 88956458
  • Description: 8-Way F AMP (BK)

Terminal Part Information

  • Pins: 1- 7
  • Terminal/Tray: See Terminal Repair Kit
  • Core/Insulation Crimp: See Terminal Repair Kit
  • Release Tool/Test Probe: See Terminal Repair Kit

Head Up Display (HUD) Switch (UV6)

Pin

Wire Color

Circuit No.

Function

1

GY

8

Instrument Panel Lamp Supply Voltage

2

BK

150

Ground

3

WH

1104

Low Reference

4

BN

620

HUD Image Down Control

5

BN

622

HUD Switch Signal

6

WH

717

Illuminated Display Signal

7

YE

621

HUD Image Up Control

8

--

--

Not Used

Instrument Panel Cluster (IPC)


Object Number: 1243612  Size: CH

Connector Part Information

  • OEM: 43025-0800
  • Service: 88987968
  • Description: 8-Way F Molex Micro-Fit (3.0) (BK)

Terminal Part Information

  • Pins: 1- 3, 5, 7, 8
  • Terminal/Tray: See Terminal Repair Kit
  • Core/Insulation Crimp: See Terminal Repair Kit
  • Release Tool/Test Probe: See Terminal Repair Kit

Instrument Panel Cluster (IPC)

Pin

Wire Color

Circuit No.

Function

1

BK/WH

1551

Ground

2

TN/WH

33

Brake Warning Indicator Control

3

GY

1036

IPC Class 2 Serial Data

4

--

--

Not Used

5

PU

5234

Passenger Seat Belt Indicator

6

--

--

Not Used

7

BN/WH

419

MIL Control

8

OG

5240

Battery Positive Voltage