GM Service Manual Online
For 1990-2009 cars only
Connector 1: Ambient Light Sensor
Connector 2: Backup Lamp - Left
Connector 3: Backup Lamp - Right
Connector 4: Brake Pedal Position Sensor
Connector 5: Center High Mounted Stop Lamp (CHMSL)
Connector 6: Courtesy/Reading Lamp - Front (TR9, CF5)
Connector 7: Courtesy/Reading Lamp - Left
Connector 8: Courtesy/Reading Lamp - Right
Connector 9: Fog Lamp - LF (L26/L32)
Connector 10: Fog Lamp - LF (LS4)
Connector 11: Fog Lamp - RF (L26/L32)
Connector 12: Fog Lamp - RF (LS4)
Connector 13: Headlamp - High Beam - Left
Connector 14: Headlamp - High Beam - Right
Connector 15: Headlamp Low Beam - Left
Connector 16: Headlamp Low Beam - Right
Connector 17: Interior Lamp Switch
Connector 18: I/P Courtesy Lamp - Left
Connector 19: I/P Courtesy Lamp - Right
Connector 20: License Lamp - Left
Connector 21: License Lamp - Right
Connector 22: Marker Lamp - LF
Connector 23: Marker Lamp - LR
Connector 24: Marker Lamp - RF
Connector 25: Marker Lamp - RR
Connector 26: Multifunction Turn Signal Lever - C1
Connector 27: Multifunction Turn Signal Lever - C2
Connector 28: Multifunction Turn Signal Lever - C3
Connector 29: Multifunction Turn Signal Lever - C4 (L26/L32)
Connector 30: Multifunction Turn Signal Lever - C4 (LS4)
Connector 31: Park/Turn Signal Lamp - LF (L26/L32)
Connector 32: Park/Turn Signal Lamp - LF (LS4)
Connector 33: Park/Turn Signal Lamp - RF (L26/L32)
Connector 34: Park/Turn Signal Lamp - RF (LS4)
Connector 35: PRNDL Lamp
Connector 36: Rear Compartment Courtesy Lamp
Connector 37: Sunload Sensor Assembly
Connector 38: Tail Lamp - Left
Connector 39: Tail Lamp - Right
Connector 40: Tail/Stop and Turn Signal Lamp - Left
Connector 41: Tail/Stop and Turn Signal Lamp - Right
Connector 42: Vanity Mirror Lamp - Left (CF5)
Connector 43: Vanity Mirror Lamp - Left (TR9)
Connector 44: Vanity Mirror Lamp - Right (CF5)
Connector 45: Vanity Mirror Lamp - Right (TR9)

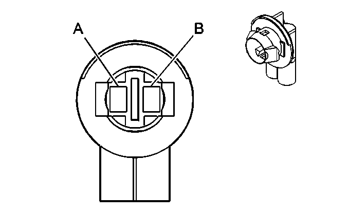
Ambient Light Sensor


Object Number: 82383  Size: CH

Connector Part Information

  • OEM: 12047662
  • Service: 12085535
  • Description: 2-Way F Metri-Pack 150 Series (BK)

Terminal Part Information

  • Terminal/Tray: 12064971/5
  • Core/Insulation Crimp: E/C
  • Release Tool/Test Probe: 12094429/J-35616-2A (GY)

Ambient Light Sensor

Pin

Wire Color

Circuit No.

Function

A

L-GN/BK

1137

DRL Ambient Light Sensor Signal

B

BK/WH

1551

Ground

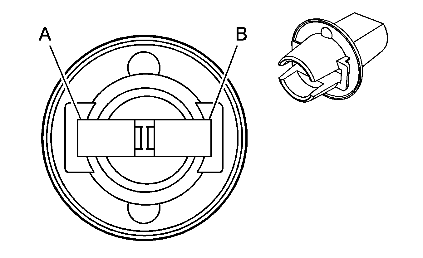
Backup Lamp - Left


Object Number: 744054  Size: CH

Connector Part Information

  • OEM: 15326291
  • Service: See Catalog
  • Description: 3-Way F Lamp Socket Wedge Base W3 Sealed Right Angle (WH)

Terminal Part Information

  • Pins: A, G
  • Terminal/Tray: See Terminal Repair Kit
  • Core/Insulation Crimp: See Terminal Repair Kit
  • Release Tool/Test Probe: See Terminal Repair Kit

Backup Lamp - Left

Pin

Wire Color

Circuit No.

Function

A

D-GN

24

Backup Lamp Supply Voltage

B

--

--

Not Used

G

BK

750

Ground

Backup Lamp - Right


Object Number: 744054  Size: CH

Connector Part Information

  • OEM: 15326291
  • Service: See Catalog
  • Description: 3-Way F Lamp Socket Wedge Base W3 Sealed Right Angle (WH)

Terminal Part Information

  • Pins, A, G
  • Terminal/Tray: See Terminal Repair Kit
  • Core/Insulation Crimp: See Terminal Repair Kit
  • Release Tool/Test Probe: See Terminal Repair Kit

Backup Lamp - Right

Pin

Wire Color

Circuit No.

Function

A

D-GN

24

Backup Lamp Supply Voltage

D-GN

24

Backup Lamp Supply Voltage

B

--

--

Not Used

G

BK

750

Ground

BK

750

Ground

Brake Pedal Position Sensor


Object Number: 1243663  Size: CH

Connector Part Information

  • OEM: 15332132
  • Service: 88953364
  • Description: 3-Way F 150 GT Series (BK)

Terminal Part Information

  • Terminal/Tray: 12191812/19
  • Core/Insulation Crimp: E/C
  • Release Tool/Test Probe: 15315247/J-35616-2A (GY)

Brake Pedal Position Sensor

Pin

Wire Color

Circuit No.

Function

A

GY

598

10-Volt Reference

B

L-GN

526

Stop Lamp Switch Signal

C

BK

552

Low Reference

Center High Mounted Stop Lamp (CHMSL)


Object Number: 287973  Size: CH

Connector Part Information

  • OEM: 12047782
  • Service: 12117371
  • Description: 3-Way M Metri-Pack 150 Series (BK)

Terminal Part Information

  • Pins: A, C
  • Terminal/Tray: 12047581/2
  • Core/Insulation Crimp: E/C
  • Release Tool/Test Probe: 12094429/J-35616-3 (GY)

Center High Mounted Stop Lamp (CHMSL)

Pin

Wire Color

Circuit No.

Function

A

WH

17

Stop Lamp Switch Signal

B

--

--

Not Used

C

BK

750

Ground

Courtesy/Reading Lamp - Front (TR9, CF5)


Object Number: 333035  Size: CH

Connector Part Information

  • OEM: 12047781
  • Service: 12101864
  • Description: 3-Way F Metri-Pack 150 Series (BK)

Terminal Part Information

  • Terminal/Tray: 12064971/5
  • Core/Insulation Crimp: E/C
  • Release Tool/Test Probe: 12094429/J-35616-2A (GY)

Courtesy/Reading Lamp - Front (TR9, CF5)

Pin

Wire Color

Circuit No.

Function

A

OG

1732

Inadvertent Power Courtesy Lamp

B

BK

750

Ground

C

GY/BK

690

Courtesy Lamp Supply Voltage

Courtesy/Reading Lamp - Left


Object Number: 333035  Size: CH

Connector Part Information

  • OEM: 12047781
  • Service: 12101864
  • Description: 3-Way F Metri-Pack 150 Series (BK)

Terminal Part Information

  • Terminal/Tray: 12064971/5
  • Core/Insulation Crimp: E/C
  • Release Tool/Test Probe: 12094429/J-35616-2A (GY)

Courtesy/Reading Lamp - Left

Pin

Wire Color

Circuit No.

Function

A

OG

1732

Inadvertent Power Courtesy Lamp (TR9, CF5)

B

BK

750

Ground

C

GY/BK

690

Courtesy Lamp Supply Voltage

Courtesy/Reading Lamp - Right


Object Number: 333035  Size: CH

Connector Part Information

  • OEM: 12047781
  • Service: 12101864
  • Description: 3-Way F Metri-Pack 150 Series (BK)

Terminal Part Information

  • Terminal/Tray: 12064971/5
  • Core/Insulation Crimp: E/C
  • Release Tool/Test Probe: 12094429/J-35616-2A (GY)

Courtesy/Reading Lamp - Right

Pin

Wire Color

Circuit No.

Function

A

OG

1732

Inadvertent Power Courtesy Lamp (TR9, CF5)

B

BK

750

Ground

C

GY/BK

690

Courtesy Lamp Supply Voltage

Fog Lamp - LF (L26/L32)


Object Number: 808661  Size: CH

Connector Part Information

  • OEM: 12048367
  • Service: 12101877
  • Description: 2-Way F Metri-Pack 280 Series, Sealed (BK)

Terminal Part Information

  • Terminal/Tray: See Terminal Repair Kit
  • Core/Insulation Crimp: See Terminal Repair Kit
  • Release Tool/Test Probe: See Terminal Repair Kit

Fog Lamp - LF (L26/L32)

Pin

Wire Color

Circuit No.

Function

A

PU

34

Fog Lamps Supply Voltage

B

BK

1350

Ground

Fog Lamp - LF (LS4)


Object Number: 1413064  Size: CH

Connector Part Information

  • OEM: 12048367
  • Service: 12101877
  • Description: 2-Way F Metri-Pack 280 Series, Sealed (NA)

Terminal Part Information

  • Terminal/Tray: See Terminal Repair Kit
  • Core/Insulation Crimp: See Terminal Repair Kit
  • Release Tool/Test Probe: See Terminal Repair Kit

Fog Lamp - LF (LS4)

Pin

Wire Color

Circuit No.

Function

A

PU

34

Fog Lamps Supply Voltage

B

BK

1350

Ground

Fog Lamp - RF (L26/L32)


Object Number: 808661  Size: CH

Connector Part Information

  • OEM: 12124819
  • Service: 12085498
  • Description: 2-Way F Metri-Pack 280 Series, Sealed (BK)

Terminal Part Information

  • Terminal/Tray: 12077411/2
  • Core/Insulation Crimp: 2/5
  • Release Tool/Test Probe: 12094430/J-35616-4A (PU)

Fog Lamp - RF (L26/L32)

Pin

Wire Color

Circuit No.

Function

A

PU

34

Fog Lamps Supply Voltage

B

BK

1250

Ground

Fog Lamp - RF (LS4)


Object Number: 1413064  Size: CH

Connector Part Information

  • OEM: 12124819
  • Service: 12085498
  • Description: 2-Way F Metri-Pack 280 Series, Sealed (NA)

Terminal Part Information

  • Terminal/Tray: 12077411/2
  • Core/Insulation Crimp: 2/5
  • Release Tool/Test Probe: 12094430/J-35616-4A (PU)

Fog Lamp - RF (LS4)

Pin

Wire Color

Circuit No.

Function

A

PU

34

Fog Lamps Supply Voltage

B

BK

1250

Ground

Headlamp - High Beam - Left


Object Number: 684797  Size: CH

Connector Part Information

  • OEM: 12059183
  • Service: 12101898
  • Description: 2-Way F Metri-Pack 280 Series, Sealed (BK)

Terminal Part Information

  • Terminal/Tray: See Terminal Repair Kit
  • Core/Insulation Crimp: See Terminal Repair Kit
  • Release Tool/Test Probe: See Terminal Repair Kit

Headlamp - High Beam - Left

Pin

Wire Color

Circuit No.

Function

A

D-GN

711

Left Headlamp High Beam Supply Voltage

B

BK

1350

Ground

Headlamp - High Beam - Right


Object Number: 684797  Size: CH

Connector Part Information

  • OEM: 12059183
  • Service: 12101898
  • Description: 2-Way F Metri-Pack 280 Series, Sealed (BK)

Terminal Part Information

  • Terminal/Tray: See Terminal Repair Kit
  • Core/Insulation Crimp: See Terminal Repair Kit
  • Release Tool/Test Probe: See Terminal Repair Kit

Headlamp - High Beam - Right

Pin

Wire Color

Circuit No.

Function

A

D-GN

311

Right Headlamp High Beam Supply Voltage

B

BK

1250

Ground

Headlamp Low Beam - Left


Object Number: 684796  Size: CH

Connector Part Information

  • OEM: 12059181
  • Service: 12101897
  • Description: 2-Way F Metri-Pack 280 Series, Sealed (GY)

Terminal Part Information

  • Terminal/Tray: See Terminal Repair Kit
  • Core/Insulation Crimp: See Terminal Repair Kit
  • Release Tool/Test Probe: See Terminal Repair Kit

Headlamp Low Beam - Left

Pin

Wire Color

Circuit No.

Function

A

YE

712

Left Headlamp Low Beam Supply Voltage

B

BK

1350

Ground

Headlamp Low Beam - Right


Object Number: 684796  Size: CH

Connector Part Information

  • OEM: 12059181
  • Service: 12101897
  • Description: 2-Way F Metri-Pack 280 Series, Sealed (GY)

Terminal Part Information

  • Terminal/Tray: See Terminal Repair Kit
  • Core/Insulation Crimp: See Terminal Repair Kit
  • Release Tool/Test Probe: See Terminal Repair Kit

Headlamp Low Beam - Right

Pin

Wire Color

Circuit No.

Function

A

YE

312

Right Headlamp Low Beam Supply Voltage

B

BK

1250

Ground

Interior Lamp Switch


Object Number: 280764  Size: CH

Connector Part Information

  • OEM: 12064993
  • Service: 12102485
  • Description: 6-Way F Micro-Pack 100 Series (BK)

Terminal Part Information

  • Pins: 5, 8-10
  • Terminal/Tray: 12146447/3
  • Core/Insulation Crimp: E/C
  • Release Tool/Test Probe: 12031876-1/J-35616-6 (BN)

Interior Lamp Switch

Pin

Wire Color

Circuit No.

Function

5

RD/WH

812

I/P Dimming Voltage Reference

6-7

--

--

Not Used

8

PK

1444

I/P Dimming Control

9

PK/BK

1597

Courtesy Lamps Switch On Signal

10

BN/WH

230

I/P Dimming Return

I/P Courtesy Lamp - Left


Object Number: 365949  Size: CH

Connector Part Information

  • OEM: 12084388
  • Service: See Catalog
  • Description: 2-Way F Bulb Base Type W-2, Axial (BK)

Terminal Part Information

  • Terminal/Tray: See Terminal Repair Kit
  • Core/Insulation Crimp: See Terminal Repair Kit
  • Release Tool/Test Probe: See Terminal Repair Kit

I/P Courtesy Lamp - Left

Pin

Wire Color

Circuit No.

Function

A

GY/BK

690

Courtesy Lamp Supply Voltage

B

BK

150

Ground

I/P Courtesy Lamp - Right


Object Number: 365949  Size: CH

Connector Part Information

  • OEM: 12084388
  • Service: See Catalog
  • Description: 2-Way F Bulb Base Type W-2, Axial (BK)

Terminal Part Information

  • Terminal/Tray: See Terminal Repair Kit
  • Core/Insulation Crimp: See Terminal Repair Kit
  • Release Tool/Test Probe: See Terminal Repair Kit

I/P Courtesy Lamp - Right

Pin

Wire Color

Circuit No.

Function

A

GY/BK

690

Courtesy Lamp Supply Voltage

B

BK

150

Ground

License Lamp - Left


Object Number: 287969  Size: CH

Connector Part Information

  • OEM: 12162084
  • Service: See Catalog
  • Description: 2-Way F Lamp Socket Components, Bulb Bases, Type W-2, Axial (GY)

Terminal Part Information

  • Terminal/Tray: See Terminal Repair Kit
  • Core/Insulation Crimp: See Terminal Repair Kit
  • Release Tool/Test Probe: See Terminal Repair Kit

License Lamp - Left

Pin

Wire Color

Circuit No.

Function

A

BN

9

Park Lamp Supply Voltage

B

BK

750

Ground

BK

750

Ground

License Lamp - Right


Object Number: 287969  Size: CH

Connector Part Information

  • OEM: 12162084
  • Service: See Catalog
  • Description: 2-Way F Lamp Socket Components, Bulb Bases, Type W-2, Axial (GY)

Terminal Part Information

  • Terminal/Tray: See Terminal Repair Kit
  • Core/Insulation Crimp: See Terminal Repair Kit
  • Release Tool/Test Probe: See Terminal Repair Kit

License Lamp - Right

Pin

Wire Color

Circuit No.

Function

A

BN

9

Park Lamp Supply Voltage

BN

9

Park Lamp Supply Voltage

B

BK

750

Ground

BK

750

Ground

Marker Lamp - LF


Object Number: 130733  Size: CH

Connector Part Information

  • OEM: 12146418
  • Service: See Catalog
  • Description: 2-Way F Lamp Socket (GY)

Terminal Part Information

  • Terminal/Tray: See Terminal Repair Kit
  • Core/Insulation Crimp: See Terminal Repair Kit
  • Release Tool/Test Probe: See Terminal Repair Kit

Marker Lamp - LF

Pin

Wire Color

Circuit No.

Function

A

BN

9

Park Lamp Supply Voltage

B

BK

1350

Ground

BK

1350

Ground

Marker Lamp - LR


Object Number: 1199757  Size: CH

Connector Part Information

  • OEM: 15317651
  • Service: See Catalog
  • Description: 2-Way F Lamp Socket Bulb Base Type W-2, Axial (GY)

Terminal Part Information

  • Terminal/Tray: See Terminal Repair Kit
  • Core/Insulation Crimp: See Terminal Repair Kit
  • Release Tool/Test Probe: See Terminal Repair Kit

Marker Lamp - LR

Pin

Wire Color

Circuit No.

Function

A

BN

9

Park Lamp Supply Voltage

B

BK

550

Ground

Marker Lamp - RF


Object Number: 130733  Size: CH

Connector Part Information

  • OEM: 12146418
  • Service: See Catalog
  • Description: 2-Way F Lamp Socket (GY)

Terminal Part Information

  • Terminal/Tray: See Terminal Repair Kit
  • Core/Insulation Crimp: See Terminal Repair Kit
  • Release Tool/Test Probe: See Terminal Repair Kit

Marker Lamp - RF

Pin

Wire Color

Circuit No.

Function

A

BN

9

Park Lamp Supply Voltage

B

BK

1250

Ground

BK

1250

Ground

Marker Lamp - RR


Object Number: 1199757  Size: CH

Connector Part Information

  • OEM: 15317651
  • Service: See Catalog
  • Description: 2-Way F Lamp Socket Bulb Base Type W-2, Axial (GY)

Terminal Part Information

  • Terminal/Tray: See Terminal Repair Kit
  • Core/Insulation Crimp: See Terminal Repair Kit
  • Release Tool/Test Probe: See Terminal Repair Kit

Marker Lamp - RR

Pin

Wire Color

Circuit No.

Function

A

BN

9

Park Lamp Supply Voltage

B

BK

750

Ground

Multifunction Turn Signal Lever - C1


Object Number: 39746  Size: CH

Connector Part Information

  • OEM: 12064862
  • Service: 12126438
  • Description: 8-Way F Metri-Pack 150 Series (BK)

Terminal Part Information

  • Pins: A-C, G, H
  • Terminal/Tray: See Terminal Repair Kit
  • Core/Insulation Crimp: See Terminal Repair Kit
  • Release Tool/Test Probe: See Terminal Repair Kit

Multifunction Turn Signal Lever - C1

Pin

Wire Color

Circuit No.

Function

A

BK/WH

1551

Ground

B

D-BU/WH

1415

Right Turn Signal Switch Signal

C

L-BU/WH

1414

Left Turn Signal Switch Signal

D-F

--

--

Not Used

G

BN

738

Horn Switch Signal

H

TN

2144

Hazard Switch Signal

Multifunction Turn Signal Lever - C2


Object Number: 811190  Size: CH

Connector Part Information

  • OEM: 15339058
  • Service: See Catalog
  • Description: 7-Way F Metri-Pack 150 Series (GY)

Terminal Part Information

  • Pins: J- N
  • Terminal/Tray: See Terminal Repair Kit
  • Core/Insulation Crimp: See Terminal Repair Kit
  • Release Tool/Test Probe: See Terminal Repair Kit

Multifunction Turn Signal Lever - C2

Pin

Wire Color

Circuit No.

Function

G-H

--

--

Not Used

J

OG

192

Front Fog Lamp Switch Signal

K

BK/WH

1551

Ground

L

WH

103

Headlamp Switch Headlamps On Signal

M

BN/WH

301

Park Lamp Switch On Signal

N

L-BU

1872

Exterior Lamps Off Input

Multifunction Turn Signal Lever - C3


Object Number: 130718  Size: CH

Connector Part Information

  • OEM: 12059800
  • Service: 15306169
  • Description: 5-Way F Metri-Pack 150 Series (BK)

Terminal Part Information

  • Pins: A, D, E
  • Terminal/Tray: See Terminal Repair Kit
  • Core/Insulation Crimp: See Terminal Repair Kit
  • Release Tool/Test Probe: See Terminal Repair Kit

Multifunction Turn Signal Lever - C3

Pin

Wire Color

Circuit No.

Function

A

BN

1356

Flash To Pass Switch Signal

B-C

--

--

Not Used

D

BK/WH

1551

Ground

E

PU

524

Headlamp Dimmer Switch High Beam Signal

Multifunction Turn Signal Lever - C4 (L26/L32)


Object Number: 1639196  Size: CH

Connector Part Information

  • OEM: HCMW5K
  • Service: See Catalog
  • Description: 5-Way M (BK)

Terminal Part Information

  • Pins: 1, 3-5
  • Terminal/Tray: See Terminal Repair Kit
  • Core/Insulation Crimp: See Terminal Repair Kit
  • Release Tool/Test Probe: See Terminal Repair Kit

Multifunction Turn Signal Lever - C4 (L26/L32)

Pin

Wire Color

Circuit No.

Function

1

PK

1539

Ignition 1 Voltage

2

--

--

Not Used

3

BK/WH

1551

Ground

4

OG

192

Front Fog Lamp Switch Signal

5

GY

1884

Cruise Control Switch Signal

Multifunction Turn Signal Lever - C4 (LS4)


Object Number: 1737744  Size: CH

Connector Part Information

  • OEM: IL-AG5-6P-S3C1
  • Service: See Catalog
  • Description: 6-Way M IL-AG5 Series (GN)

Terminal Part Information

  • Pins: 1-6
  • Terminal/Tray: See Terminal Repair Kit
  • Core/Insulation Crimp: See Terminal Repair Kit
  • Release Tool/Test Probe: See Terminal Repair Kit

Multifunction Turn Signal Lever - C4 (LS4)

Pin

Wire Color

Circuit No.

Function

1

PK

1539

Ignition 1 Voltage

2

GY

397

Cruise Control On Switch Signal

3

D-BU

84

Cruise Control Set/Coast Switch Signal

4

GY/BK

87

Cruise Control Resume/Accel Switch Signal

5

BK/WH

1551

Ground

6

OG

192

Front Fog Lamp Switch Signal

Park/Turn Signal Lamp - LF (L26/L32)


Object Number: 744054  Size: CH

Connector Part Information

  • OEM: 15354865
  • Service: See Catalog
  • Description: 3-Way F Lamp Socket Wedge Sealed (NA)

Terminal Part Information

  • Terminal/Tray: See Terminal Repair Kit
  • Core/Insulation Crimp: See Terminal Repair Kit
  • Release Tool/Test Probe: See Terminal Repair Kit

Park/Turn Signal Lamp - LF (L26/L32)

Pin

Wire Color

Circuit No.

Function

A

L-BU/WH

1314

Left Front Turn Signal Lamp Supply Voltage

B

BN

9

Park Lamp Supply Voltage

G

BK

1350

Ground

Park/Turn Signal Lamp - LF (LS4)


Object Number: 1575752  Size: CH

Connector Part Information

  • OEM: 15466016
  • Service: 88988599
  • Description: 3-Way F Receptical 1.5, Sealed (BK)

Terminal Part Information

  • Pins: 1, 2
  • Terminal/Tray: 7116-4102-08/9
  • Core/Insulation Crimp: E/1
  • Release Tool/Test Probe: 12094430/J-35616-2A (GY)
  • Pins: 3
  • Terminal/Tray: See Terminal Repair Kit
  • Core/Insulation Crimp: See Terminal Repair Kit
  • Release Tool/Test Probe: See Terminal Repair Kit

Park/Turn Signal Lamp - LF (LS4)

Pin

Wire Color

Circuit No.

Function

1

L-BU/WH

1314

Left Front Turn Signal Lamp Supply Voltage

2

BN

9

Park Lamp Supply Voltage

3

BK

1350

Ground

Park/Turn Signal Lamp - RF (L26/L32)


Object Number: 744054  Size: CH

Connector Part Information

  • OEM: 15354865
  • Service: See Catalog
  • Description: 3-Way F Lamp Socket Wedge Sealed (NA)

Terminal Part Information

  • Terminal/Tray: See Terminal Repair Kit
  • Core/Insulation Crimp: See Terminal Repair Kit
  • Release Tool/Test Probe: See Terminal Repair Kit

Park/Turn Signal Lamp - RF (L26/L32)

Pin

Wire Color

Circuit No.

Function

A

L-BU/WH

1314

Right Front Turn Signal Lamp Supply Voltage

B

BN

9

Park Lamp Supply Voltage

G

BK

1250

Ground

Park/Turn Signal Lamp - RF (LS4)


Object Number: 1575752  Size: CH

Connector Part Information

  • OEM: 15354865
  • Service: See Catalog
  • Description: 3-Way F Receptical 1.5, Sealed (BK)

Terminal Part Information

  • Terminal/Tray: See Terminal Repair Kit
  • Core/Insulation Crimp: See Terminal Repair Kit
  • Release Tool/Test Probe: See Terminal Repair Kit

Park/Turn Signal Lamp - RF (LS4)

Pin

Wire Color

Circuit No.

Function

1

L-BU/WH

1314

Right Front Turn Signal Lamp Supply Voltage

2

BN

9

Park Lamp Supply Voltage

3

BK

1250

Ground

PRNDL Lamp


Object Number: 810080  Size: CH

Connector Part Information

  • OEM: 12162083
  • Service: See Catalog
  • Description: 2-Way F Lamp Socket Bulb Base Type W-2 Axial (BK)

Terminal Part Information

  • Terminal/Tray: See Terminal Repair Kit
  • Core/Insulation Crimp: See Terminal Repair Kit
  • Release Tool/Test Probe: See Terminal Repair Kit

PRNDL Lamp

Pin

Wire Color

Circuit No.

Function

A

GY

8

Instrument Panel Lamp Supply Voltage

B

BK

150

Ground

BK

150

Ground

Rear Compartment Courtesy Lamp


Object Number: 82383  Size: CH

Connector Part Information

  • OEM: 12047662
  • Service: 12085535
  • Description: 2-Way F Metri-Pack 150 Series (BK)

Terminal Part Information

  • Pins: A
  • Terminal/Tray: 12064971/5
  • Core/Insulation Crimp: E/C
  • Release Tool/Test Probe: 12094429/J-35616-2A (GY)
  • Pins: B
  • Terminal/Tray: See Terminal Repair Kit
  • Core/Insulation Crimp: See Terminal Repair Kit
  • Release Tool/Test Probe: See Terminal Repair Kit

Rear Compartment Courtesy Lamp

Pin

Wire Color

Circuit No.

Function

A

OG

1732

Inadvertent Power Courtesy Lamp

B

OG/BK

737

Rear Compartment Lamp Control

Sunload Sensor Assembly


Object Number: 130637  Size: CH

Connector Part Information

  • OEM: 12064760
  • Service: 12085208
  • Description: 4-Way F Metri-Pack 150 Series (BK)

Terminal Part Information

  • Terminal/Tray: 12064971/5
  • Core/Insulation Crimp: E/C
  • Release Tool/Test Probe: 12094429/J-35616-2A (GY)

Sunload Sensor Assembly

Pin

Wire Color

Circuit No.

Function

A

L-BU/BK

590

Driver Sunload Sensor Signal

B

GY

1548

Passenger Sunload Sensor Signal

C

BK/WH

1551

Ground

D

L-GN/BK

1137

DRL Ambient Light Sensor Signal

Tail Lamp - Left


Object Number: 744054  Size: CH

Connector Part Information

  • OEM: 15326291
  • Service: See Catalog
  • Description: 3-Way F Lamp Socket Wedge Base W3 Sealed Right Angle (GY)

Terminal Part Information

  • Pins: A, G
  • Terminal/Tray: See Terminal Repair Kit
  • Core/Insulation Crimp: See Terminal Repair Kit
  • Release Tool/Test Probe: See Terminal Repair Kit

Tail Lamp - Left

Pin

Wire Color

Circuit No.

Function

A

BN

9

Park Lamp Supply Voltage

BN

9

Park Lamp Supply Voltage

B

--

--

Not Used

G

BK

550

Ground

BK

550

Ground

Tail Lamp - Right


Object Number: 744054  Size: CH

Connector Part Information

  • OEM: 15326291
  • Service: See Catalog
  • Description: 3-Way F Lamp Socket Wedge Base W3 Sealed Right Angle (GY)

Terminal Part Information

  • Pins:A, G
  • Terminal/Tray: See Terminal Repair Kit
  • Core/Insulation Crimp: See Terminal Repair Kit
  • Release Tool/Test Probe: See Terminal Repair Kit

Tail Lamp - Right

Pin

Wire Color

Circuit No.

Function

A

BN

9

Park Lamp Supply Voltage

BN

9

Park Lamp Supply Voltage

B

--

--

Not Used

G

BK

750

Ground

BK

750

Ground

Tail/Stop and Turn Signal Lamp - Left


Object Number: 38605  Size: CH

Connector Part Information

  • OEM: 12160394
  • Service: See Catalog
  • Description: 3-Way F Lamp Socket Wedge Base W3 Right Angle (L-GY)

Terminal Part Information

  • Terminal/Tray: See Terminal Repair Kit
  • Core/Insulation Crimp: See Terminal Repair Kit
  • Release Tool/Test Probe: See Terminal Repair Kit

Tail/Stop and Turn Signal Lamp - Left

Pin

Wire Color

Circuit No.

Function

A

YE

18

Left Rear Stop/Turn Lamp Supply Voltage

B

BN

9

Park Lamp Supply Voltage

BN

9

Park Lamp Supply Voltage

G

BK

550

Ground

BK

550

Ground

Tail/Stop and Turn Signal Lamp - Right


Object Number: 38605  Size: CH

Connector Part Information

  • OEM: 12160394
  • Service: See Catalog
  • Description: 3-Way F Lamp Socket Wedge Base W3 Right Angle (L-GY)

Terminal Part Information

  • Terminal/Tray: See Terminal Repair Kit
  • Core/Insulation Crimp: See Terminal Repair Kit
  • Release Tool/Test Probe: See Terminal Repair Kit

Tail/Stop and Turn Signal Lamp - Right

Pin

Wire Color

Circuit No.

Function

A

YE

19

Right Rear Stop/Turn Lamp Supply Voltage

B

BN

9

Park Lamp Supply Voltage

BN

9

Park Lamp Supply Voltage

G

BK

750

Ground

BK

750

Ground

Vanity Mirror Lamp - Left (CF5)


Object Number: 35441  Size: CH

Connector Part Information

  • OEM: 12047663
  • Service: 12058709
  • Description: 2-Way M Metri-Pack 150 Series (BK)

Terminal Part Information

  • Terminal/Tray: 12047581/2
  • Core/Insulation Crimp: E/C
  • Release Tool/Test Probe: 12094429/J-35616-3 (GY)

Vanity Mirror Lamp - Left (CF5)

Pin

Wire Color

Circuit No.

Function

A

OG

1732

Inadvertent Power Courtesy Lamp

B

BK

750

Ground

Vanity Mirror Lamp - Left (TR9)


Object Number: 82383  Size: CH

Connector Part Information

  • OEM: 12047662
  • Service: 12085535
  • Description: 2-Way F Metri-Pack 150 Series (BK)

Terminal Part Information

  • Terminal/Tray: 12064971/5
  • Core/Insulation Crimp: E/C
  • Release Tool/Test Probe: 12094429/J-35616-2A (GY)

Vanity Mirror Lamp - Left (TR9)

Pin

Wire Color

Circuit No.

Function

A

OG

1732

Inadvertent Power Courtesy Lamp

B

BK

750

Ground

Vanity Mirror Lamp - Right (CF5)


Object Number: 35441  Size: CH

Connector Part Information

  • OEM: 12047663
  • Service: 12058709
  • Description: 2-Way M Metri-Pack 150 Series (BK)

Terminal Part Information

  • Terminal/Tray: 12047581/2
  • Core/Insulation Crimp: E/C
  • Release Tool/Test Probe: 12094429/J-35616-3 (GY)

Vanity Mirror Lamp - Right (CF5)

Pin

Wire Color

Circuit No.

Function

A

OG

1732

Inadvertent Power Courtesy Lamp

B

BK

750

Ground

Vanity Mirror Lamp - Right (TR9)


Object Number: 82383  Size: CH

Connector Part Information

  • OEM: 12047662
  • Service: 12085535
  • Description: 2-Way F Metri-Pack 150 Series (BK)

Terminal Part Information

  • Terminal/Tray: 12064971/5
  • Core/Insulation Crimp: E/C
  • Release Tool/Test Probe: 12094429/J-35616-2A (GY)

Vanity Mirror Lamp - Right (TR9)

Pin

Wire Color

Circuit No.

Function

A

OG

1732

Inadvertent Power Courtesy Lamp

B

BK

750

Ground