GM Service Manual Online
For 1990-2009 cars only
Table 1: Rear End Panel
Table 2: Point to Point Measurements
Table 3: Dimensions - Body
Table 4: Engine Compartment Dimensions
Table 5: Underbody Dimensions

Rear End Panel


Object Number: 1200569  Size: LF

Rear End Panel

Location

Description

Length

Width

Height

a

Rear Bumper Mount Attach

3162

555

678

b

Rear Bumper Mount Attach

3162

555

616

c

Rear Bumper Mount Attach

3162

412

647

d

Tail Lamp Attach

3142

639

1033

All dimensions are measured from a zero line, a center line, and a common datum. All dimensions are symmetrical unless otherwise specified.

Point to Point Measurements


Object Number: 1200561  Size: MF

Point to Point Measurements

Location

Length

a

629

b

1148

c

903

d

856

e

1302

f

928

g

994

h

867

i

1095

j

854

k

868

All dimensions are measured from a zero line, a center line, and a common datum. All dimensions are symmetrical unless otherwise specified.

Dimensions - Body


Object Number: 1200564  Size: LF

Dimensions - Body

Location

Description

Length (mm)

Width (mm)

Height (mm)

1

Zero Line

--

--

--

2

Center Line

--

--

--

3

Datum Line

--

--

--

a

Upper Door Lock Striker Attach

2135

796

1049

b

Door Hinge Attach

1104

812

668

c

Upper Door Lock Striker Attach

1115

797

823

d

Door Hinge Attach

1148

810

982

e

Door Hinge Attach

53

790

982

f

Door Hinge Attach

92

803

600

All dimensions are measured from a zero line, a center line, and a common datum. All dimensions are symmetrical unless otherwise specified.

Engine Compartment Dimensions


Object Number: 314873  Size: LF

Engine Compartment Dimensions

Location

Description

Length (mm)

Width (mm)

Height (mm)

1

Center Line

--

--

--

2

Zero Line

--

--

--

3

Datum Line

--

--

--

a

Point to Point

1687

0

0

b

Bumper Attachment

1252

450

606

c

Support Brace Attachment

1104 R

1130 L

468 R

319 L

919 R

917 L

d

Fender Attachment

988

708

921

e

Suspension Attachment

448

551

1043

f

Suspension Attachment

401

664

1054

g

Hood Hinge Attachment

155

754

1064

All dimensions are measured from a zero line, center line, and a common datum. All dimensions are symmetrical unless otherwise specified.

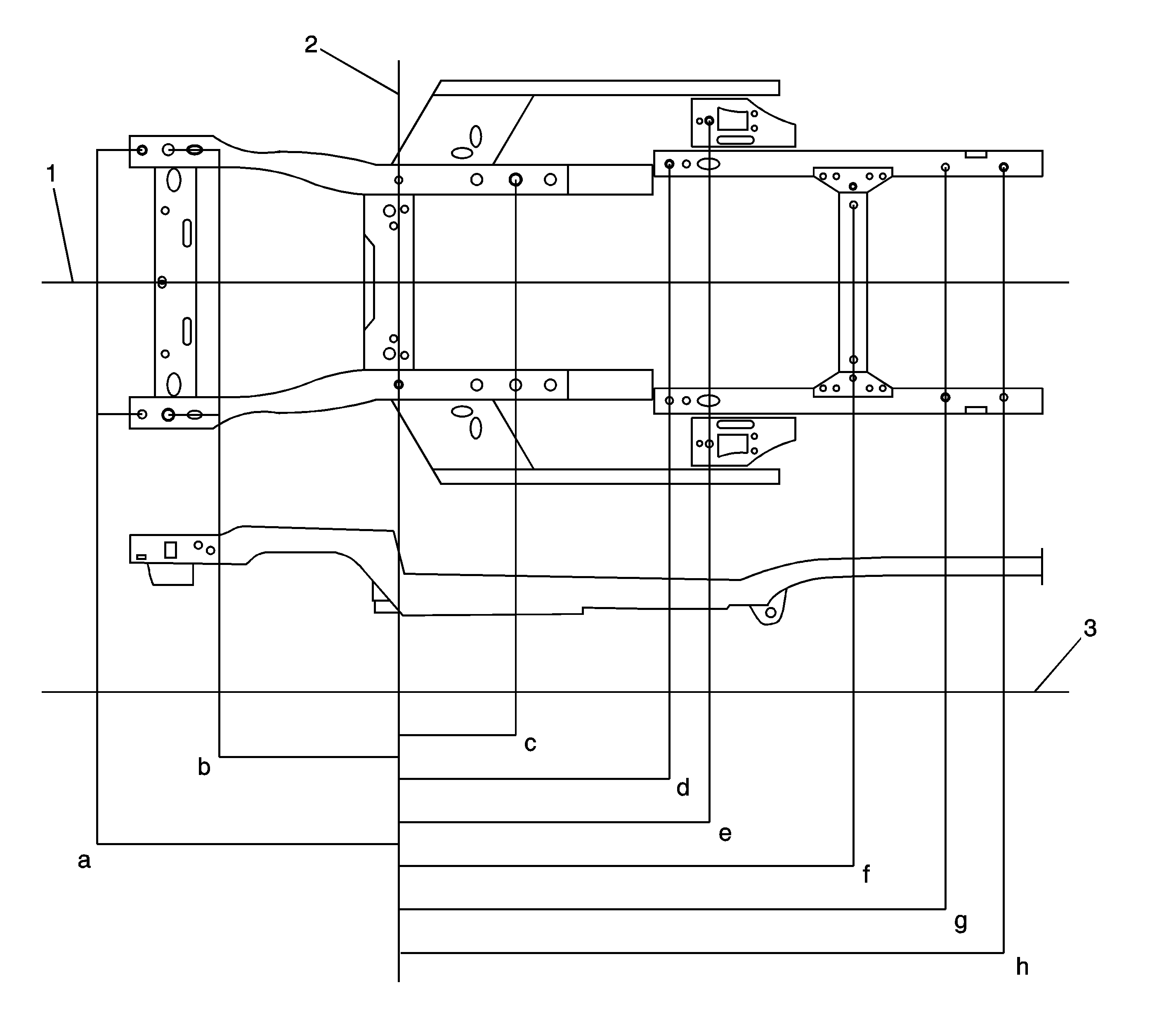
Underbody Dimensions


Object Number: 1200572  Size: LF

Underbody Dimensions

Location

Description

Length (mm)

Width (mm)

Height (mm)

1

Center Line

--

--

--

2

Zero Line

--

--

--

3

Datum Line

--

--

--

a

Cradle Attach

1023

538

585

b

Cradle Attach

1195

538

585

c

Center Line

0

443

351

d

Gage Hole

660

439

363

e

Gage Hole

1604

487

406

f

Gage Hole

1842

619

463

g

Gage Slot

2380

391

632

h

Gage Slot

2843

489

620

All dimensions are measured from a zero line, center line, and a common datum. All dimensions are symmetrical unless otherwise specified.