GM Service Manual Online
For 1990-2009 cars only

To replace a headlamp or sidemarker bulb:


Object Number: 871928  Size: B2
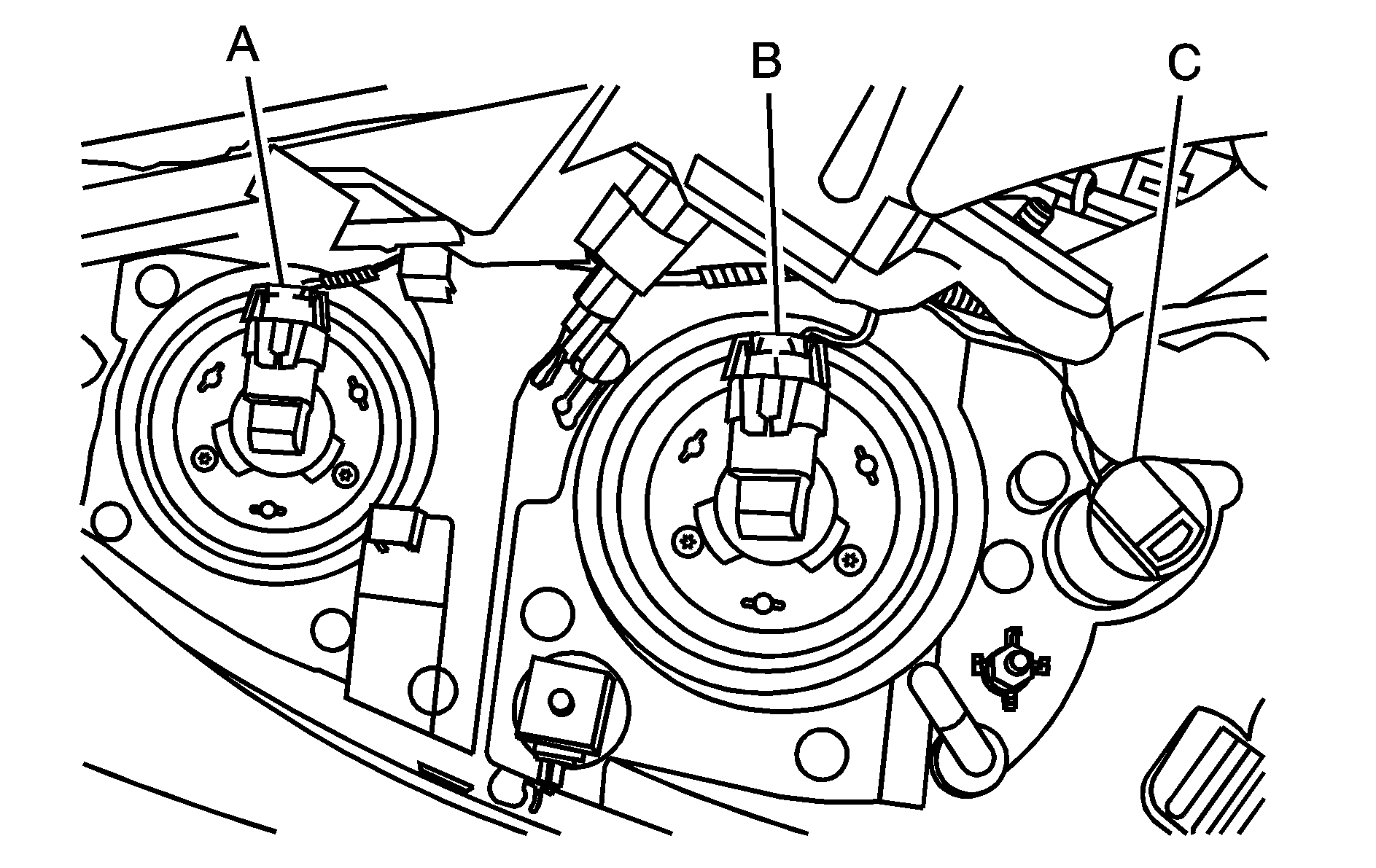
  1. High-Beam Headlamp

  2. Low-Beam Headlamp

  3. Sidemarker Lamp

  1. Open the hood. See Hood Release for more information.

  2. Object Number: 1550386  Size: B3
  3. Locate the metal retaining clip. Remove the bolt.
  4. Pull up half-way on the metal retaining clip while pushing rearward on the headlamp.
  5. Align the square cut-out on the retaining clip with the notch on the headlamp.


    Object Number: 1550388  Size: B3
  6. Pull the headlamp assembly straight out from the vehicle. Moving the headlamp up and down slightly may help with its removal.

    1. Object Number: 906386  Size: B3

      High-Beam Headlamp

      Low-Beam Headlamp

      Sidemarker Lamp

  7. Turn the bulb socket ring one-quarter of a turn counterclockwise to remove it from the headlamp assembly.
  8. Pull the old bulb from the socket.
  9. Place the new bulb into the socket.
  10. Turn the bulb socket ring one-quarter turn clockwise to reinstall it back into the headlamp assembly.
  11. Carefully reinstall the headlamp assembly.
  12. Push down on the metal retaining clip while pushing rearward on the headlamp, making sure the headlamp assembly is secure.
  13. Reinstall the bolt and tighten to secure.