GM Service Manual Online
For 1990-2009 cars only

Your vehicle may have aluminum wheels. If so, you will see exposed stainless steel wheel nuts. Use the wheel wrench to loosen all the wheel nuts. Do not remove them yet.

Or, your vehicle may have steel wheel covers.


Object Number: 1820849  Size: B3

To remove the steel wheel covers and wheel nut caps, loosen the plastic nut caps with the wheel wrench in a counterclockwise direction. If needed, you can finish loosening them with your fingers. The plastic nut caps will not come off.

Use the flat end of the wheel wrench and pry along the edge of the cover until it comes off. The edge of the wheel cover could be sharp, so do not try to remove it with your bare hands. Do not drop the cover or lay it face down, as it could become scratched or damaged. Store the wheel cover in the trunk until the flat tire is repaired or replaced.

Once you have removed the wheel cover, use the following procedure to remove the flat tire and install the spare tire.

  1. It is recommended that you do a safety check before preceding. See Changing a Flat Tire for more information.
  2. Set the park brake firmly.

  3. Object Number: 811580  Size: A2
  4. Turn the wheel wrench once on each wheel nut to loosen them. Do not remove them yet.

  5. Object Number: 1171183  Size: B4
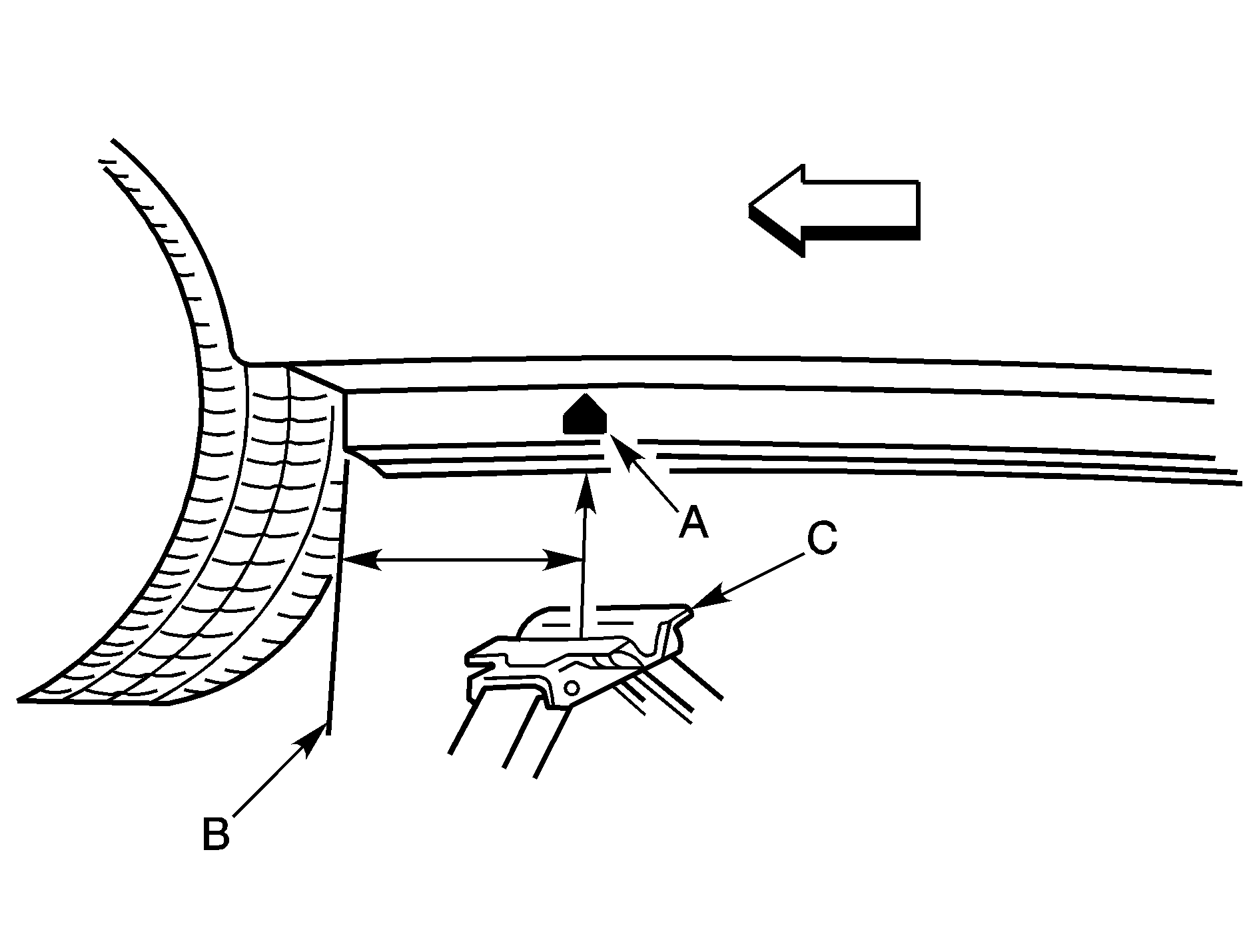
  6. Find the jacking location located on the underside of the rocker trim using the diagram. For jacking at the vehicle's front location, put the jack lift head (C) about 6 inches (15 cm) from the rear edge of the front wheel opening (B). Line up the jack with the arrow (A) as shown.

  7. Object Number: 1003802  Size: B4
  8. For jacking at the vehicle's rear location, put the jack lift head (B) about 9 inches (23 cm) from the front edge of the rear wheel opening (C). Line up the jack with the arrow (A) as shown.
  9. Put the compact spare tire near you.
  10. Caution: Getting under a vehicle when it is jacked up is dangerous. If the vehicle slips off the jack you could be badly injured or killed. Never get under a vehicle when it is supported only by a jack.

    Caution: Raising your vehicle with the jack improperly positioned can damage the vehicle and even make the vehicle fall. To help avoid personal injury and vehicle damage, be sure to fit the jack lift head into the proper location before raising the vehicle.

    Caution: Lifting a vehicle and getting under it to do maintenance or repairs is dangerous without the appropriate safety equipment and training. If a jack is provided with the vehicle, it is designed only for changing a flat tire. If it is used for anything else, you or others could be badly injured or killed if the vehicle slips off the jack. If a jack is provided with the vehicle, only use it for changing a flat tire.


    Object Number: 988777  Size: B3
  11. Raise the vehicle by turning the jack handle clockwise. Raise the vehicle far enough off the ground for the compact spare tire to attach to the vehicle.
  12. Remove all wheel nuts and take off the flat tire.
  13. Caution: Rust or dirt on a wheel or other parts to which it is fastened, can make the wheel nuts become loose and eventually the wheel could come off and cause a crash. Always remove all rust and dirt from wheels and other parts.


    Object Number: 809249  Size: A2

    Remove any rust or dirt from the wheel bolts, mounting surfaces and spare wheel.

  14. Install the compact spare tire.
  15. Caution: Never use oil or grease on bolts or nuts because the nuts might come loose. The vehicle's wheel could fall off, causing a crash.


    Object Number: 1579723  Size: A3
  16. Reinstall the wheel nuts with the rounded end of the nuts toward the wheel. Tighten each nut by hand until the wheel is held against the hub.

  17. Object Number: 1262549  Size: B3
  18. Lower the vehicle by turning the jack handle counterclockwise. Lower the jack completely.
  19. Caution: Incorrect or improperly tightened wheel nuts can cause the wheel to come loose and even come off. This could lead to a crash. If you have to replace them, be sure to get new original equipment wheel nuts. Stop somewhere as soon as you can and have the nuts tightened with a torque wrench to the proper torque specification. See Capacities and Specifications for wheel nut torque specification.

    Notice: Improperly tightened wheel nuts can lead to brake pulsation and rotor damage. To avoid expensive brake repairs, evenly tighten the wheel nuts in the proper sequence and to the proper torque specification. See Capacities and Specifications for the wheel nut torque specification.


    Object Number: 808642  Size: A2

    Tighten the wheel nuts firmly in a crisscross sequence as shown.

Notice: Wheel covers will not fit on your vehicle's compact spare. If you try to put a wheel cover on the compact spare, the cover or the spare could be damaged.