GM Service Manual Online
For 1990-2009 cars only

CAMPAIGN SEAT BELT BUCKLES

MODELS AFFECTED 1988 PONTIAC LEMANS

TO: ALL PONTIAC DEALERS

The National Traffic and Motor Vehicle Safety Act, as amended, provides that each vehicle which is subject to a recall campaign of this type must be adequately repaired within a reasonable time after the owner has tendered it for repair. A failure to repair within sixty (60) days after tender of a vehicle is prima facie evidence of failure to repair within a reasonable time.

If the condition is not adeouately repaired within a reasonable time, the owner may be entitled to an identical or reasonably equivalent vehicle at no charge or to a refund of the purchase price less a reasonable allowance for depreciation.

To avoid having to provide these burdensome solutions, every effort must be made to promptly schedule an appointment with each owner and to repair their vehicle as soon as possible. As you will see in reading the attached copy of the letter that is being sent to owners, the owners are being instructed to contact the Pontiac Customer Assistance Center if their dealer does not remedy the condition within five (5) days of the mutually agreed upon service date. If the condition is not remedied within a reasonable time, they are instructed on how to contact the National Highway Traffic Safety Administration.

DEFECT INVOLVED

General Motors has determined that a defect which relates to motor vehicle safety may exist in certain 1988 Pontiac LeMans model vehicles. The seat belt buckles on these vehicles may not properly latch. It could appear to the occupant(s) that their seat belt buckle is latched, but the latch plate can be removed from the buckle without pressing the release button. In the event of a sudden vehicle stop or collision a seat belt buckle with this condition could release, increasing the risk of injury to those occupants. To prevent the possibility of this condition occurring, the seat belt buckles will be replaced with new buckles on all involved vehicles.

VEHICLES INVOLVED

Involved are certain 1988 Pontiac LeMans model vehicles produced within the following VIN breakpoints:

UP TO YEAR MODEL PLANT BEGINNING AND INCLUDING ---- ----- ----- --------- ------------- 1988 LeMans Pupyong (Korea) JB300001 JB385149

Involved vehicles have been identified by Vehicle Identification Number Computer Listings. Computer listings contain the complete Vehicle Identification Number, owner name and address data, and are furnished to involved dealers with the campaign bulletin. Owner name and address data furnished will enable dealers to follow-up with owners involved in this campaign.

These listings may contain owner names and addresses obtained from State Motor Vehicle Registration Records. The use of such motor vehicle registration data for any other reason is a violation of law in several states. Accordingly, you are urged to limit the use of this listing to the follow-up necessary to complete this campaign. Any dealer not receiving a computer listing with the campaign bulletin has no involved vehicles currently assigned.

OWNER NOTIFICATION

Owners will be notified of this campaign on their vehicles by Pontiac Division (see copy of owner letter included with this bulletin).

DEALER CAMPAIGN RESPONSIBILITY

Dealers are to service all vehicles subject to this campaign at no charge to owners, regardless of mileage, age of vehicle, or ownership, from this time forward.

Whenever a vehicle subject to this campaign is taken into your new or used vehicle inventory, or it is in your dealership for service in the future, you should take the steps necessary to be sure the campaign correction has been made before reselling or releasing the vehicle. Owners of vehicles recently sold from your new vehicle inventory are to be contacted by the dealer, and arrangements made to make the required correction according to instructions contained in this bulletin.

PARTS INFORMATION

Parts required to complete this campaign are to be obtained from General Motors Service Parts Operations (GMSPO). To ensure that these parts will be obtained as soon as possible, they should be ordered from GMSPO on a "C.I.O." order with no special instruction code, but on an advise code (2).

QUANTITY DESCRIPTION PART NUMBER PER VEHICLE ----------- ----------- ----------- Buckle - Seat Assy. Front Left (Driver Side) 9C245579 1 Buckle - Seat Assy. Front Right (Passenger Side) 90245578 1 Buckle - Seat Assy. Rear Left & Right 90245580 2 Buckle - Seat Assy. Rear Center 90245581 1 Bolt - Anchor (Front Seat Belt Attaching - Black) 90196103 2 Bol t - Anchor (Rear Seat Bel t Attaching - Silver) 9288603 2 Washer - Spring (Front Seat Buckle Attaching) 9428369 2 Bolt - 13mm Hex HD (Front Seat Track Retaining) 90196045 8 (See Notice) Tie Strap NPN 1

Order Parts Accordingly, based on attached involved vehicle listing.

NOTICE: Bolt Pin 90196045 is a package containing 80 pcs. (enough to do 10 cars). Order parts accordingly.

SERVICE PROCEDURE

FRONT SEAT BELT BUCKLES: REMOVAL

1. Slide seat to full rearward position.

2. "SE" models only (Figure 1):

A) Remove outboard seat track cover retaining screw using a Phillips head (+) screwdriver.

B) Remove seat track cover.

3. Remove cover from outboard seat track retaining bolt. Remove and discard two (2) 13mm retaining bolts from front inboard and outboard seat tracks.

4. Drivers side only: Reach under front of seat and disconnect buckle harness connector.

5. Slide seat to full forward position and fold seat back forward to provide access. For two-door vehicles use seat back release lever on outboard side of seat back. For sedan use recliner adjuster knob at base of inboard side of seat track.

6. Remove protective covers from rear of seat tracks (Figure 2). Use a regular screwdriver (-) to release two (2) clips on inboard cover; outboard cover is removed by pulling rearward.

7. Remove and discard 13mm bolt from rear of inboard seat track.

8. Loosen - BUT DO NOT REMOVE AT THIS TIME - outboard 13mm retaining bolt (this will allow easier alignment of seat track during reirstallation).

9. Tip seat assembly sideways (outboard) into door opening and support inboard seat track in raised position to provide access to seat belt buckle anchor bolt (Figure 3).

10. Remove and discard 21mm anchor bolt, spring washer and buckle assembly (see Step 11 for special instructions for driver's side buckle). Remove seat track support, return seat to previous position.

11. Driver's side only:

A) From outside of car, reach under rear of front seat and locate plastic tie strap which retains buckle wiring harness to underside of seat. Note location for later installation. Cut tie strap and release wiring harness from underside of seat.

NOTICE: Do not pull or tug on wiring harness excessively as it could pull wiring under seat track.

B) Remove buckle and harness assembly. FRONT SEAT BUCKLES: INSTALLATION

12. Tip seat sideways into door opening and support as in Step 9.

13. Attach new buckle assembly to seat using new anchor bolt (P/N 90196103 - black) and spring washer (P/N 9428369). Tighten anchor bolt to (26 lbs. ft.) 35 Nm torque.

14. Driver's side only:

A) Feed wiring harness between seat and seat track (Figure 4).

B) Remove seat track support and set seat on floor.

C) Attach harness to seat spring using a new plastic tie strap at location noted in Step 11A. Route harness forward to connector, passing over transverse seat adjusting actuator rod.

D) Slide seat rearward and make wiring harness connection under front of seat.

15. Install new seat track retaining bolts (P/N 90196045) to front inboard and outboard attaching points, (two [2] places) - DO NOT TIGHTEN - some movement of seat track will be necessary to permit installation of rear bolts.

16. Slide seat to full forward position, remove and discard remaining original seat track retaining bolt from rear of outboard track.

17. Install new seat track retaining bolts (P/N 90196045) to rear inboard and outboard attaching points (two [2] places) - DO NOT TIGHTEN.

18. Adjust seat to central location to provide access to both front and rear seat track retaining bolts.

19. Tighten seat track retaining bolts to (15 lbs. ft.) 20 Nm in the following sequence:

1 - Front Inboard 2 - Rear Inboard 3 - Front Outboard 4 - Rear Outboard

20. Install rear seat track protective covers (see Step 21 for "SE" models) and front outboard track retaining bolt cover.

21. "SE" models only: Install outboard seat track cover before installing rear protective cover to outboard track end.

REAR SEAT BUCKLES - ONE PIECE REAR SEAT BACK (NOT "SE" MODEL) - REMOVAL:

1. Slide both front seats to full forward position and incline seat backs forward.

2. Raise rear cushion to vertical position by pulling up on center pull strap at rear of cushion.

3. Release latch on rear seat back (located at top, outboard sides of seat back) and pull seat back forward slightly to disengage seat back latch. Lift up seat back and insert support between floor and bottom of seat back (Figure 5).

4. Remove and discard two (2) 21mm seat belt buckle anchor bolts and three (3) buckle assemblies. Retain belt and tongue assembly for center occupant position, to be reinstalled later.

REAR SEAT BUCKLES - ONE PIECE REAR SEAT BACK (NOT "SE" MODEL) - INSTALLATION:

5. Install three (3) new rear seat belt buckle assemblies. P/N 90245580 in right and left hand occupant positions, P/N 90245581 in center occupant position and original center occupant belt and tongue assembly using two (2) new anchor bolts (P/N 9288603 - silver). For correct orientation of these parts, see Figure 5. Buckle part numbers are stamped on underside of each buckle.

6. Tighten anchor bolts to (26 lbs. ft.) 35 Nm torque.

7. Remove seat back support and latch seat back in place, return seat cushion to original position ensuring that seat belt buckles and center occupant belt are accessible.

8. Install Campaign Identification Label.

REAR SEAT BUCKLES - SPLIT SEAT ("SE" MODEL) - REMOVAL:

1. Slide both front seats to full forward position and incline seat backs forward.

2. Raise both rear seat cushions to vertical position by pulling up on pull strap at rear of each cushion.

3. Remove Phillips (+) head screw from center seat back pivot (Figure 6) and remove bearing shell. Lower both rear seat backs and remove bearing cap (Figure 7). Raise rear seat backs to upright, unlatched position.

4. Raise inboard ends of seat backs (at center pivot) and support in raised position to provide sufficient access to seat belt buckle anchor bolts.

5. Remove and discard two (2) 21mm seat belt buckle anchor bolts and three (3) buckle assemblies. Retain belt and tongue assembly for center occupant position, to be reinstalled later.

REAR SEAT BUCKLES - SPLIT SEAT ("SE" MODEL) - INSTALLATION:

6. Install three (3) new rear seat belt buckle assemblies. P/N 90245580 in right and left hand occupant positions, P/N 90245581 in center occupant position and original center occupant belt and tongue assembly using two (2) new anchor bolts (P/N 9288603 - silver). For correct orientation of these parts, see Figure 5. Buckle part numbers are stamped on the underside of each buckle.

7. Tighten anchor bolts to (26 lbs. ft.) 35 Nm torque.

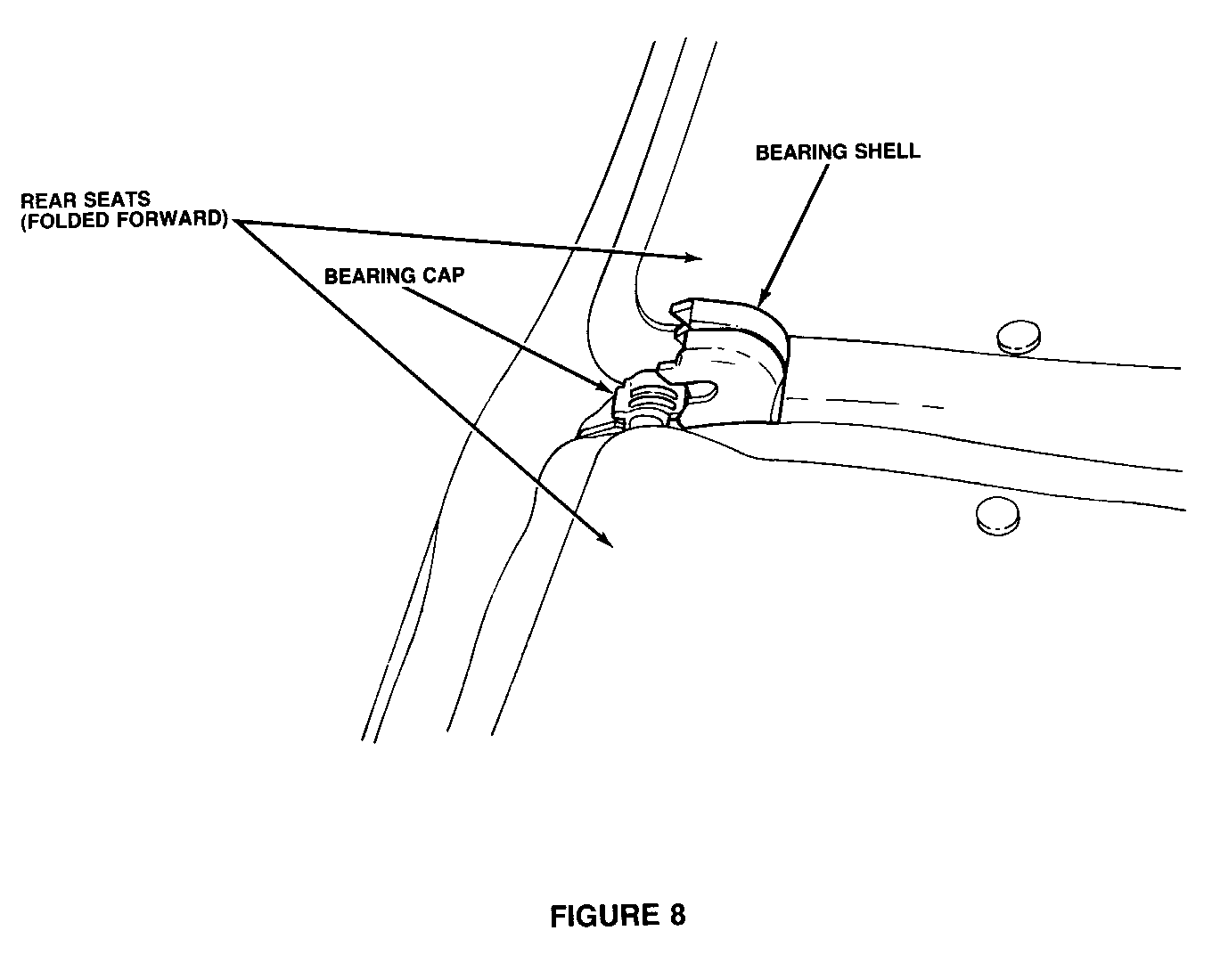
8. Remove seat backsupport(s) and reseat pivots in lower bearing cap and bearing shell (Figure 8). Raise both seat backs, align bearing shell and screw hole and install screw.

9. Return seat backs to latched position and cushions to down position, ensuring that seat belts and buckles are accessible.

10. Install Campaign Identification Label

CAMPAIGN IDENTIFICATION LABEL

Each vehicle corrected in accordance with the instructions outlined in this Product Campaign Bulletin will require a "Campaign Identification Label." Each label provides a space to include the campaign number, the five (5) digit dealer code of the dealer performing the campaign service and the date the vehicle was campaigned. This information may be inserted with a typewriter or a ball point pen. Install the label only on a clean, dry surface of the radiator baffle where it is readily visible (additional campaign labels are available on stationary order as Form 7901-709).

CLAIM INFORMATION

A separate repair order must be kept for each vehicle. A completed warranty claim is to be kept as a permanent record of completion.

DEALERS SHOULD SUBMIT WARRANTY CLAIMS FOR CREDIT IN THEIR NORMAL MANNER WHEN THEY PERFORM THE SERVICE AS FOLLOWS:

*Other Failure Labor Labor Labor Operation Code Operation Hours Hours --------- ---- --------- ----- ------

Replace Seat Belt Assemblies 96 V4930 0.7 0.1

* In addition, dealership will receive 0.1 hours credit for dealer administrative services associated with this campaign.

The 0.1 hours allowance is to be entered in the "Other Labor Hours" field with each campaign repair listed for credit. This entry will not require authorization.

FAILURE CODE 96 MUST BE USED WITH THIS LABOR OPERATION.

Dealers will be credited via Warranty Document or Terminal Transmission, whichever is their normal method of submission for payment. Claim must contain all information required and should list the proper labor operation as outlined.

Parts required are to be listed in your warranty claim in the normal manner. Parts will be credited at dealer net plus 30% dealer handling allowance.

RECORDING COMPLETION

Repairs submitted for vehicles not involved in this campaign will not be paid. Campaign completion will be recorded from "PROPERLY COMPLETED AND PAID WARRANTY CLAIMS." Owners are being asked to present the owner reply card for identification to their dealer at the time they bring in their vehicle to have the campaign performed.

Dear Pontiac Owner:

This notice is sent to you in accordance with the requirements of the National Traffic and Motor Vehicle Safety Act.

REASON FOR THE RECALL

General Motors has determined that a defect which relates to motor vehicle safety may exist in certain 1988 Pontiac LeMars model vehicles. The seat belt buckles on these vehicles may not properly latch. It could appear to the occupant(s) that their seat belt buckle is latched, but the latch plate can be removed from the buckle without pressing the release button. In the event of a sudden vehicle stop or collision a seat belt buckle with this condition could release, increasing the risk of injury to those occupants.

WHAT WE WILL DO

To prevent the possibility of this condition occurring on your vehicle, all the seat belt buckles will be replaced with new buckles. This service will be performed for you at no charge.

WHAT YOU SHOULD D0

Please contact your Pontiac dealer as soon as possible to arrange a service date. Instructions for making this correction have been sent to your dealer. It is estimated that parts will be available on or about November 29, 1988. The labor time necessary to perform this service is approximately forty- five (45) minutes. Please ask your dealer if you wish to know how much additional time will be needed to schedule and process your vehicle.

Your Pontiac dealer is best equipped to obtain parts and provide service to insure that your vehicle is corrected as promptly as pcssible. If, however, you take your vehicle to your dealer on the agreed service date and they do not remedy this condition on that date or within five (5) days, we recommend you contact the Customer Assistance Department, Pontiac Home Office, by calling 1-800-762-2737.

After calling the Customer Assistance Center and the Pontiac Home Office, if you are still not satisfied that we have done our best to remedy this condition without charge, within a reasonable time, you may wish to write the Adminstrator, National Highway Traffic Safety Administration, 400 Seventh Street, S.W., Washington, D.C. 20590, or call 1-800-424-9393 (Washington D.C. residents use 366-0123).

The enclosed owner reply card identifies your Pontiac vehicle. Presentation of this card to your dealer will assist in making the necessary correction in the shortest possible time. If you have sold or traded your vehicle, please let us know by completing the postage-paid reply card ard returning it to us.

We are sorry to cause you this inconvenience; however, we have taken this action in the interest of your safety and continued satisfaction with our products.


Object Number: 88139  Size: FS


Object Number: 81566  Size: FS


Object Number: 76864  Size: FS


Object Number: 85360  Size: FS


Object Number: 75736  Size: FS


Object Number: 83444  Size: FS


Object Number: 85979  Size: FS


Object Number: 75735  Size: FS

General Motors bulletins are intended for use by professional technicians, not a "do-it-yourselfer". They are written to inform those technicians of conditions that may occur on some vehicles, or to provide information that could assist in the proper service of a vehicle. Properly trained technicians have the equipment, tools, safety instructions and know-how to do a job properly and safely. If a condition is described, do not assume that the bulletin applies to your vehicle, or that your vehicle will have that condition. See a General Motors dealer servicing your brand of General Motors vehicle for information on whether your vehicle may benefit from the information.