GM Service Manual Online
For 1990-2009 cars only

Cooling System Component Views 0.8L

Figure 1:

Coolant Hose and Components


Object Number: 1225521  Size: LF
(1)Radiator Coolant Return Hose
(2)Upper Radiator Hose
(3)Radiator Assembly
(4)Surge Tank Hose
(5)Surge Tank
(6)Surge Tank Return Hose
(7)Water Inlet Cap
(8)Heater Outlet Hose
(9)Heater Inlet Hose
(10)Thermostat
(11)Thermostat Housing
(12)Distributor Case
(13)Engine Coolant Temperature (ECT) Sensor
(14)Engine Coolant Temperature Gage Sensor
(15)Lower Radiator Hose
(16)Throttle Body Outlet Hose
(17)Throttle Body Assembly
(18)Throttle Body Inlet Hose
(19)Hose Bracket
Figure 2:

Radiator/Fan


Object Number: 1225523  Size: LF
(1)Radiator Assembly
(2)Cooling Fan
(3)Cooling Fan Resistor
(4)G101

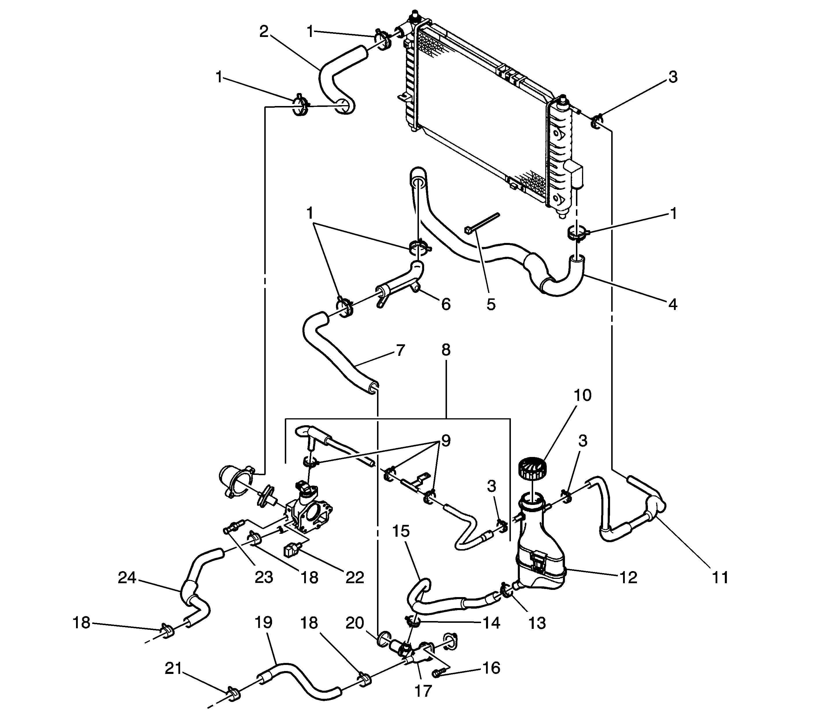
Cooling System Component Views 1.0L

Figure 1:

Coolant Hose and Components


Object Number: 1241304  Size: LF
(1)Clip
(2)Upper Radiator Hose
(3)Clip
(4)Lower Radiator Hose
(5)Strap
(6)Hose Bracket
(7)Radiator Coolant Return Hose
(8)Throttle Body Outlet Hose
(9)Clip
(10)Surge Tank Cap
(11)Surge Tank Hose
(12)Surge Tank
(13)Clip
(14)Clip
(15)Surge Tank Return Hose
(16)Bolt
(17)Water Inlet Cap
(18)Clip
(19)Heater Outlet Hose
(20)Clamp
(21)Clip
(22)Engine Coolant Temperature (ECT) Sensor
(23)Engine Coolant Temperature Gage Sensor
(24)Heater Inlet Hose
Figure 2:

Radiator/Fan


Object Number: 1225523  Size: LF
(1)Radiator Assembly
(2)Cooling Fan
(3)Cooling Fan Resistor
(4)G101