GM Service Manual Online
For 1990-2009 cars only

Generator Rotor Inspection A-Type : Mando

Inspection Procedure

Inspect the Rotor Assembly


    Object Number: 1223012  Size: SH
  1. Test the rotor for an open circuit by using the ohmmeter. Replace the rotor if necessary.
  2. Test the rotor for open or short circuit (1).
  3. Specification
    The measured resistance is 2.9 ohms.

  4. Replace the rotor if necessary.
  5. Test the rotor for open or ground circuit by using the ohmmeter (2). Replace the rotor if necessary.

Inspect the Stator


    Object Number: 1223013  Size: SH
  1. Test the stator for an open circuit by using the ohmmeter (1). Replace the stator if necessary.

  2. Object Number: 1223017  Size: SH
  3. Test the stator for open or ground circuit by using the ohmmeter (1). Replace the starter if necessary.

Inspect the Rectifier


    Object Number: 1223018  Size: SH
  1. Positive rectifier test: Inspect the open circuit for stator coil lead terminals using the ohmmeter (1). Replace the rectifier if necessary.

  2. Object Number: 1223021  Size: SH
  3. Negative rectifier test: Inspect the open circuit for stator coil lead terminals using the ohmmeter (1). Replace the rectifier if necessary.

Inspect Trio Diodes


    Object Number: 1223023  Size: SH
  1. Inspect the open circuit for trio diodes using the ohmmeter (2).
  2. Replace the heat sink if necessary (1).

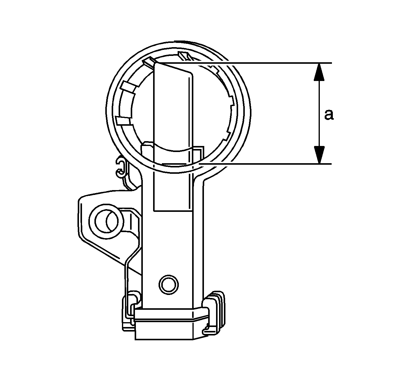
    Object Number: 1223024  Size: SH
  1. Inspect the brush wear.
  2. If the brush wear exceeds the specified valve (a), replace the brush.
  3. Specifications

        • Brushes Wear Standard is 18.5 mm (0.73 in).
        • Brushes Wear Limit is 13.5 mm (0.53 in).

Generator Rotor Inspection B-Type : DAC

Inspection Procedure

Rotor Assembly Inspect


    Object Number: 1223076  Size: SH
  1. Test the rotor coil for an open circuit by using the ohmmeter. The reading should be sufficiently low, or the rotor must be replaced (1).

  2. Object Number: 1223078  Size: SH
  3. Test the rotor for open or short circuits. The reading should be 2.6-2.8 ohms, or the rotor should be replaced (1).
  4. Test the rotor for open or ground circuits by using the ohmmeter. The reading should be sufficiently high, or the rotor must be replaced (2).
  5. Inspect the fan blade for damage.

Stator Inspect


    Object Number: 1223079  Size: SH
  1. Test the rotor for an open circuit by using the ohmmeter. The reading should be sufficiently low, or the stator must be replaced (1).

  2. Object Number: 1223080  Size: SH
  3. Test the stator for open or ground circuits by using the ohmmeter. The reading should be sufficiently high, or the stator must be replaced (1).

Rectifier Inspect


    Object Number: 1223084  Size: SH
  1. Positive rectifier test: Inspect the open circuit for stator coil lead terminals using the ohmmeter (1). Replace the rectifier if necessary.

  2. Object Number: 1223086  Size: SH
  3. Negative rectifier test: Inspect the open circuit for stator coil lead terminals using the ohmmeter (1). Replace the rectifier if necessary.

Trio Diodes Inspect


    Object Number: 1223088  Size: SH
  1. Inspect the open circuit for trio diodes using the ohmmeter (2).
  2. Replace the heat sink if necessary (1).

Brush Wear Inspect


    Object Number: 1223090  Size: SH
  1. Inspect the brush wear.
  2. If the brush wear (a) exceeds the specified value, replace the brush.
  3. Specification

        • Brushes Wear Standard is 20 mm (0.79 in).
        • Brushes Wear Limit is 14 mm (0.55 in).