GM Service Manual Online
For 1990-2009 cars only
Table 1: Engine Control Module (ECM) (Fenix)
Table 2: Engine Control Module (ECM) (Sirius-D3)

Engine Control Module (ECM) (Fenix)


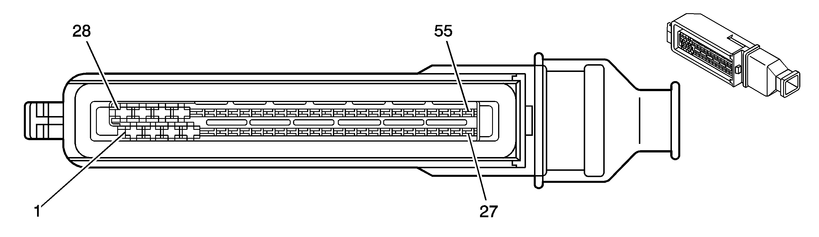
Object Number: 1481261  Size: CF

Connector Part Information

    • AMP 828761-1
    • 55-Way Junior Timer 55P Connector (BK)

Pin

Wire Color

Circuit Number

Function

1

RD/D-BU

1746

Fuel Injector 2 Control

2

BK

750

Ground

3

BK

750

Ground

4

D-GN/RD

1745

Fuel Injector 3 Control

5

WH

121

Engine Speed Signal

6

D-BU

1786

Park/Neutral Position (PNP) Signal (Automatic Transmission)

7

D-GN/WH

762

A/C Request Signal

8

D-BU/GY

496

Knock Sensor (KS) Signal

9

D-BU/WH

1747

Idle Air Control (IAC) Coil A High Control

10

D-GN/WH

428

EVAP Canister Purge Solenoid Control

11

D-BU/YE

774

Serial Data

12

WH

1230

Vehicle Speed Signal (Automatic Transmission)

BN

437

Vehicle Speed Signal (Manual Transmission

13

D-GN/OG

987

Serial Data

14

GY/BK

1798

Main Relay Control

15

YE

410

Engine Coolant Temperature (ECT) Sensor Signal

16

D-GN/GY

432

Manifold Absolute Pressure (MAP) Sensor Signal

17

PU

412

Oxygen (O2) Sensor Signal

18

BN/D-GN

413

Low Reference

BK

750

Ground

19

D-BU/GY

417

Throttle Position (TP) Sensor Signal

20

BN/D-GN

472

Intake Air Temperature (IAT) Sensor Signal

21

D-BU/GY

732

Evaporator Temperature Sensor Signal

22

D-GN/WH

2641

Octane Selection Signal

23

--

--

Not Used

24

RD/YE

39

Ignition 1 Voltage

25

D-GN/YE

2642

Ignition Coil Control

26

D-BU

1346

Headlamp Supply Voltage

27

YE/D-BU

983

Overspeed Warning Buzzer Signal

28

D-GN/BK

1848

Ignition Coil Control

29

--

--

Not Used

30

BK

1744

Fuel Injector 1 Control

31

BK/WH

951

Shield Ground

32

OG

240

Battery Positive Voltage

33

RD

980

Camshaft Position (CMP) Sensor Signal

34

--

--

Not Used

35

D-BU/RD

1748

Idle Air Control (IAC) Coil A Low Control

36

D-GN/YE

1749

Idle Air Control (IAC) Coil B High Control

37

OG/BK

495

Power Steering Pressure Switch Signal

38

OG/BK

1061

Serial Data

39

--

--

Not Used

40

D-GN/RD

444

Idle Air Control (IAC) Coil B Low Control

41

PK/D-GN

420

Thottle Position Signal (Automatic Transmission)

42

GY

435

Exhaust Gas Recirculation (EGR) Solenoid

43

BN/WH

419

Malfunction Indicator Lamp (MIL) Control

44

OG/BK

469

Low Reference

45

D-BU/RD

1688

5 Volt Reference

46

BK

808

Low Reference

47

D-BU/GY

473

Cooling Fan Low Relay Control

48

BN

948

Engine Speed Signal (Automatic Transmission)

49

--

--

Not Used

50

D-GN/BK

335

Cooling Fan High Relay Control

51

D-GN/WH

459

A/C Compressor Relay Control

52

OG/BK

1733

Ignition 1 Voltage

53-55

--

--

Not Used

Engine Control Module (ECM) (Sirius-D3)


Object Number: 1509186  Size: CF

Connector Part Information

    •  211 PC 9025008
    • 90-Way F Sicma Sealed Connector (BK)

Pin

Wire Color

Circuit Number

Function

1

RD/YE

407

Ignition Coil 3 Control

2

--

--

Not Used

3

BK

750

Ground

4

D-GN/WH

428

EVAP Canister Purge Valve Solenoid Control

5

D-GN/BK

335

High Speed Cooling Fan Relay Control

6

GY

435

Exhaust Gas Recirculation (EGR) Valve Control

7

GY/BK

1798

Main Relay Control

8-9

--

--

Not Used

10

D-GN/BK

1799

Fuel Pump Relay Control

11

--

--

Not Used

12

OG/BK

649

Low Reference

13

PU

412

Oxygen (O2) Sensor Signal

14

D-GN/YE

1752

Low Reference

15

OG/BK

425

Low Reference

16

WH/YE

1670

Heated Oxygen Sensor (HO2S) 2 Signal

17

--

--

Not Used

18

BN/YE

632

Low Reference

19

BK/WH

951

Knock Sensor (KS) Ground

20

--

--

Not Used

21

BN

437

Vehicle Speed Signal

22

--

--

Not Used

23

D-GN/WH

762

A/C Request Signal

24

BK/YE

1869

Low Reference

25

OG/BK

495

Power Steering Pressure Switch Signal

26-27

--

--

Not Used

28

BK

750

Ground

29

RD/YE

39

Ignition 1 Voltage/ Battery Positive Voltage

30

OG

240

Battery Positive Voltage

31

RD

423

Ignition Coil 1 Control

32

D-BU/RD

406

Ignition Coil 2 Control

33

BK

750

Ground

34

--

--

Not Used

35

D-GN/RD

1672

Heated Oxygen Sensor (HO2S) Heater Control

36-37

--

--

Not Used

38

D-GN/WH

459

A/C Compressor Relay Control

39

D-BU/GY

473

Cooling Fan Relay LOW Control

40-41

--

--

Not Used

42

D-GN/RD

444

Idle Air Control (IAC) Coil B Low Control

43

BN

1456

Exhaust Gas Recirculation (EGR) Valve Position Signal

44

D-BU/GY

417

Throttle Position (TP) Sensor Signal

45

YE

410

Engine Coolant Temperature (ECT) Sensor Signal

46

D-BU/GY

732

Evaporative Temperature Sensor Signal

47

BN/GN

472

Intake Air Temperature (IAT) Sensor Signal

48

--

--

Not Used

49

D-GN/YE

2642

Octane Selection Connector Signal

50

D-BU/GY

496

Knock Sensor (KS) Signal

51

--

--

Not Used

52

D-GN/OG

987

Serial Data

53

BK/WH

1451

Crankshaft Position (CKP) Sensor Signal

54

YE/RD

1868

Ground

55

BN/D-GN

833

Rough Road Signal (w/o ABS)

GY/YE

886

Rough Road Signal (w/ ABS)

56

D-BU/YE

774

Serial Data

57

--

--

Not Used

58

D-BU/RD

1746

Fuel Injector 2Control

59-62

--

--

Not Used

63

BK

750

Ground

64

PU

30

Fuel Gage Control Signal

65

--

--

Not Used

66

OG/BK

1733

Ignition 1 Voltage

67

BK

750

Ground

68

BN/WH

419

Malfunction Indicator Lamp (MIL) Control

69

--

--

Not Used

70

D-BU/RD

1748

Idle Air Control (IAC) Coil A Low Control

71

D-BU/WH

1747

Idle Air Control (IAC) Coil A High Control

72

D-GN/YE

1749

Idle Air Control (IAC) Coil B High Control

73

D-GN/GY

432

Manifold Absolute Pressure (MAP) Sensor Signal

74

D-BU/RD

1688

5-Volt Reference

75

BK

808

Low Reference

76

YE/BK

414

Heated Oxygen Sensor (HO2S) 2 Low Reference

77

BN/D-GN

413

Low Reference

78

D-BU/RD

1687

5-Volt Reference

79

BK/RD

807

Low Reference

80

OG/BK

469

Low Reference

81

D-GN/RD

1753

Fuel Level Sensor Signal

82

BN/RD

633

Camshaft Position (CMP) Sensor Signal

83

WH/RD

416

5-Volt Reference

84

D-BU

1346

Headlamp Supply Voltage

85

D-GN/BK

872

Wheel Speed Sensor Return - Right Front (w/o ABS)

86-88

--

--

Not Used

89

D-GN/RD

1745

Fuel Injector 3 Control

90

RD/YE

1744

Fuel Injector 1 Control