GM Service Manual Online
For 1990-2009 cars only

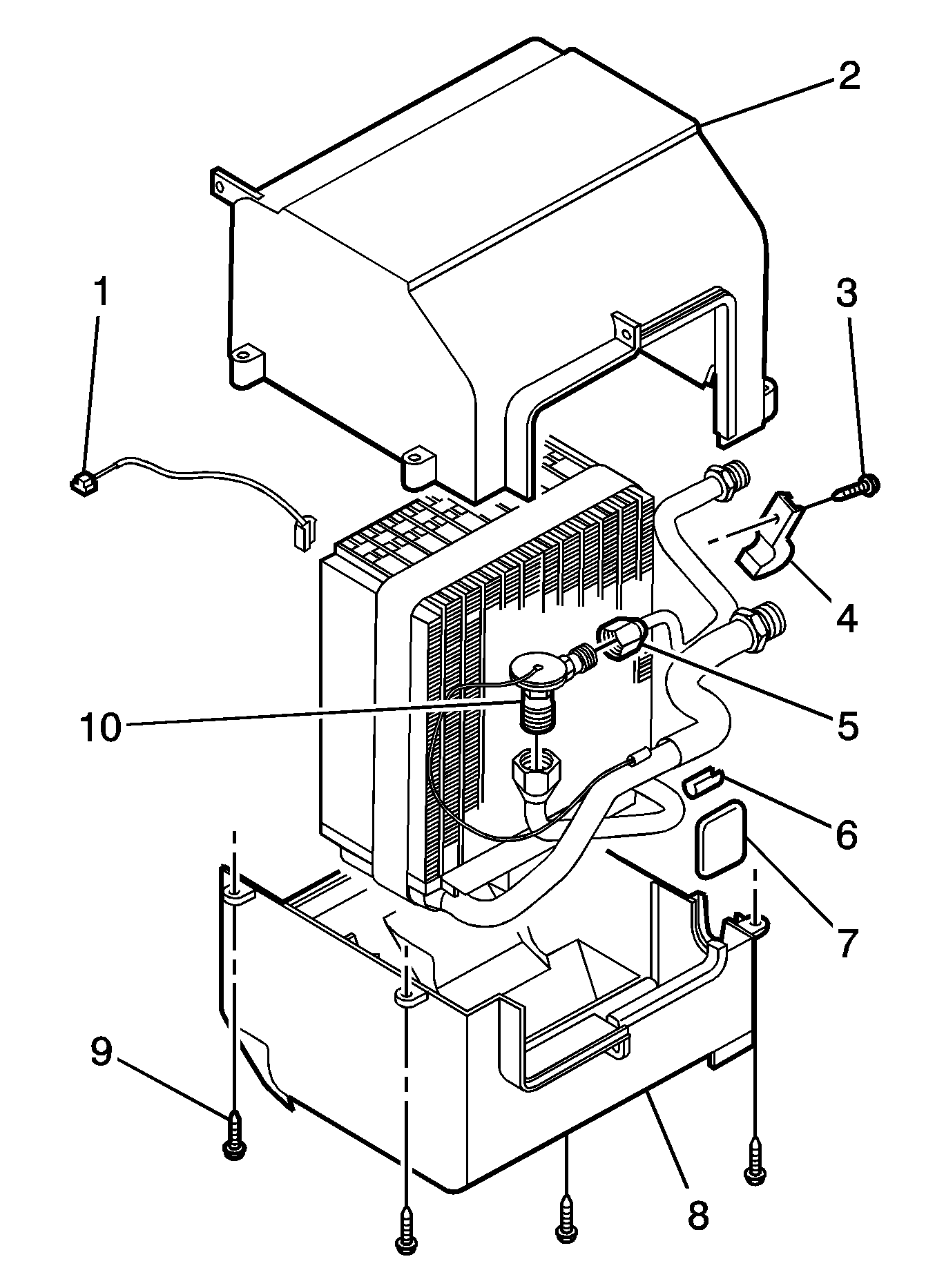
Disassembly Procedure


    Object Number: 1225499  Size: MH
  1. Remove the evaporator unit. Refer to Evaporator Core and Drain Hose Replacement .
  2. Remove the screws (3) and the clamp (4).
  3. Remove the screws securing the evaporator case cover (9).
  4. Remove the upper evaporator case cover (2).
  5. Remove the lower evaporator case cover (8).
  6. Remove the thermistor (1).
  7. Loosen the fitting and remove the high pressure pipe line (5) and remove the tape (7).
  8. Remove the evaporator plate seal (6).
  9. Loosen the fitting and remove the expansion valve (10).
  10. Remove the evaporator core and expansion valve.

Assembly Procedure

    Notice: Refer to Fastener Notice in the Preface section.


    Object Number: 1223608  Size: SH
  1. Install the expansion valve with the fitting (2).
  2. Tighten
    Tighten the expansion valve fitting to 22 N·m (16 lb ft).

  3. Install the evaporator plate seal.
  4. Install the tape.
  5. Install the high pressure pipe line with the fitting (1).
  6. Tighten
    Tighten the high pressure pipe line fitting to 17 N·m (13 lb ft).

  7. Install the thermistor.
  8. Install the screws securing the evaporator case cover.
  9. Install the clamp and the screw.
  10. Install the evaporator unit. Refer to Evaporator Core and Drain Hose Replacement .