GM Service Manual Online
For 1990-2009 cars only
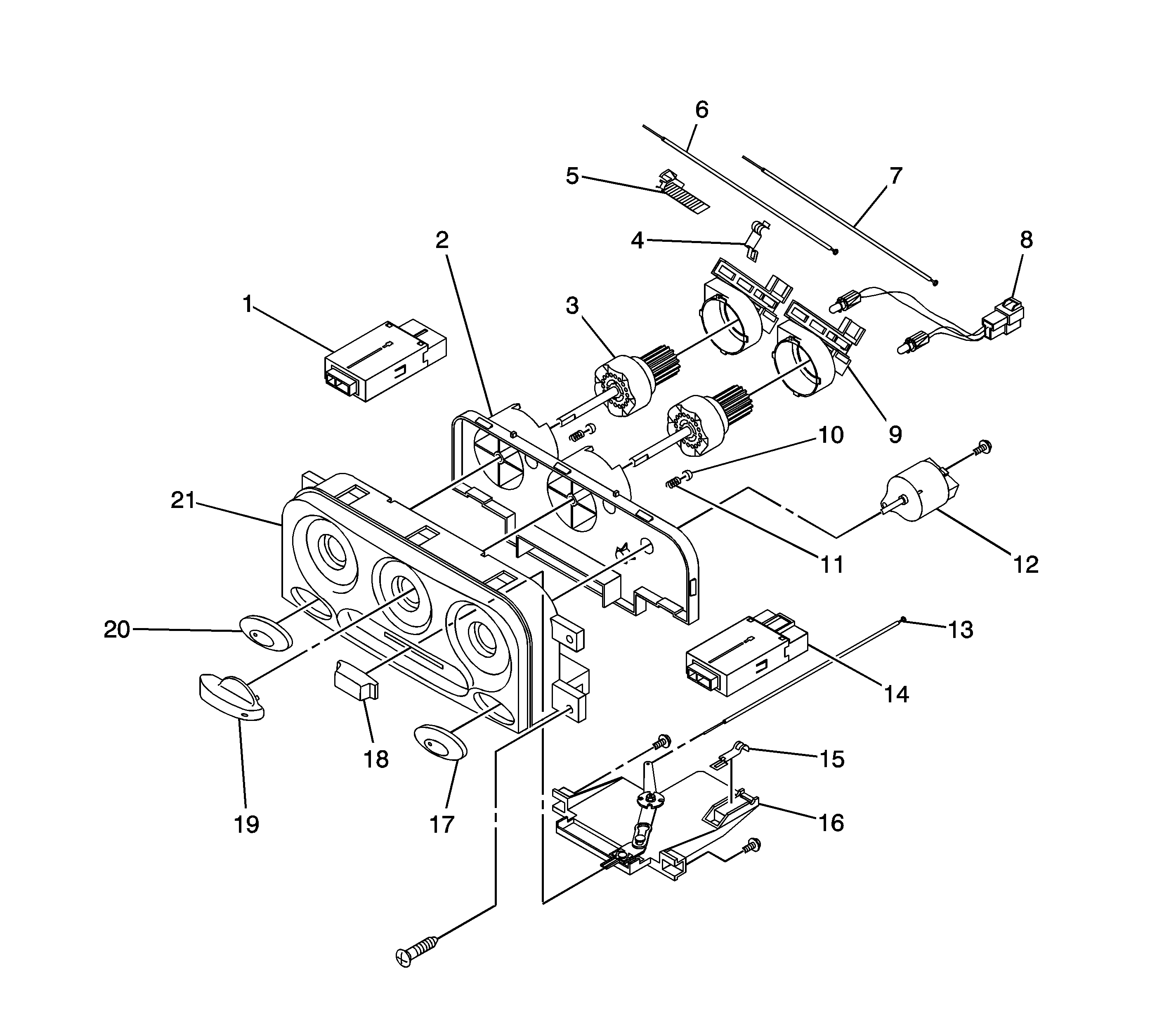
Figure 1:

HVAC Control Assembly


Object Number: 1225467  Size: LF
(1)A/C Control Switch
(2)Housing
(3)Pinion Assembly
(4)Cable Clamp
(5)Rack
(6)Temperature Control Cable
(7)Mode Select Cable
(8)HVAC Control Lamps
(9)Bracket
(10)Detent Cap
(11)Detent Spring
(12)Blower Switch
(13)Recirculating/Fresh Air Door Cable
(14)Rear Defogger Switch
(15)Cable Clamp
(16)Recirculation
(17)Rear Defogger Push Button
(18)Recirculating Knob
(19)Rotary Knob
(20)A/C Push Button
(21)Panel
Figure 2:

Blower Module Assembly


Object Number: 1225468  Size: LF
(1)Plastic Washer
(2)Blower Link
(3)Blower Lever
(4)Heater Duct Assembly
(5)Blower Connector Duct
(6)Orifice Case
(7)Lower Case
(8)Blower Motor
(9)Cooling Hose
(10)Blower Valve
(11)Blower Motor Resistor
(12)Cable Clamp
(13)Valve Retainer
(14)Air Intake Case
Figure 3:

A/C System


Object Number: 1225470  Size: LF
(1)High Pressure Pipe - Receiver Dryer to Evaporator
(2)Low Pressure Hose - Evaporator to Compressor
(3)O-ring
(4)Evaporator Module
(5)Evaporator Upper Case
(6)Thermistor
(7)Evaporator Core
(8)Expansion Valve
(9)Evaporator Inlet Pipe
(10)Plate
(11)Evaporator Lower Case
(12)Compressor Stay - Non Power Steering
(13)Compressor Bracket - Non Power Steering
(14)A/C and Power Steering Bracket - Power Steering
(15)Condenser
(16)A/C Compressor
(17)Clutch Drive
(18)Shaft Bolt
(19)High Pressure Pipe - Compressor to Condenser
(20) Compressor Pulley
(21)Receiver - Dryer Bracket
(22)Receiver - Dryer
(23)A/C Refrigerant Pressure Switch
(24)Compressor High Pressure Pipe - Condenser to Receiver-Dryer
(25)A/C Compressor Clutch
(26)Without Power Steering
(27)With Power Steering
Figure 4:

Air Distributor and Heater Module Assembly


Object Number: 1225469  Size: LF
(1)Defroster Duct Hose
(2)Defroster Duct
(3)Ventilation Duct
(4)Plastic Washer
(5)Temperature Control Lever
(6)Temperature Control Lever Bearing
(7)Spring
(8)Defroster Link
(9)Defroster Lever
(10)Left Heater Case
(11)Defroster Valve
(12)Temperature Control Valve
(13)Right Heater Case
(14)Case Seal
(15)Heater Core Cover
(16)Heater Core
(17)Ventilation Valve
(18)Cable Link
(19)Heater Lever
(20)Heater Link
(21)Ventilation Lever
(22)Ventilation Link
(23)Temperature Control Link