GM Service Manual Online
For 1990-2009 cars only

Removal Procedure

    Caution: Refer to Battery Disconnect Caution in the Preface section.


    Object Number: 1221207  Size: SH
  1. Disconnect the negative battery cable.
  2. Remove the instrument panel assembly. Refer to Instrument Panel Assembly Replacement .
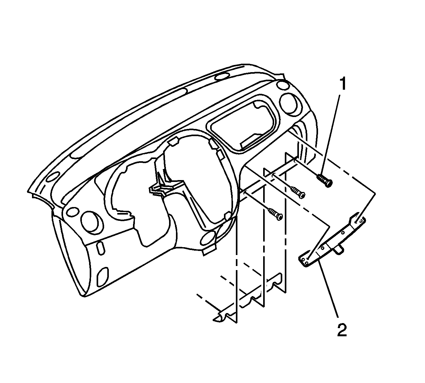
  3. Remove the screws from the instrument cluster brackets.
  4. Remove the instrument cluster brackets (1) from the instrument panel.

  5. Object Number: 1221210  Size: SH
  6. Remove the passenger airbag module blank cover (1) from the instrument panel.

  7. Object Number: 1221212  Size: SH
  8. Remove the ventilation duct (1) from the instrument panel.

  9. Object Number: 1221214  Size: SH
  10. Remove the ventilation grilles (1) from the instrument panel.

  11. Object Number: 1221218  Size: SH
  12. Remove the cigar lighter housing (1) from the instrument panel.

  13. Object Number: 1221220  Size: SH
  14. Remove the screws (1) from the glove box striker and bracket.
  15. Remove the glove box striker and bracket (2) from the instrument panel.

  16. Object Number: 1221224  Size: SH
  17. Remove the screws (2) from the instrument panel guide.
  18. Remove the instrument panel guide (1) from the instrument panel.

  19. Object Number: 1221227  Size: SH
  20. Remove the defroster grilles (1) and the demister grilles (2) from the instrument panel.

Installation Procedure


    Object Number: 1221142  Size: SH
  1. Install the defroster grilles and the demister grilles to the instrument panel.
  2. Install the instrument panel guide to the instrument panel with the screws.
  3. Install the glove box striker and the bracket to the instrument panel with the screws.
  4. Install the cigar lighter housing to the instrument panel with the screws.
  5. Install the ventilation grilles to the instrument panel with the screws.
  6. Install the ventilation duct to the instrument panel with the screws.
  7. Notice: Refer to Fastener Notice in the Preface section.


    Object Number: 1221228  Size: SH
  8. Install the passenger's airbag module blank cover to the instrument panel with the screws (1).
  9. Tighten
    Tighten the screws to 1.5-2 N·m (13-18 lb in).

  10. Install the instrument cluster brackets to the instrument panel with the screws.
  11. Install the instrument panel assembly. Refer to Instrument Panel Assembly Replacement .
  12. Connect the negative battery cable.