GM Service Manual Online
For 1990-2009 cars only
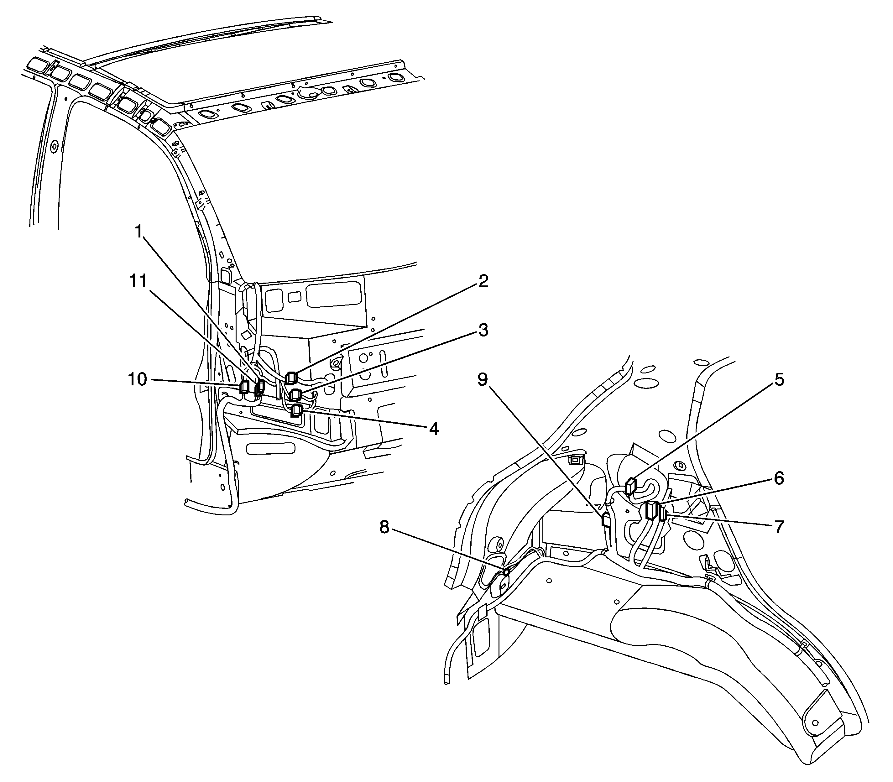
Figure 1:

Engine Harness-Sirius D4


Object Number: 1241293  Size: LF
(1)Camshaft Position (CMP) Sensor
(2)Electronic Ignition (EI) System
(3)Battery B+
(4)To Engine Control Module (ECM)
(5)Reverse Lamp Switch
(6)Crankshaft Position (CKP) Sensor
(7)Oxygen Sensor (O2S)
(8)Exhaust Gas Recirculation (EGR)
(9)Injector 1,2,3,4
(10)Generator
(11)Generator B+
(12)Starter Motor
(13)G103
(14)Knock Sensor (KS)
(15)Engine Coolant Temperature (ECT) Sensor
Figure 2:

Front Harness Routing


Object Number: 1225481  Size: LF
(1)Wheel Speed Sensor - Right Front
(2)Brake Pressure Modulator Valve
(3)EVAP Canister Purge Solenoid Valve
(4)C101
(5)C205
(6)C202
(7)C206
(8)Wheel Speed Sensor - Left Front
(9)C102
(10)Headlamp - Left
(11)Horn
(12)G101
(13)Fog Lamp - Left Front
(14)Cooling Fan
(15)Hood Ajar Switch
(16)Electronic Brake Control Module (EBCM)
(17)Refrigerant Pressure Switch
(18)Fog Lamp - Right Front
(19)Power Steering Pressure Switch
(20)G102
(21)Headlamp - Right
Figure 3:

Engine Harness Routing - Sirius D3


Object Number: 1225482  Size: LF
(1)Camshaft Position (CMP) Sensor
(2)Throttle Position (TP) Sensor
(3)Ignition Coil Module
(4)Idle Air Control (IAC) Valve
(5)Battery B+ Cable
(6)To Engine Control Module (ECM)
(7)Backup Lamp Switch
(8)Crankshaft Position (CKP) Sensor
(9)Oxygen Sensor (O2S)
(10)Exhaust Gas Recirculation (EGR) Valve
(11)Injector 1, 2, 3
(12)Generator
(13)Generator B+
(14)Starter Motor
(15)G103
(16)Knock Sensor (KS)
(17)Engine Coolant Temperature (ECT) Sensor
Figure 4:

Engine Harness Routing--Fenix


Object Number: 1225484  Size: LF
(1)Idle Air Control (IAC) Valve
(2)Exhaust Gas Recirculation (EGR) Solenoid
(3)Throttle Position (TP) Sensor
(4)Intake Air Temperature (IAT) Sensor
(5)Camshaft Position (CMP) Sensor
(6)To Engine Control Module (ECM)
(7)Backup Lamp Switch
(8)Oxygen Sensor (O2S)
(9)Engine Coolant Temperature (ECT) Sensor
(10)Knock Sensor (KS)
(11)Generator B+
(12)G103
Figure 5:

Instrument Harness Routing


Object Number: 1225485  Size: LF
(1)G201
(2)C201
(3)C205
(4)C206
(5)C204
(6)C203
(7)Front or Rear Fog Lamp Switch
(8)Instrument Cluster Connector
(9)Windshield Wiper Switch
(10)Head Lamp Switch
(11)Headlamp Leveling Switch
(12)Ignition Switch
(13)Theft Deterrent Control Module
(14)Stop Lamp Switch
(15)Remote Control Door Lock Receiver
(16)C208
(17)Cigar Lighter
(18)Radio
(19)Evaporator Temperature Sensor
(20)Blower Motor Resistor
(21)Blower Motor
(22)Data Link Connector (DLC)
(23)Door Lock Relay
(24)Rear Defogger Switch
(25)Blower Motor Switch
(26)Security Indicator
(27)Hazard Switch
(28)Instrument Panel (IP) Fuse Block and Relays
Figure 6:

Instrument Harness Routing - Right Hand Drive (RHD)


Object Number: 1225486  Size: LF
(1)C201
(2)G201
(3)Instrument Panel (IP) Fuse Block and Relays
(4)Front or Rear Fog Lamp Switch
(5)Hazard Switch
(6)Security Indicator
(7)Blower Motor Switch
(8)Rear Defogger Switch
(9)C203
(10)C205
(11)Data Link Connector (DLC)
(12)Blower Motor
(13)Blower Motor Resistor
(14)Evaporator Temperature Sensor
(15)Cigar Lighter
(16)Radio
(17)C208
(18)Stop Lamp Switch
(19)Ignition Switch
(20)Dimmer Control Switch
(21)Headlamp Leveling Switch
(22)C204
(23)C202
(24)Headlamp Switch
(25)Wiper Switch
(26)Instrument Cluster Connector
Figure 7:

Airbag Harness Routing


Object Number: 1225489  Size: LF
(1)Inflatable Restraint IP Module
(2)Data Link Connector (DLC)
(3)C208
(4)Inflatable Restraint Sensing and Diagnostic Module (SDM)
(5)G302
(6)Inflatable Restraint Steering Wheel Module Coil
Figure 8:

Body Harness Routing (1 of 2)


Object Number: 1225491  Size: LF
(1)Door Ajar Switch - Passenger
(2)C381
(3)Wheel Speed Sensor - Right Rear
(4)Speaker - Right Rear
(5)Tail Lamp - Right
(6)G402
(7)Fuel Pump/Sender
(8)Wheel Speed Sensor - Left Rear
(9)C371
(10)Door Ajar Switch - Driver
(11)Seat Belt Switch
(12)C351
(13)C352 - Left Hand Drive (LHD)
(14)Park Brake Switch
(15)G301
(16)C362 - Right Hand Drive (RHD)
(17)C361
Figure 9:

Body Harness Routing (2 of 2)


Object Number: 1225493  Size: LF
(1)C201
(2)C204
(3)C205
(4)C206
(5)Speaker - Left Rear
(6)C401
(7)C402
(8)G401
(9)C415, C416 Similar
(10)C203
(11)C202
Figure 10:

Front Door Harness Routing


Object Number: 1225497  Size: LF
(1)Window Motor
(2)Outside Rearview Mirror Switch
(3)C351 - LHD, C361 - RHD, C362 - RHD
(4)Speaker - Front
(5)Door Latch - Front
Figure 11:

Rear Door Harness Routing


Object Number: 1225498  Size: LF
(1)Window Switch
(2)C371 - LH, C381 - RH
(3)Door Latch - Rear
Figure 12:

Tailgate Harness Routing


Object Number: 1225474  Size: LF
(1)G402
(2)Rear Defogger Connector C1
(3)CHMSL
(4)Rear Wiper Motor
(5)License Lamp
(6)C403
(7)C401
(8)G404
(9)G403