GM Service Manual Online
For 1990-2009 cars only
Table 1: C101 Engine Harness to Front Harness (0.8L)
Table 2: C101 Engine Harness to Front Harness (1.0L)
Table 3: C102 Engine Harness to Front Harness (0.8L) (Sirius-D3)
Table 4: C102 Engine Harness to Front Harness (0.8L) (Fenix)
Table 5: C102 Engine Harness to Front Harness (1.0L)
Table 6: C103 Engine Harness to Battery Harness (1.0L)
Table 7: C201 IP Harness to Body Harness
Table 8: C202 Front Harness to Body Harness
Table 9: C203 I/P Harness to Body Harness
Table 10: C204 I/P Harness to Engine Harness
Table 11: C205 I/P Harness to Front Harness
Table 12: C206 Front Harness to IP Harness
Table 13: C207 Front Harness to IP Harness
Table 14: C208 SIR Harness to IP Harness
Table 15: C351 - Left Front Door Harness to Body Harness (LHD)
Table 16: C351 - Left Front Door Harness to Body Harness (RHD)
Table 17: C352 - Left Front Door Harness to Body Harness (LHD)
Table 18: C361 - Right Front Door Harness to Body Harness (LHD)
Table 19: C361 - Right Front Door Harness to Body Harness (RHD)
Table 20: C362 - Right Front Door Harness to Body Harness (RHD)
Table 21: C371 - Left Rear Door Harness to Body Harness (w/o Power Windows)
Table 22: C381 - Right Rear Door Harness to Body Harness (w/o Power Windows)
Table 23: C401 - Body Harness to Liftgate Harness
Table 24: C402 - Body Harness to Liftgate Harness
Table 25: C403 - Body Harness to Liftgate Harness
Table 26: C405 - Tailgate Harness to License Lamp Jumper
Table 27: C415 - Body to Left Tail Lamp Jumper Harness
Table 28: C416 - Body to Right Tail Lamp Jumper Harness

C101 Engine Harness to Front Harness (0.8L)


Object Number: 1468436  Size: CH

Object Number: 1468428  Size: CH

Connector Part Information

    • KUM PB 625-12027
    • 12-Way F NMWP12F-B Ass'y (BK)

Connector Part Information

    • KUM PB 621-12020
    • 12-Way M NMWP12M-B Ass'y (BK)

Pin

Wire Color

Circuit Number

Function

Pin

Wire Color

Circuit Number

Function

1

BN/ D-GN

833

Right Front Wheel Speed Sensor Return (w/ ABS)

1

BN/D-GN

833

Right Front Wheel Speed Sensor Return (w/ ABS)

GY/YE

866

Rough Road Signal (w/o ABS)

GY/YE

866

Rough Road Signal (w/o ABS)

2

OG

240

Battery Positive Voltage

2

OG

240

Battery Positive Voltage

3

OG/BK

1733

Ignition 1 Voltage

3

OG/BK

1733

Ignition 1 Voltage

4

D-BU/GY

473

High Speed Cooling Fan Relay Control

4

D-BU/GY

473

High Speed Cooling Fan Relay Control

5

D-GN/WH

459

A/C Compressor Clutch Relay Control

5

D-GN/WH

459

A/C Compressor Clutch Relay Control

6

D-BU

1346

Headlamp Supply Voltage/Headlamp Control

6

D-BU

1346

Headlamp Supply Voltage/Headlamp Control

7

D-GN/RD

1672

Heated Oxygen Sensor (HO2S) 2 Signal (Euro Emissions)

7

D-GN/RD

1672

Heated Oxygen Sensor (HO2S) 2 Signal (Euro Emissions)

8

RD/YE

39

Ignition 1 Voltage

8

RD/YE

39

Ignition 1 Voltage

9

GY/BK

1798

Ground

9

GY/BK

1798

Ground

10

D-GN/BK

335

Low Speed Cooling Fan Relay Control

10

D-GN/BK

335

Low Speed Cooling Fan Relay Control

11

OG/BK

495

Power Steering Pressure Sensor Signal

11

OG/BK

495

Power Steering Pressure Sensor Signal

12

--

--

Not Used

12

--

--

Not Used

C101 Engine Harness to Front Harness (1.0L)


Object Number: 1468436  Size: CH

Object Number: 1468428  Size: CH

Connector Part Information

    • KUM PB 625-12027
    • 12-Way F NMWP12F-B Ass'y (BK)

Connector Part Information

    • KUM PB 621-12020
    • 12-Way M NMWP12M-B Ass'y (BK)

Pin

Wire Color

Circuit Number

Function

Pin

Wire Color

Circuit Number

Function

1

D-GN/BK

1799

Fuel Pump Relay Signal

1

D-GN/BK

1799

Fuel Pump Relay Signal

2

OG

240

Battery Positive Voltage

2

OG

240

Battery Positive Voltage

3

OG/BK

1733

Ignition 1 Voltage

3

OG/BK

1733

Ignition 1 Voltage

4

D-BU/GY

473

High Speed Cooling Fan Relay Control

4

D-BU/GY

473

High Speed Cooling Fan Relay Control

5

D-GN/WH

459

A/C Compressor Clutch Relay Control

5

D-GN/WH

459

A/C Compressor Clutch Relay Control

6

D-BU

1346

Headlamp Supply Voltage/Headlamp Control

6

D-BU

1346

Headlamp Supply Voltage/Headlamp Control

7

D-GN/GY

24

Backup Lamp Supply Voltage

7

D-GN/GY

24

Backup Lamp Supply Voltage

8

RD/YE

39

Ignition 1 Voltage

8

RD/YE

39

Ignition 1 Voltage

9

GY/BK

1798

Ground

9

GY/BK

1798

Ground

10

D-GN/BK

335

Low Speed Cooling Fan Relay Control

10

D-GN/BK

335

Low Speed Cooling Fan Relay Control

11

OG/BK

495

Power Steering Pressure Sensor Signal

11

OG/BK

495

Power Steering Pressure Sensor Signal

12

D-GN/WH

428

EVAP Canister Purge Solenoid Control

12

D-GN/WH

428

EVAP Canister Purge Solenoid Control

C102 Engine Harness to Front Harness (0.8L) (Sirius-D3)


Object Number: 1468437  Size: CH

Object Number: 1468429  Size: CH

Connector Part Information

    • KUM PB 625-10027
    • 10-Way F NMWP10F-B Ass'y (BK)

Connector Part Information

    • KUM PB 621-10020
    • 10-Way M NMWP10M-B Ass'y (BK)

Pin

Wire Color

Circuit Number

Function

Pin

Wire Color

Circuit Number

Function

1

YE/BK

414

Heated Oxygen Sensor (HO2S) 2 - Heater Element - Feed (Euro Emissions)

1

YE/BK

414

Heated Oxygen Sensor (HO2S) 2 - Heater Element - Feed (Euro Emissions)

2

GN/WH

428

EVAP Canister Purge Solenoid Control

2

GN/WH

428

EVAP Canister Purge Solenoid Control

3

D-GN/BK

872

Right Front Wheel Speed Sensor Signal

3

D-GN/BK

872

Right Front Wheel Speed Sensor Signal

4

OG/BK

649

Low Reference

4

OG/BK

649

Low Reference

5

D-GN/RD

1733

Ignition 1 Voltage

5

D-GN/RD

1733

Ignition 1 Voltage

6

D-GN/GY

24

Backup Lamp Supply Voltage

6

D-GN/GY

24

Backup Lamp Supply Voltage

7

D-GN/BK

1799

Fuel Pump Relay Signal

7

D-GN/BK

1799

Fuel Pump Relay Signal

8

D-GN/GY

432

Manifold Absolute Pressure (MAP) Sensor Signal

8

D-GN/GY

432

Manifold Absolute Pressure (MAP) Sensor Signal

9

RD/ D-BU

1687

5 Volt Reference

9

RD/ D-BU

1687

5 Volt Reference

10

D-GN/YE

1752

Fuel Gage Voltage

10

D-GN/YE

1752

Fuel Gage Voltage

C102 Engine Harness to Front Harness (0.8L) (Fenix)


Object Number: 1468437  Size: CH

Object Number: 1468429  Size: CH

Connector Part Information

    • KUM PB 625-10027
    • 10-Way F NMWP10F-B Ass'y (BK)

Connector Part Information

    • KUM PB 621-10020
    • 10-Way M NMWP10M-B Ass'y (BK)

Pin

Wire Color

Circuit Number

Function

Pin

Wire Color

Circuit Number

Function

1

BK/WH

1739

Ignition 1 Voltage

1

BK/WH

1739

Ignition 1 Voltage (w/ Automatic Transmission)

2

D-GN/WH

428

EVAP Canister Purge Solenoid Control

2

D-GN/WH

428

EVAP Canister Purge Solenoid Control

3

BK/WH

951

Ground

3

BK/WH

951

Ground

4

OG/BK

469

Low Reference

4

OG/BK

469

Low Reference

5

RD/WH

812

A/C Compressor Clutch Supply Voltage

5

D-GN/WH

459

A/C Compressor Clutch Supply Voltage (w/ Automatic Transmission)

6

D-GN/GY

24

Backup Lamp Supply Voltage

6

D-GN/GY

24

Backup Lamp Supply Voltage

7

D-GN/BK

1848

Ground

7

D-GN/BK

1848

Ground

8

D-GN/GY

432

Manifold Absolute Pressure (MAP) Sensor Signal

8

D-GN/GY

432

Manifold Absolute Pressure (MAP) Sensor Signal

9

D-BU/RD

1688

5 Volt Reference

9

D-BU/RD

1688

5 Volt Reference

10

PK/D-BU

941

Transmission Control Module (TCM) Warning Lamp Control

10

PK/D-BU

941

Transmission Control Module (TCM) Warning Lamp Control (w/ Automatic Transmission)

C102 Engine Harness to Front Harness (1.0L)


Object Number: 1468437  Size: CH

Object Number: 1468429  Size: CH

Connector Part Information

    • KUM PB 625-10027
    • 10-Way F NMWP10F-B Ass'y(BK)
 
    • KUM PB 621-10020
    • 10-Way M NMWP10M-B Ass'y (BK)

Pin

Wire Color

Circuit Number

Function

Pin

Wire Color

Circuit Number

Function

1

OG/BK

414

Heated Oxygen Sensor (HO2S) 2 - Heater Element - Feed (Euro Emissions)

1

OG/BK

414

Heated Oxygen Sensor (HO2S) 2 - Heater Element - Feed (Euro Emissions)

2

BN/ D-GN

833

Right Front Wheel Speed Sensor Signal

2

BN/ D-GN

833

Right Front Wheel Speed Sensor Signal

3

BN/YE

632

Low Reference

3

BN/YE

632

Low Reference

4

--

--

Not Used

4

--

--

Not Used

5

D-GN/RD

1753

Fuel Gage Signal

5

D-GN/RD

1753

Fuel Gage Signal

6

D-GN/RD

1672

Heated Oxygen Sensor (HO2S) 2 Signal (Euro Emissions)

6

D-GN/RD

1672

Heated Oxygen Sensor (HO2S) 2 Signal (Euro Emissions)

7

GY/YE

886

ABS Main Valve Relay Signal

7

GY/YE

886

ABS Main Valve Relay Signal

8-9

--

--

Not Used

8-9

--

--

Not Used

10

D-GN/YE

1752

Low Reference

10

D-GN/YE

1752

Low Reference

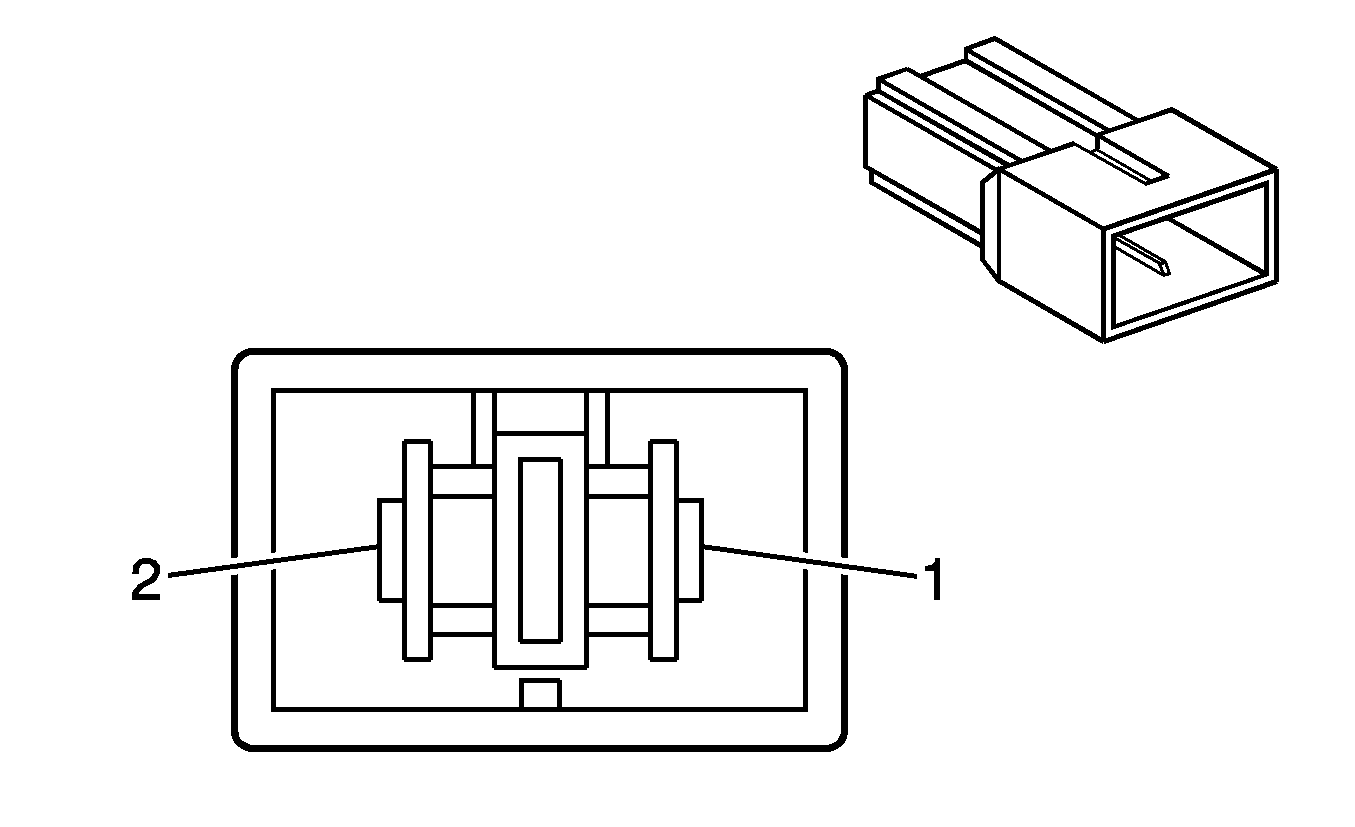
C103 Engine Harness to Battery Harness (1.0L)


Object Number: 1468439  Size: CH

Object Number: 1468438  Size: CH

Connector Part Information

    • KET MG 641107
    • 6-Way F 090-II WP (BK)

Connector Part Information

    • KET MG 651104
    • 6-Way M 090-II WP (BK)

Pin

Wire Color

Circuit Number

Function

Pin

Wire Color

Circuit Number

Function

1

BK

750

Ground

1

BK

750

Ground

2

BK

750

Ground

2

BK

750

Ground

3

WH

25

Charging Indicator Control

3

WH

25

Charging Indicator Control

4

YE/BK

6

Starter Voltage

4

YE/BK

6

Starter Voltage

5

BN/D-GN

31

Oil Pressure Indicator Control

5

BN/D-GN

31

Oil Pressure Indicator Control

6

RD/YE

39

Ignition 1 Voltage

6

RD/YE

39

Ignition 1 Voltage

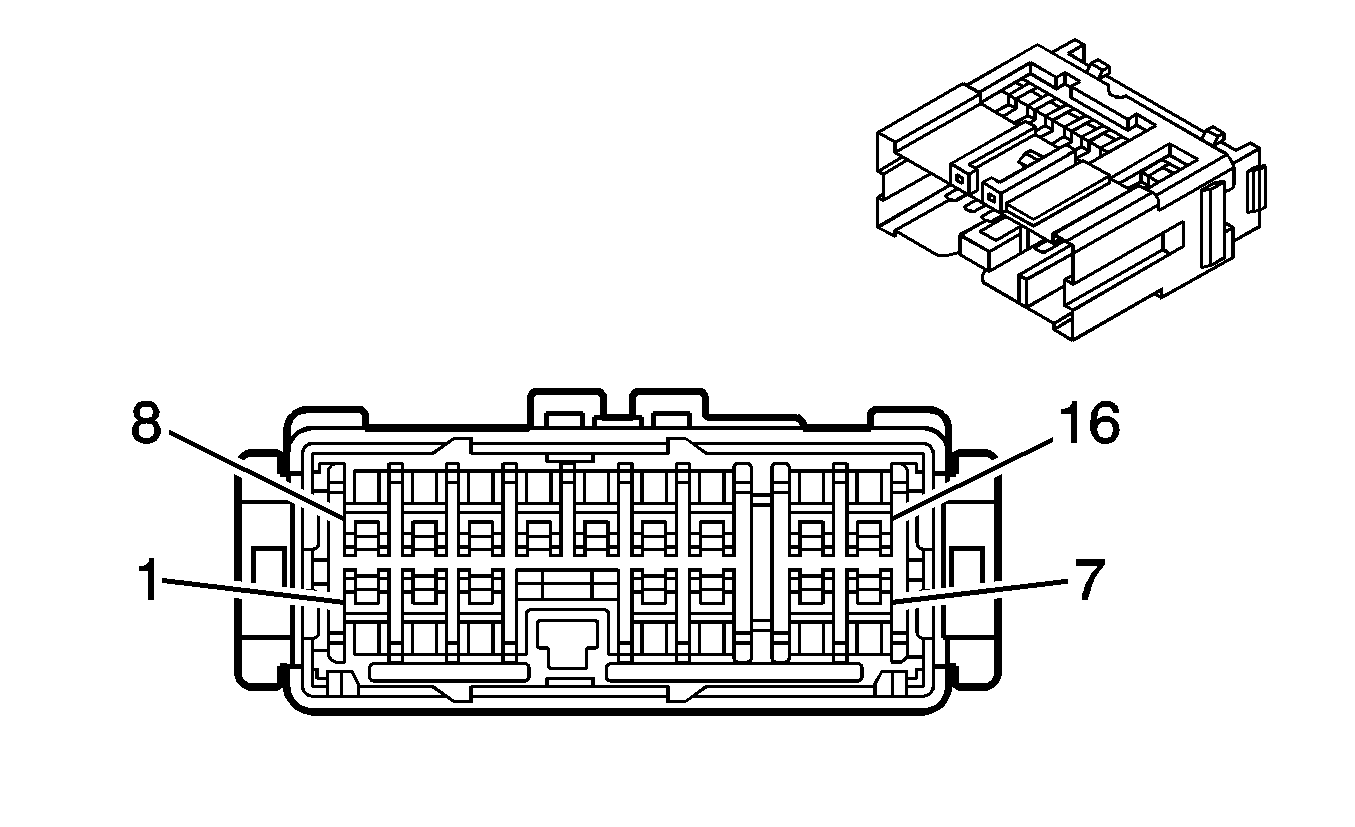
C201 IP Harness to Body Harness


Object Number: 1468423  Size: CH

Object Number: 1506609  Size: CH

Connector Part Information

    • Molex 35284-1615
    • 16-Way F Uniconn Female Ass'y-16P (BN)

Connector Part Information

    • Molex 35282-1615
    • 16-Way M Uniconn Female Ass'y-16P (BN)

Pin

Wire Color

Circuit Number

Function

Pin

Wire Color

Circuit Number

Function

1

BN/ D-GN

294

Door Lock Actuator Unlock Control (w/ RKE)

1

BN/ D-GN

294

Door Lock Actuator Unlock Control (w/ RKE)

2

D-GN/GY

200

Right Front Speaker Output (+)

2

D-GN/GY

200

Right Front Speaker Output (+)

3

BN/ D-GN

201

Left Front Speaker Output (+)

3

BN/ D-GN

201

Left Front Speaker Output (+)

4

D-BU/GY

46

Right Rear Speaker Output (+)

4

D-BU/GY

46

Right Rear Speaker Output (+)

5

BN

199

Left Rear Speaker Output (+)

5

BN

199

Left Rear Speaker Output (+)

6

WH

393

Rear Window Wiper Motor - Feed (w/ Rear Wiper)

6

WH

393

Rear Window Wiper Motor - Feed (w/ Rear Wiper)

7

D-BU

195

Door Lock Control (w/ RKE)

7

D-BU

195

Door Lock Control (w/ RKE)

8

PK/BK

1303

Liftgate Ajar Switch Signal (w/ RKE)

8

PK/BK

1303

Liftgate Ajar Switch Signal (w/ RKE)

9

D-GN/BK

117

Speaker - Return - Right Front

9

D-GN/BK

117

Speaker - Return - Right Front

10

GY

118

Left Front Speaker Output (-)

10

GY

118

Left Front Speaker Output (-)

11

RD/YE

439

Ignition 1 Voltage

11

RD/YE

439

Ignition 1 Voltage

12

YE

20

Stop Lamp Supply Voltage/Stop Lamp Switch Signal

12

YE

20

Stop Lamp Supply Voltage/Stop Lamp Switch Signal

13

D-BU

115

Right Rear Speaker Output (-)

13

D-BU

115

Right Rear Speaker Output (-)

14

YE

116

Left Rear Speaker Output (-)

14

YE

116

Left Rear Speaker Output (-)

15

RD

122

Rear Fog Lamp Supply Voltage (w/ Rear Fog Lamp)

15

RD

122

Rear Fog Lamp Supply Voltage (w/ Rear Fog Lamp)

16

WH

194

Door Unlock Control (w/ RKE)

16

WH

194

Door Unlock Control (w/ RKE)

C202 Front Harness to Body Harness


Object Number: 1467001  Size: CH

Object Number: 1468426  Size: CH

Connector Part Information

    • AMP 85113-1
    • 15-Way F 070/250 Series Hybrid 15P Plug Hsg (BK)

Connector Part Information

    • AMP 85114-2
    • 15-Way M .070/.250 Hybrid 15P CAP HSG (BK)

Pin

Wire Color

Circuit Number

Function

Pin

Wire Color

Circuit Number

Function

1

RD/BK

1735

Fuel Tank Sender Signal (Euro Emissions)

1

RD/BK

1735

Fuel Tank Sender Signal (Euro Emissions)

2

BN

882

Right Rear Wheel Speed Sensor Signal (w/ ABS)

2

BN

882

Right Rear Wheel Speed Sensor Signal (w/ ABS)

3

D-BU

14

Left Turn Signal Lamps Supply Voltage

3

D-BU

14

Left Turn Signal Lamps Supply Voltage

4

D-BU/YE

15

Right Turn Signal Lamps Supply Voltage

4

D-BU/YE

15

Right Turn Signal Lamps Supply Voltage

5

BN/WH

309

Right Park Lamp Supply Voltage

5

BN/WH

309

Right Park Lamp Supply Voltage

6

PU

709

Left Park Lamp Supply Voltage

6

PU

709

Left Park Lamp Supply Voltage

7

BK

884

Left Rear Wheel Speed Sensor Signal (w/ ABS)

7

BK

884

Left Rear Wheel Speed Sensor Signal (w/ ABS)

8

YE/BK

414

Heated Oxygen Sensor (HO2S) 2 - Heater Element - Feed (Euro Emissions)

8

YE/BK

414

Heated Oxygen Sensor (HO2S) 2 - Heater Element - Feed (Euro Emissions)

9

D-GN/YE

1752

Battery Positive Voltage (Euro Emissions)

9

D-GN/YE

1752

Battery Positive Voltage (Euro Emissions)

10

WH

883

Right Rear Wheel Speed Sensor Return (w/ ABS)

10

WH

883

Right Rear Wheel Speed Sensor Return (w/ ABS)

11

OG/BK

1733

Ignition 1 Voltage

11

OG/BK

1733

Ignition 1 Voltage

12

D-GN/RD

1672

HO2S Low Signal (Euro Emissions)

12

D-GN/RD

1672

HO2S Low Signal (Euro Emissions)

D-BU/RD

956

TCM Warning Lamp Control (Automatic Transmission)

D-BU/RD

956

TCM Warning Lamp Control (Automatic Transmission)

13

D-GN/GY

24

Backup Lamp Supply Voltage (Manual Transmission)

13

D-GN/GY

24

Backup Lamp Supply Voltage (Manual Transmission)

14

RD

885

Left Rear Wheel Speed Sensor Return (w/ ABS)

14

RD

885

Left Rear Wheel Speed Sensor Return (w/ ABS)

15

D-GN/RD

1753

Fuel Gage Signal (Euro Emissions)

15

D-GN/RD

1753

Fuel Gage Signal (Euro Emissions)

C203 I/P Harness to Body Harness


Object Number: 1467001  Size: CH

Object Number: 1468426  Size: CH

Connector Part Information

    • AMP 85113-1
    • 15-Way F 070/250 Series Hybrid 15P Plug Hsg (WH)

Connector Part Information

    • AMP 85114-1
    • 15-Way M .070/.250 Hybrid 15P CAP HSG (WH)

Pin

Wire Color

Circuit No.

Function

Pin

Wire Color

Circuit No.

Function

1

BN

275

Park Neutral Position Switch Signal (PNP) (Automatic Transmission) (0.8L)

1

BN

275

Park Neutral Position Switch Signal (PNP) (Automatic Transmission) (0.8L)

2

OG

739

Ignition 1 Voltage

2

OG

739

Ignition 1 Voltage

3

YE

234

Seat Belt Indicator Control

3

YE

234

Seat Belt Indicator Control

4

WH

156

Courtesy Lamp Control

4

WH

156

Right Speaker Output (-)

WH

156

Courtesy Lamp Control (w/ RKE)

5

WH

172

Low Fuel Indicator Control (1.0L)

5

WH

172

Low Fuel Indicator Control

RD

172

Low Fuel Indicator Control (0.8L)

6

BN/YE

33

Brake Warning Indicator Control

6

BN/YE

33

Brake Warning Indicator Control

7

BN/WH

309

Right Park Lamp Supply Voltage

7

BN/WH

309

Right Park Lamp Supply Voltage

8

WH/BK

159

Chime Bell

8

WH/BK

159

Chime Bell

9

RD/YE

139

Ignition 1 Voltage (Automatic Tranmission)

9

RD/YE

139

Ignition 1 Voltage (Automatic Tranmission)

10

OG

540

Battery Positive Voltage

10

OG

540

Battery Positive Voltage

OG

540

Battery Positive Voltage

11

PU

293

Rear Defog Element Supply Voltage (w/ Rear Defog)

11

PU

293

Rear Defog Element Supply Voltage (w/ Rear Defog)

12

BN

41

Ignition 3 Voltage

12

BN

41

Ignition 3 Voltage

13

OG

740

Battery Positive Voltage (w/o RKE)

13

OG

740

Battery Positive Voltage (w/o RKE)

14

PU

30

Fuel Level Sensor Signal (Non Euro Emissions)

14

PU

30

Fuel Level Sensor Signal (Non Euro Emissions)

WH/YE

1670

Heated Oxygen Sensor (HO2S) 2 High Signal (Euro Emissions)

WH/YE

1670

Heated Oxygen Sensor (HO2S) 2 High Signal (Euro Emissions)

15

D-BU

276

Park Position Switch Signal (1.0L Automatic Transmission)

15

D-BU

276

Park Position Switch Signal (1.0L Automatic Transmission)

C204 I/P Harness to Engine Harness


Object Number: 1468440  Size: CH

Object Number: 1468398  Size: CH

Connector Part Information

    • KET MG 651006
    • 16-Way F Hybrid Connector (WH)

Connector Part Information

    • KET MG 641007
    • 16-Way M Hybrid Connector (WH)

Pin

Wire Color

Circuit No.

Function

Pin

Wire Color

Circuit No.

Function

1

BN/D-GN

31

Oil Pressure Indicator Control

1

BN/D-GN

31

Oil Pressure Indicator Control

2

OG/BK

1061

Serial Data

2

OG/BK

1061

Serial Data

3

BN/WH

419

Malfunction Indicator (MIL) Control

3

BN/WH

419

Malfunction Indicator (MIL) Control

4

WH

25

Charge Indicator Control/ Charge Indicator Signal

4

WH

25

Charge Indicator Control/ Charge Indicator Signal

5

D-GN/BK

135

Engine Coolant Temperature Sensor Gauge Signal

5

D-GN/BK

135

Engine Coolant Temperature Sensor Gauge Signal

6

D-GN/OG

987

Serial Data

6

D-GN/OG

987

Serial Data

7

D-BU/RD

956

Overdrive Off-Switch (Automatic Tranmission) (Euro Emissions)

7

D-BU/RD

956

Overdrive Off-Switch (Automatic Tranmission) (Euro Emissions)

PU

30

Fuel Level Sensor Signal

PU

30

Fuel Level Sensor Signal

YE

43

Accessory Voltage (Non-Euro Emissions 1.0L)

YE

43

Accessory Voltage (Non-Euro Emissions 1.0L)

8

YE/BK

6

Starter Solenoid Crank Voltage

8

YE/BK

6

Starter Solenoid Crank Voltage

9

YE

43

Accessory Voltage (Euro Emissions)

9

YE

43

Accessory Voltage (Euro Emissions)

YE/D-BU

983

Overspeed Warning Signal (Non-Euro Emissions)

YE/D-BU

983

Overspeed Warning Signal (Non-Euro Emissions)

10

D-BU/GY

732

A/C Refrigerant High Temperature Sensor Signal (w/ A/C)

10

D-BU/GY

732

A/C Refrigerant High Temperature Sensor Signal (w/ A/C)

11

BN

437

Vehicle Speed Signal (Except 0.8L Euro Emissions)

11

BN

437

Vehicle Speed Signal (Except 0.8L Euro Emissions)

12

D-GN/WH

762

A/C Request Signal (w A/C)

12

D-GN/WH

762

A/C Request Signal (w A/C)

13

WH/YE

1670

Heated Oxygen Sensor (HO2S) 2 High Signal (Euro Emissions)

13

WH/YE

1670

Heated Oxygen Sensor (HO2S) 2 High Signal (Euro Emissions)

PU

952

Serial Data (Automatic Transmission)

PU

952

Serial Data (Automatic Transmission)

14

RD/YE

439

Ignition 1 Voltage

14

RD/YE

439

Ignition 1 Voltage

15

D-BU/YE

774

Serial Data

15

D-BU/YE

774

Serial Data

16

OG/BK

414

Low Reference (1.0L)

16

OG/BK

414

Low Reference (1.0L)

OG/BK

469

Low Reference (0.8L) (Non-Euro w/ A/C)

OG/BK

469

Low Reference (0.8L) (Non-Euro w/ A/C)

OG/BK

425

Low Reference (0.8L) (Euro w/ A/C)

OG/BK

425

Low Reference (0.8L) (Euro w/ A/C)

C205 I/P Harness to Front Harness


Object Number: 1468423  Size: CH

Object Number: 1506609  Size: CH

Connector Part Information

    • MOLEX 35284-1610
    • 16-Way F Uniconn Female Ass'y-16P (WH)

Connector Part Information

    • MOLEX 35282-1610
    • 16-Way M Uniconn Housing, Male, 16 Circuits (WH)

Pin

Wire Color

Circuit No.

Function

Pin

Wire Color

Circuit No.

Function

1

OG/BK

1733

Ignition 1 Voltage

1

OG/BK

1733

Ignition 1 Voltage

2

BN/D-GN

12

Headlamp Low Beam Supply Voltage

2

BN/D-GN

12

Headlamp Low Beam Supply Voltage

3

D-GN/BK

189

Headlamp Leveling Motor Supply Voltage (w/ Headlamp Leveling)

3

D-GN/BK

189

Headlamp Leveling Motor Supply Voltage (w/ Headlamp Leveling)

4

PU

92

Windshield Wiper Motor High Speed

4

PU

92

Windshield Wiper Motor High Speed

5

BN

441

Ignition 3 Voltage

5

BN

441

Ignition 3 Voltage

6

RD/YE

94

Windshield Wiper Switch 1 (w/o Intermittent Wipers)

6

RD/YE

94

Windshield Wiper Switch 1

7

YE

19

Headlamp Switch Park Lamps Signal (w/ Fog Lamps)

7

YE

19

Headlamp Switch Park Lamps Signal (w/ Fog Lamps)

8

D-GN/GY

11

Headlamp High Beam Supply Voltage

8

D-GN/GY

11

Headlamp High Beam Supply Voltage

9

D-BU

1346

Headlamp Supply Voltage/ Headlamp Control

9

D-BU

1346

Headlamp Supply Voltage/ Headlamp Control

10

OG/BK

840

Battery Positive Voltage (w/ Fog Lamps)

10

OG/BK

840

Battery Positive Voltage (0.8L)

OG/BK

840

Battery Positive Voltage (1.0L) (w/ Daytime Running Lamp (DRL) on Front Fog Lamps)

11

OG

340

Battery Positive Voltage

11

OG

340

Battery Positive Voltage

12

D-GN/BK

95

Windshield Washer Switch Signal

12

D-GN/BK

95

Windshield Washer Switch Signal

D-BU

97

Windshield Washer Switch Signal (w/o Intermittent)

13

YE

96

Windshield Wiper Switch Pulse Delay Signal (w/ Intermittent Wipers)

13

YE

96

Windshield Wiper Switch Pulse Delay Signal

14

D-GN/BK

392

Rear Window Washer Motor - Feed

14

D-GN

392

Rear Window Washer Motor - Feed

15

YE

20

Stop Lamp Supply Voltage

15

YE

20

Stop Lamp Supply Voltage (w/ ABS)

16

WH

810

Serial Data (Except Non-Euro 0.8L)

16

D-BU/YE

774

Serial Data (Except Non-Euro 0.8L)

C206 Front Harness to IP Harness


Object Number: 1467001  Size: CH

Object Number: 1468426  Size: CH

Connector Part Information

    • AMP 85113-5
    • 15-Way F 070/250 Series Hybrid 15P Plug Hsg (BU)

Connector Part Information

    • AMP 85114-5
    • 15-Way M 070/250 Series Hybrid 15P Plug Hsg (BU)

Pin

Wire Color

Circuit Number

Function

Pin

Wire Color

Circuit Number

Function

1

PU

209

Low Brake Fluid Indicator Control

1

PU

209

Low Brake Fluid Indicator Control

2

WH/D-BU

1080

Park Lamp Relay Control

2

WH/D-BU

1080

Park Lamp Relay Control

WH/D-BU

1080

Park Lamp Relay Control (w/ Daytime Running Lamp (DRL))

3

WH

352

Headlamp Relay Coil Supply Voltage

3

WH

352

Headlamp Relay Coil Supply Voltage

4

WH/BK

28

Horn Relay Control (w/ SIR)

4

WH/BK

28

Horn Relay Control (w/ SIR)

D-GN/BK

29

Horn Control (w/o SIR)

D-GN/BK

29

Horn Control (w/o SIR)

5

PU

709

Left Park Lamp Supply Voltage

5

PU

709

Left Park Lamp Supply Voltage (w/ Headlamp Leveling)

6

D-BU/YE

15

Right Turn Signal Lamps Supply Voltage

6

D-BU/YE

15

Right Turn Signal Lamps Supply Voltage

7

D-BU

14

Left Turn Signal Lamps Supply Voltage

7

D-BU

14

Left Turn Signal Lamps Supply Voltage

8

D-GN/GY

867

ABS Indicator Failure Control (w/ ABS)

8

D-GN/GY

867

ABS Indicator Failure Control

9

PK/D-BU

941

Diagnostic Enable (Automatic Transmission)

9

PK/D-BU

941

Diagnostic Enable (Automatic Transmission)

10

D-BU/RD

956

TCM Warning Lamp Control (Automatic Transmission)

10

D-BU/RD

956

TCM Warning Lamp Control (Automatic Transmission)

11

BN

141

Ignition 3 Voltage

11

BN

141

Ignition 3 Voltage (w/ A/C)

12

--

--

Not Used

12

--

--

Not Used

13

BN/RD

143

Accessory Voltage

13

BN/RD

143

Accessory Voltage (w/ Rear Defogger)

14

RD/D-BU

109

Hood Ajar Switch Signal (w/ RKE)

14

RD/D-BU

109

Hood Ajar Switch Signal (w/ RKE and Immobilizer)

15

YE/RD

261

Theft Deterrent Alarm Signal (w/ RKE)

15

YE/RD

261

Theft Deterrent Alarm Signal (w/ RKE)

C207 Front Harness to IP Harness


Object Number: 1468411  Size: CH

Object Number: 1506610  Size: CH

Connector Part Information

    • KET MG 610281
    • 2-Way F 312 Connector (WH)

Connector Part Information

    • KET MG 620282
    • 2-Way M 312 Connector (WH)

Pin

Wire Color

Circuit Number

Function

Pin

Wire Color

Circuit Number

Function

1

RD/YE

3

Ignition 1 Voltage

1

RD/YE

3

Ignition 1 Voltage

2

RD

142

Battery Positive Voltage

2

RD

142

Battery Positive Voltage

C208 SIR Harness to IP Harness


Object Number: 1467039  Size: CH

Object Number: 1467065  Size: CH

Connector Part Information

    • KET MG 610396
    • 4-Way F SDL Series (WH)

Connector Part Information

    • KET MG 620397
    • 4-Way M SDL Series (WH)

Pin

Wire Color

Circuit Number

Function

Pin

Wire Color

Circuit Number

Function

1

--

--

Not Used

1

--

--

Not Used

2

RD/YE

239

Ignition 1 Voltage

2

RD/YE

239

Ignition 1 Voltage (w/ SIR)

3

BN

358

Air Bag Indicator Control

3

BN

358

Air Bag Indicator Control (w/ SIR)

4

BN/D-GN

800

Serial Data

4

BN/D-GN

800

Serial Data (w/ SIR)

C351 - Left Front Door Harness to Body Harness (LHD)


Object Number: 1467121  Size: CH

Object Number: 1468441  Size: CH

Connector Part Information

    • KET MG 651056
    • 10-Way F 090-II Series (WH)

Connector Part Information

    • KET MG 641059
    • 10-Way M 090-II Connector (WH)

Pin

Wire Color

Circuit Number

Function

Pin

Wire Color

Circuit Number

Function

1-2

--

--

Not Used

1

--

--

Not Used

3

BN/BK

167

Power Window Master Switch Right Front Down Signal (w/ Power Window)

3

BN/BK

167

Power Window Master Switch Right Front Down Signal (w/ Power Window)

4

BN

41

Ignition 3 Voltage (w/ Power Window)

4

BN

41

Ignition 3 Voltage (w/ Power Window)

5

D-GN/RD

90

Passenger Mirror Motor Left/Down Control (w/ Power Mirrors)

5

D-GN/RD

90

Passenger Mirror Motor Left/Down Control (w/ Power Mirrors)

6-8

--

--

Not Used

6-8

--

--

Not Used

9

L-BU

166

Power Window Master Switch Passenger Front Up Signal (w/ Power Window)

9

L-BU

166

Power Window Master Switch Passenger Front Up Signal (w/ Power Window)

10

BK

650

Ground (w/ Power Window)

10

BK

650

Ground (w/ Power Window)

C351 - Left Front Door Harness to Body Harness (RHD)


Object Number: 1467121  Size: CH

Object Number: 1468441  Size: CH

Connector Part Information

    • KET MG 651056
    • 10-Way F 090-II Series (WH)

Connector Part Information

    • KET MG 641059
    • 10-Way M 090-II Connector (WH)

Pin

Wire Color

Circuit Number

Function

Pin

Wire Color

Circuit Number

Function

1

BN/BK

167

Power Window Master Switch Right Front Down Signal (w/ Power Window)

1

BN/BK

167

Power Window Master Switch Right Front Down Signal (w/ Power Window)

2

D-GN/RD

90

Passenger Mirror Motor Left/Down Control (w/ Power Mirrors)

2

D-GN/RD

90

Passenger Mirror Motor Left/Down Control (w/ Power Mirrors)

3

BN

1307

Power Window Master Switch Lockout Signal (w/ Power Windows)

3

D-BU

41

Ignition 3 Voltage (w/ Power Windows)

4

BU/YE

195

Door Lock Control (w/ RKE)

4

D-BU/YE

195

Door Lock Control (w/ RKE)

5

L-BU

166

Power Window Master Switch Right Front Up Signal (w/ Power Window)

5

L-BU

166

Power Window Master Switch Right Front Up Signal (w/ Power Window)

6

RD/WH

881

Passenger Mirror Motor Right Control (w/ Power Mirrors)

6

RD/WH

881

Passenger Mirror Motor Right Control (w/ Power Mirrors)

7

D-GN/GY

200

Left Front Speaker Output (+)

7

D-GN/GY

200

Left Front Speaker Output (+)

8

D-GN/BK

117

Left Front Speaker Output (-)

8

D-GN/BK

117

Left Front Speaker Output (-)

9

PU/WH

889

Passenger Mirror Motor Down Control (w/ Power Mirrors)

9

PU/WH

889

Passenger Mirror Motor Down Control (w/ Power Mirrors)

10

WH

194

Door Unlock Control (w/ RKE)

10

WH

194

Door Unlock Control (w/ RKE)

C352 - Left Front Door Harness to Body Harness (LHD)


Object Number: 1468399  Size: CH

Object Number: 1467097  Size: CH

Connector Part Information

    • KET MG 651350
    • 11-Way F 090-II Connector (WH)

Connector Part Information

    • KET MG 641353
    • 11-Way M 090-II Series (WH)

Pin

Wire Color

Circuit Number

Function

Pin

Wire Color

Circuit Number

Function

1

OG/BK

739

Ignition 1 Voltage (w/ Power Mirrors)

1

OG

739

Ignition 1 Voltage (w/ Power Mirrors)

2

BN/D-GN

294

Door Lock Actuator Unlock Control (w/ RKE)

2

BN/D-GN

294

Door Lock Actuator Unlock Control (w/ RKE)

3

OG

740

Battery Positive Voltage (w/ Power Locks)

3

OG

740

Battery Positive Voltage (w/ Power Locks)

4

D-BU

195

Door Lock Control (w/ Power Locks or RKE)

4

D-BU/YE

195

Door Lock Control (w/ RKE)

5

BK

650

Ground (w/ Power Mirrors)

5

BK

650

Ground (w/ Power Mirrors)

6

RD/WH

881

Passenger Mirror Motor Right Control (w/ Power Mirrors)

6

RD/WH

881

Passenger Mirror Motor Right Control (w/ Power Mirrors)

7

BK

650

Ground (w/ Power Locks or RKE)

7

BK

650

Ground (w/ Power Locks or RKE)

8

BN/D-GN

201

Left Front Speaker Output (+)

8

BN/D-GN

201

Left Front Speaker Output (+)

9

GY

118

Left Front Speaker Output (-)

9

GY

118

Left Front Speaker Output (-)

10

PU/WH

889

Passenger Mirror Motor Down Control (w/ Power Mirrors)

10

PU/WH

889

Passenger Mirror Motor Down Control (w/ Power Mirrors)

11

WH

194

Door Unlock Control (w/ Power Locks or RKE)

11

WH

194

Door Unlock Control (w/ Power Locks or RKE)

C361 - Right Front Door Harness to Body Harness (LHD)


Object Number: 1467121  Size: CH

Object Number: 1468441  Size: CH

Connector Part Information

    • KET MG 651056
    • 10-Way F 090-II Series (WH)

Connector Part Information

    • KET MG 641059
    • 10-Way M 090-II Connector (WH)

Pin

Wire Color

Circuit Number

Function

Pin

Wire Color

Circuit Number

Function

1

BN/BK

167

Power Window Master Switch Right Front Down Signal (w/ Power Windows)

1

BN/BK

167

Power Window Master Switch Right Front Down Signal (w/ Power Windows)

2

D-GN/RD

90

Passenger Mirror Motor Left/Down Control (w/ Power Mirror)

2

D-GN/RD

90

Passenger Mirror Motor Left/Down Control (w/ Power Mirror)

3

D-BU

1307

Power Window Master Switch Lockout Signal (w/ Power Windows)

3

BN

41

Ignition 3 Voltage

4

D-BU/YE

195

Door Lock Control (w/ Power Locks or RKE)

4

D-BU/YE

195

Door Lock Control (w/ Power Locks or RKE)

5

L-BU

166

Power Window Master Switch Right Front Up Signal (w/ Power Windows)

5

L-BU

166

Power Window Master Switch Right Front Up Signal (w/ Power Windows)

6

RD/WH

881

Passenger Mirror Motor Right Control (w/ Power Mirror)

6

RD/WH

881

Passenger Mirror Motor Right Control (w/ Power Mirror)

7

D-GN/GY

200

Right Front Speaker Output (+)

7

D-GN/GY

200

Right Front Speaker Output (+)

8

D-GN/BK

117

Right Front Speaker Output (-)

8

D-GN/BK

117

Right Front Speaker Output (-)

9

PU/WH

889

Passenger Mirror Motor Down Control (w/ Power Mirror)

9

PU/WH

889

Passenger Mirror Motor Down Control (w/ Power Mirror)

10

WH

194

Door Unlock Control (w/ Power Locks or RKE)

10

WH

194

Door Unlock Control (w/ Power Locks or RKE)

C361 - Right Front Door Harness to Body Harness (RHD)


Object Number: 1467121  Size: CH

Object Number: 1468441  Size: CH

Connector Part Information

    • KET MG 651056
    • 10-Way F 090-II Series (WH)

Connector Part Information

    • KET MG 641059
    • 10-Way M 090-II Connector (WH)

Pin

Wire Color

Circuit Number

Function

Pin

Wire Color

Circuit Number

Function

1-2

--

--

Not Used

1-2

--

--

Not Used

3

BN/BK

167

Power Window Master Switch Right Front Down Signal (w/ Power Windows)

3

BN/BK

167

Power Window Master Switch Right Front Down Signal (w/ Power Windows)

4

BN

41

Ignition 3 Voltage (w/ Power Windows)

4

BN

41

Ignition 3 Voltage (w/ Power Windows)

5

D-GN/RD

90

Passenger Mirror Motor Left/Down Control (w/ Power Mirrors)

5

D-GN/RD

90

Passenger Mirror Motor Left/Down Control (w/ Power Mirrors)

6-8

--

--

Not Used

6-8

--

--

Not Used

9

L-BU

166

Power Window Master Switch Passenger Front Up Signal (w/ Power Windows)

9

L-BU

166

Power Window Master Switch Passenger Front Up Signal (w/ Power Windows)

10

BK

650

Ground (w/ Power Windows)

10

BK

650

Ground (w/ Power Windows)

C362 - Right Front Door Harness to Body Harness (RHD)


Object Number: 1468399  Size: CH

Object Number: 1467097  Size: CH

Connector Part Information

    • KET MG 651350
    • 11-Way F 090-II Connector(WH)

Connector Part Information

    • KET MG 641353
    • 10-Way M 090-II Series (WH)

Pin

Wire Color

Circuit Number

Function

Pin

Wire Color

Circuit Number

Function

1

OG/BK

739

Ignition 1 Voltage (w/ Power Mirrors)

1

OG/BK

739

Ignition 1 Voltage (w/ Power Mirrors)

2

BN/D-GN

294

Door Lock Actuator Unlock Control (w/ RKE)

2

BN/D-GN

294

Door Lock Actuator Unlock Control (w/ RKE)

3

OG

740

Battery Positive Voltage (w/ Power Locks)

3

OG

740

Battery Positive Voltage (w/ Power Locks)

4

D-BU

195

Door Lock Control (w/ Power Locks or RKE)

4

D-BU

195

Door Lock Control (w/ Power Locks or RKE)

5

BK

650

Ground (w/ Power Mirrors)

5

BK

650

Ground (w/ Power Mirrors)

6

RD/WH

881

Passenger Mirror Motor Right Control (w/ Power Mirrors)

6

RD/WH

881

Passenger Mirror Motor Right Control (w/ Power Mirrors)

7

BK

650

Ground (w/ Power Locks or RKE)

7

BK

650

Ground (w/ Power Locks or RKE)

8

BN/D-GN

201

Right Front Speaker Output (+)

8

BN/D-GN

201

Right Front Speaker Output (+)

9

GY

118

Right Front Speaker Output (-)

9

GY

118

Right Front Speaker Output (-)

10

PU/WH

889

Passenger Mirror Motor Down Control (w/ Power Mirrors)

10

PU/WH

889

Passenger Mirror Motor Down Control (w/ Power Mirrors)

11

WH

194

Door Unlock Control (w/ Power Locks or RKE)

11

WH

194

Door Unlock Control (w/ Power Locks or RKE)

C371 - Left Rear Door Harness to Body Harness (w/o Power Windows)


Object Number: 1467020  Size: CH

Object Number: 1468403  Size: CH

Connector Part Information

    • KET MG 610070
    • 2-Way F 090 (2.3mm) Series (WH)

Connector Part Information

    • KET MG 620074
    • 2-Way M 090 Connector (2.3mm) (WH)

Pin

Wire Color

Circuit Number

Function

Pin

Wire Color

Circuit Number

Function

1

D-BU/YE

195

Door Lock Control (w/ RKE)

1

D-BU/YE

195

Door Lock Control (w/ RKE)

2

WH

194

Door Unlock Control (w/ RKE)

2

WH

194

Door Unlock Control (w/ RKE)

C381 - Right Rear Door Harness to Body Harness (w/o Power Windows)


Object Number: 1467020  Size: CH

Object Number: 1468403  Size: CH

Connector Part Information

    • KET MG 610070
    • 2-Way F 090 (2.3mm) Series (WH)

Connector Part Information

    • KET MG 620074
    • 2-Way M 090 Connector (2.3mm) (WH)

Pin

Wire Color

Circuit Number

Function

Pin

Wire Color

Circuit Number

Function

1

D-BU/YE

195

Door Lock Control (w/ RKE)

1

D-BU/YE

195

Door Lock Control (w/ RKE)

2

WH

194

Door Unlock Control (w/ RKE)

2

WH

194

Door Unlock Control (w/ RKE)

C401 - Body Harness to Liftgate Harness


Object Number: 1468400  Size: CH

Object Number: 1468401  Size: CH

Connector Part Information

    • KET MG 610209
    • 3-Way F 118 (PA) Series (WH)

Connector Part Information

    • KET MG 620210
    • 3-Way M 118 (PA) Series (WH)

Pin

Wire Color

Circuit Number

Function

Pin

Wire Color

Circuit Number

Function

1

BK

850

Ground

1

BK

550

Ground

2

YE

20

Stop Lamp Supply Voltage

2

YE

20

Stop Lamp Supply Voltage

3

PU

293

Rear Defog Element Supply Voltage (w/ Rear Defogger)

3

PU

293

Rear Defog Element Supply Voltage (w/ Rear Defogger)

C402 - Body Harness to Liftgate Harness


Object Number: 1468409  Size: CH

Object Number: 1467061  Size: CH

Connector Part Information

    • KET MG 610159
    • 4-Way F 090 Connector (2.3mm) (WH)

Connector Part Information

    • KET MG 620160
    • 4-Way M 090 (2.3mm) Series (WH)

Pin

Wire Color

Circuit Number

Function

Pin

Wire Color

Circuit Number

Function

1

PU

709

Left Park Lamp Supply Voltage

1

PU

709

Left Park Lamp Supply Voltage

2

WH

393

Rear Window Washer Pump Control (w/ Rear Washer Wiper)

2

WH

393

Rear Window Wiper Control

3

RD/YE

439

Ignition 1 Voltage (w/ Rear Washer Wiper)

3

RD/YE

439

Ignition 1 Voltage

4

PK/BK

1303

Liftgate Ajar Switch Signal

4

PK/BK

1303

Liftgate Ajar Switch Signal

C403 - Body Harness to Liftgate Harness


Object Number: 1509179  Size: CH

Object Number: 1506613  Size: CH

Connector Part Information

    • KET ST 730018-1
    • 1-Way F 250 Series Connector (WH)

Connector Part Information

    • KET ST 750036
    • 1-Way M Connector (WH)

Pin

Wire Color

Circuit Number

Function

Pin

Wire Color

Circuit Number

Function

1

PU

293

Rear Defog Element Supply Voltage (w/ Rear Window Defogger)

1

BK

293

Rear Defog Element Supply Voltage

C405 - Tailgate Harness to License Lamp Jumper


Object Number: 1467020  Size: CH

Object Number: 1468403  Size: CH

Connector Part Information

    • KET MG 610070
    • 2-Way F 090 (2.3mm) Series (WH)

Connector Part Information

    • KET MG 620074
    • 2-Way M 090 Connector (2.3mm)

Pin

Wire Color

Circuit Number

Function

Pin

Wire Color

Circuit Number

Function

1

BK

850

Ground

1

BK

850

Ground

2

WH

709

Left Park Lamp Supply Voltage

2

BN/WH

709

Left Park Lamp Supply Voltage

C415 - Body to Left Tail Lamp Jumper Harness


Object Number: 1467021  Size: CH

Object Number: 1501859  Size: CH

Connector Part Information

    • KET MG 610152
    • 6-Way F 090 (2.3mm) Series (WH)

Connector Part Information

    • KET MG 620153
    • 6-Way M 090 Connector (WH)

Pin

Wire Color

Circuit Number

Function

Pin

Wire Color

Circuit Number

Function

1

BK/WH

550

Ground

1

BK

550

Ground

BK/WH

550

Ground

2

BK

550

Ground

2

BK

550

Ground

BK

550

Ground

3

YE

20

Stop Lamp

3

YE

20

Stop Lamp

YE

20

Stop Lamp

4

BN

709

Park Lamp

4

PU

709

Park Lamp

BN

709

Park Lamp

PU

709

Park Lamp

5

D-BU

14

Turn Signal

5

D-BU

14

Turn Signal

6

RD

24

Fog Lamp

6

RD

24

Fog Lamp

C416 - Body to Right Tail Lamp Jumper Harness


Object Number: 1467021  Size: CH

Object Number: 1501859  Size: CH

Connector Part Information

    • KET MG 610152
    • 6-Way F 090 (2.3mm) Series (WH)

Connector Part Information

    • KET MG 620153
    • 6-Way M 090 Connector (WH)

Pin

Wire Color

Circuit Number

Function

Pin

Wire Color

Circuit Number

Function

1

BK/WH

950

Ground

1

BK

950

Ground

BK/WH

950

Ground

2

BK

950

Ground

2

BK

950

Ground

BK

950

Ground

3

YE

20

Stop Lamp

3

YE

20

Stop Lamp

4

BN

309

Park Lamp

4

BN/WH

709

Park Lamp

BN

309

Park Lamp

5

D-BU

15

Turn Signal

5

D-BU/GY

15

Turn Signal

6

RD

24

Backup Lamp

6

D-GN/GY

24

Backup Lamp