GM Service Manual Online
For 1990-2009 cars only

Tools Required

CH 46486 (DW310-020) Power Steering Pulley Remove Holder

Removal Procedure


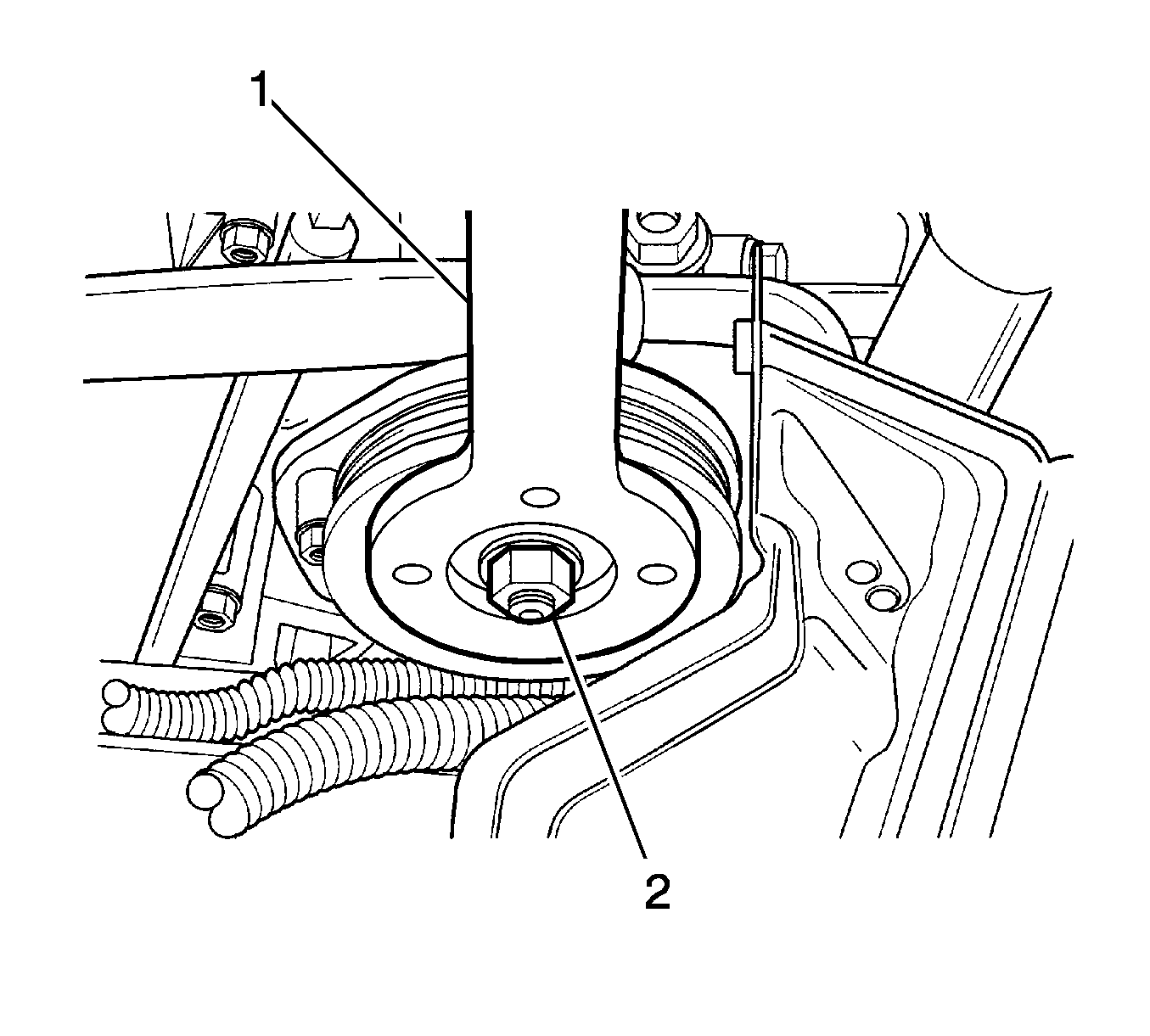
    Object Number: 1225413  Size: SH
  1. Remove the front passenger side headlamp. Refer to Headlamp Replacement in Lighting Systems.
  2. Remove the pump drive belt. Refer to Power Steering Pump Belt Replacement .
  3. Hold the pulley with the CH 46486 .
  4. Remove the pump drive pulley nut (2).
  5. Remove the washer, if equipped.
  6. Remove the steering pump pulley.

Installation Procedure


    Object Number: 1225418  Size: SH
  1. Install the pump drive pulley.
  2. Hold the pulley with the CH 46486 .
  3. Install the washer, if equipped.
  4. Notice: Refer to Fastener Notice in the Preface section.

  5. Install the steering pump pulley nut (2).
  6. Tighten
    Tighten the steering pump pulley nut to 55-69 N·m (41-51 lb ft).

  7. Install the pump drive belt. Refer to Power Steering Pump Belt Replacement .
  8. Install the front passenger side headlamp. Refer to Headlamp Replacement .