Notice: Refer to Fuel Pressure Notice in the Preface section.
Notice:
• Use care when servicing the fuel system components, especially
the fuel injector electrical connectors, the fuel injector tips, and
the injector O-rings. Plug the inlet and the outlet ports of the fuel rail
in order to prevent contamination. • Do not use compressed air to clean the fuel rail assembly as this
may damage the fuel rail components. • Do not immerse the fuel rail assembly in a solvent bath in order
to prevent damage to the fuel rail assembly.
Important: Different fuel injectors are calibrated for different flow rates. When ordering new fuel injectors, be certain to order the identical part number that is inscribed on the old fuel injector.
Caution: Refer to Safety Goggles and Fuel Caution in the Preface section.
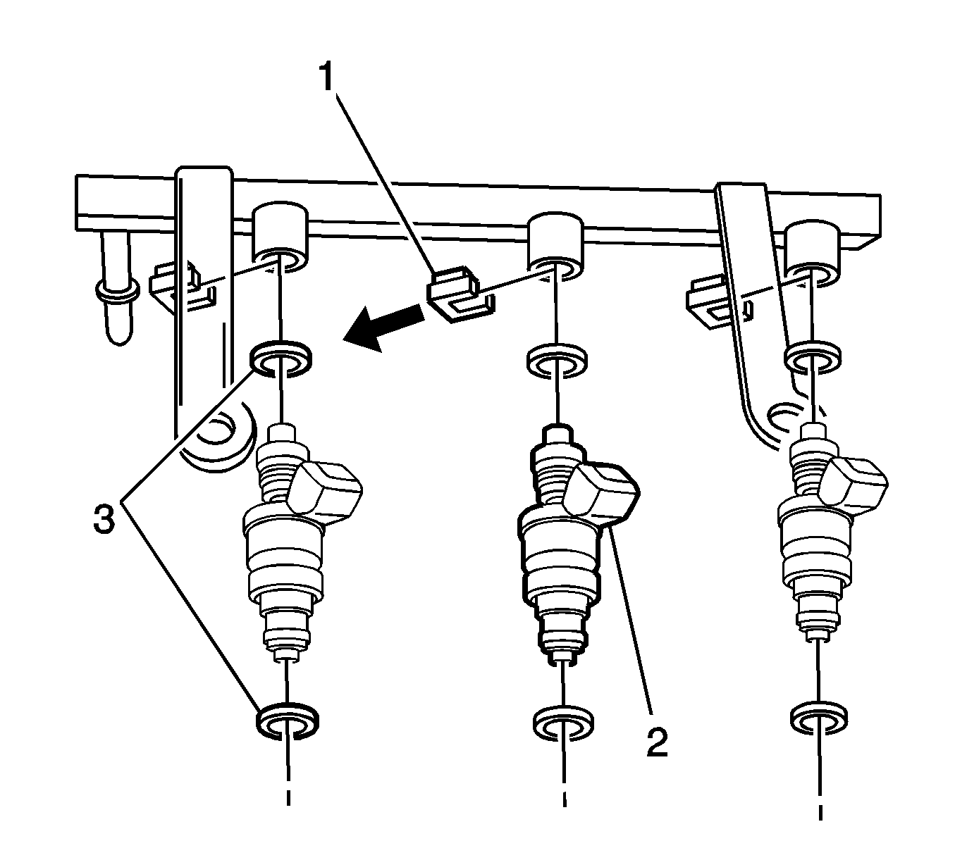
Important: If a fuel injector becomes separated from the fuel rail and remains in the cylinder head, replace the fuel injector O-ring seals and the retaining clip.
Notice: Refer to Fastener Notice in the Preface section.
Tighten
Tighten the fuel rail retaining bolts to 18-22 N·m (13-16 lb ft).