|
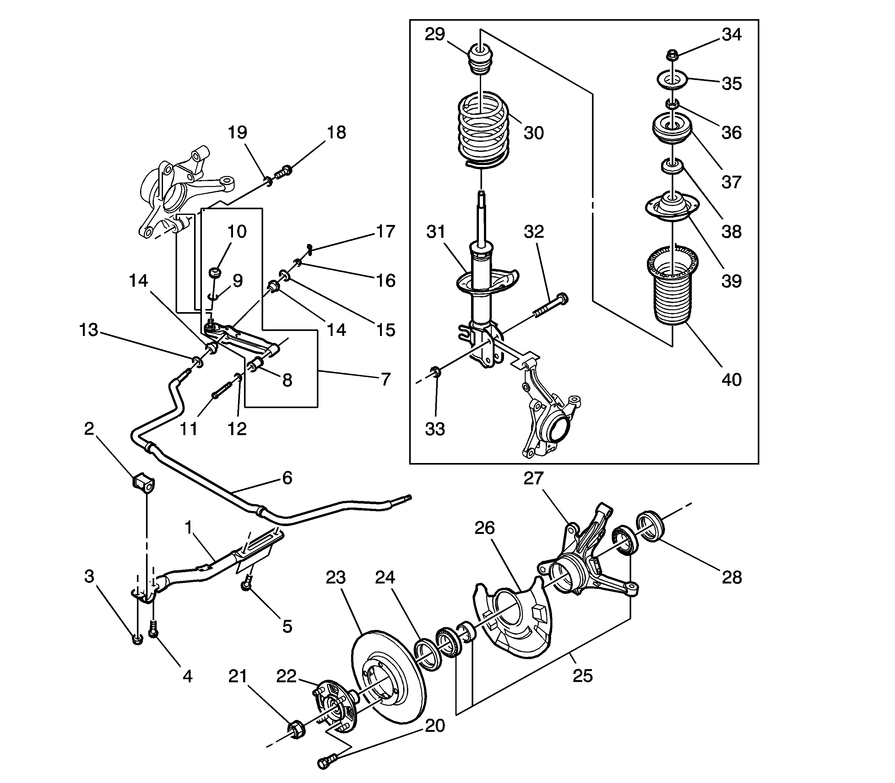
| (1) | Front Under Longitudinal Member |
| (2) | Stabilizer Shaft Mount |
| (3) | Nut |
| (4) | Bolt |
| (5) | Bolt |
| (6) | Stabilizer Shaft |
| (7) | Control Arm Assembly |
| (8) | Control Arm Bushing |
| (9) | Clip |
| (10) | Tie Rod End Boot |
| (11) | Bolt |
| (12) | Washer |
| (13) | Washer |
| (14) | Stabilizer Shaft Bushing |
| (15) | Washer |
| (16) | Castellated Nut |
| (17) | Cotter Pin |
| (18) | Control Arm Ball Stud Bolt |
| (19) | Washer |
| (20) | Hub Bolt |
| (21) | Drive Axle-to-Hub Caulking Nut |
| (22) | Wheel Hub |
| (23) | Rotor |
| (24) | Outer Bearing Oil Seal |
| (25) | Hub Bearing Set |
| (26) | Dust Cover |
| (27) | Steering Knuckle |
| (28) | Inner Bearing Oil Seal |
| (29) | Bumper Stopper |
| (30) | Coil Spring |
| (31) | Strut |
| (32) | Knuckle Bolt |
| (33) | Knuckle Nut |
| (34) | Strut Rebound Stopper Nut |
| (35) | Strut Rebound Stopper |
| (36) | Strut Nut |
| (37) | Strut Mount |
| (38) | Strut Mount Seat |
| (39) | Coil Spring Upper Seat |
| (40) | Coil Spring Upper Insulator |