GM Service Manual Online
For 1990-2009 cars only
Makes
🢒
Pontiac
🢒
2006
🢒
Matiz
🢒
Suspension
🢒
Tires and Wheels
🢒 Rear Wheel Bearing and Hub Replacement
Tools Required
•
J 8092
Universal Driver Handle - 3/4 in. - 10
•
CH 46566
Rear Wheel Bearing Race Installer
Disassembly Procedure
Remove the rear brake drum. Refer to
Brake Drum Replacement
.
Remove the outer tapered roller bearing (1).
Remove the oil seal (1).
Remove the inner tapered roller bearing (2).
Remove the inner bearing race from the brake drum (1).
Remove the outer bearing race from the brake drum (1).
Assembly Procedure
Important:
Use a new bearing.
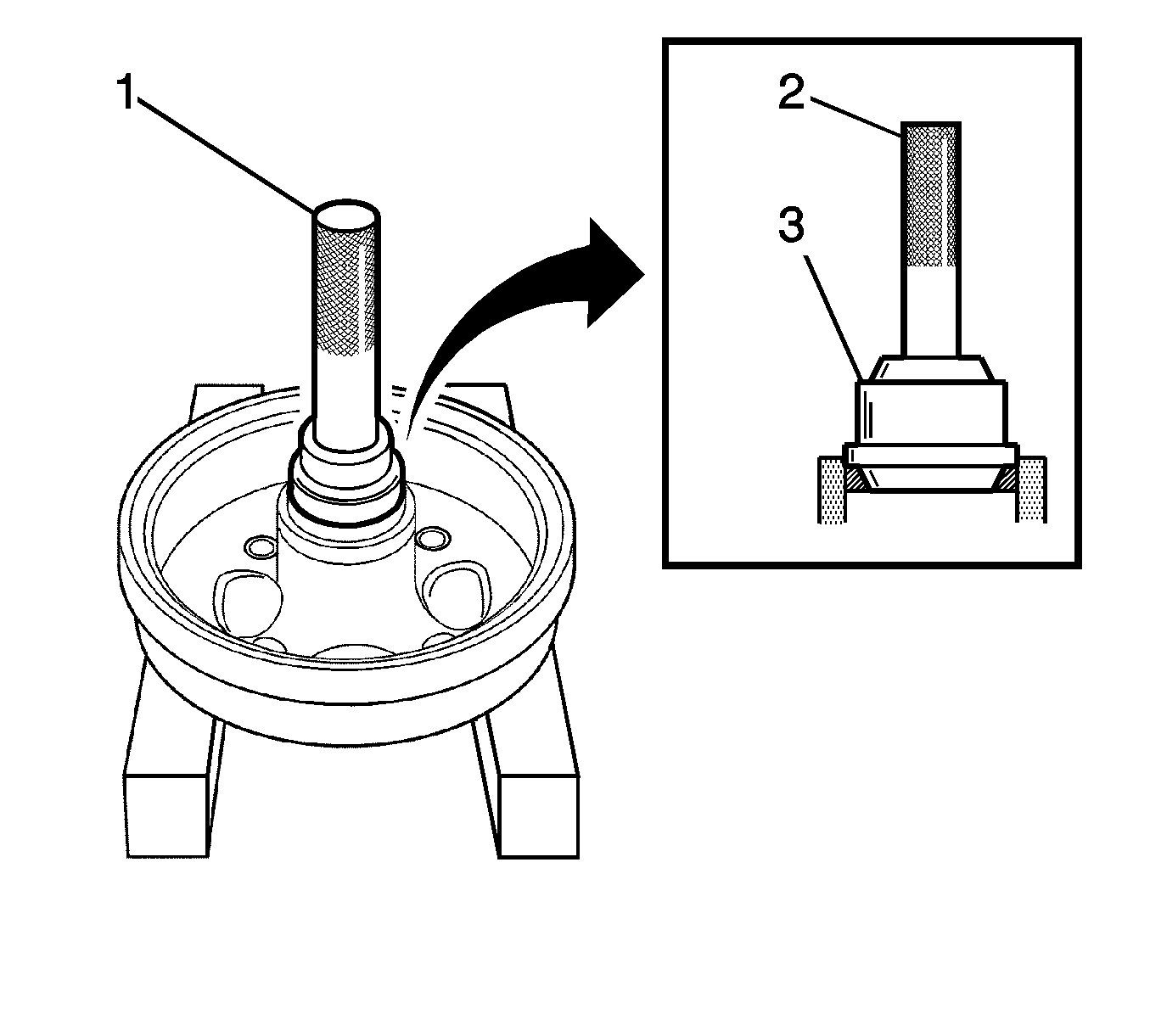
Press the inner bearing race into the brake drum using
J 8092
(1) and
CH 46566
(3).
Press the outer bearing race into the brake drum using
J 8092
(1) and
CH 46566
(3).
Apply wheel bearing lubricant to the wheel bearing and to the ring seal lip.
Install the inner wheel bearing (2) into the brake drum.
Install the oil seal (1) into the brake drum.
Install the outer wheel bearing (1) into the brake drum.
Install the brake drum. Refer to
Brake Drum Replacement
.
Inspect the end play and free load of the bearing. Refer to
Bearings Inspection
.
Lower the vehicle.