GM Service Manual Online
For 1990-2009 cars only

Radiator Support

Important: The number of spot welds needed in each location is shown in illustration.


Object Number: 1257325  Size: LF

Wheelhouse Panel

Important: The number of spot welds needed in each location is shown in illustration.


Object Number: 1257326  Size: LF

Tie Bar

Important: The number of spot welds needed in each location is shown in illustration.


Object Number: 1257327  Size: MF

Front Compartment Rail

Important: The number of spot welds needed in each location is shown in illustration.


Object Number: 1257328  Size: LF

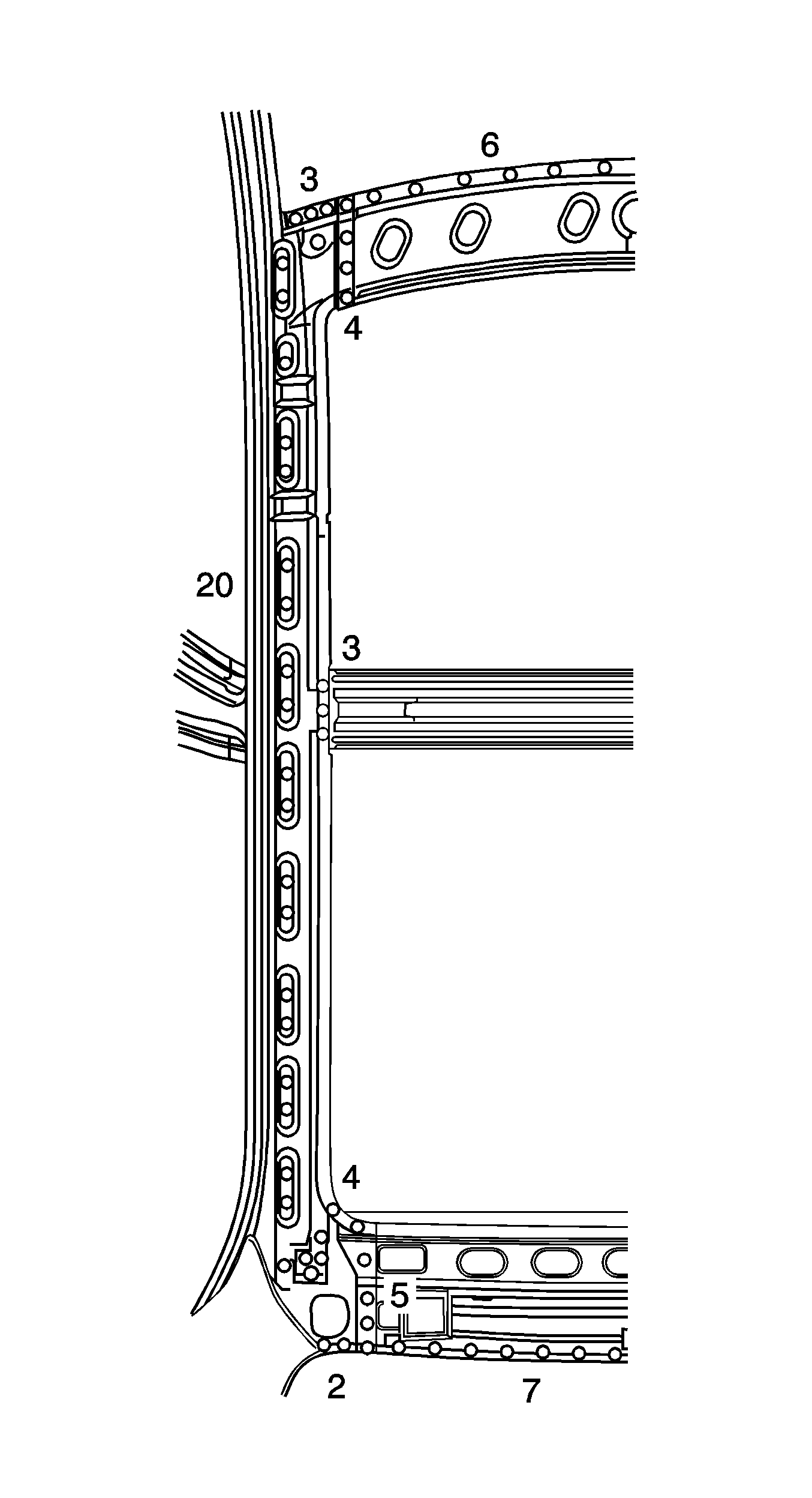
Hing Pillar Body - Sectioning (Front)

Important: The number of spot welds needed in each location is shown in illustration.


Object Number: 1257329  Size: LF

Roof Panel - Outer

Important: The number of spot welds needed in each location is shown in illustration.


Object Number: 1257330  Size: LH

Body Rear End Panel

Important: The number of spot welds needed in each location is shown in illustration.


Object Number: 1257331  Size: MF

Compartment Floor Panel Sectioning

Important: The number of spot welds needed in each location is shown in illustration.


Object Number: 1257332  Size: MF

Pillar Lock Front Door Sectioning - Outer

Important: The number of spot welds needed in each location is shown in illustration.


Object Number: 1257314  Size: LF

Quarter Panel Sectioning - Outer Sedan

Important: The number of spot welds needed in each location is shown in illustration.


Object Number: 1257315  Size: LF