GM Service Manual Online
For 1990-2009 cars only
Connector 1: C105 Engine Harness to Injector Harness
Connector 2: C201 Floor Harness to I/P Harness
Connector 3: C202 Engine Harness to I/P Harness (0.8L LHD)
Connector 4: C202 I/P Harness to Engine Harness (0.8L RHD)
Connector 5: C202 Engine Harness to I/P Harness (1.0L M/T LHD)
Connector 6: C202 Engine Harness to I/P Harness (1.0L M/T RHD)
Connector 7: C203 I/P Harness to Air Bag Harness
Connector 8: C204 Front Harness to I/P Harness (LHD)
Connector 9: C204 Front Harness to I/P Harness (RHD)
Connector 10: C208 Roof Harness to I/P Harness
Connector 11: C301 Floor Harness to Front Harness
Connector 12: C351 I/P Harness to Driver Front Door Harness
Connector 13: C352 Floor Harness to Driver Front Door Harness
Connector 14: C361 I/P Harness to Passenger Front Door Harness
Connector 15: C371 Floor Harness to Left Rear Door Harness (w/o Rear Power Windows)
Connector 16: C371 Floor Harness to Left Rear Door Harness (w/Rear Power Windows)
Connector 17: C381 Floor Harness to Right Rear Door Harness (w/o Rear Power Windows)
Connector 18: C381 Floor Harness to Right Rear Door Harness (w/Rear Power Windows)
Connector 19: C401 Liftgate Harness to Floor Harness

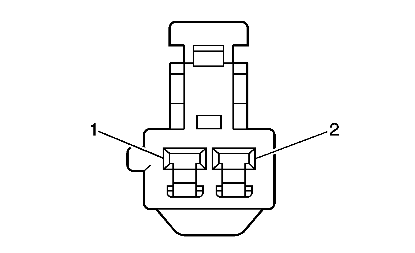
C105 Engine Harness to Injector Harness


Object Number: 1661103  Size: CH

Object Number: 1661444  Size: CH

Connector Part Information

  • OEM: MG610339-5
  • Service: N/A
  • Description: 8-Way F 070 SWP Series (BK)

Connector Part Information

  • OEM: MG640341
  • Service: N/A
  • Description: 8-Way M (BK)

C105 Engine Harness to Injector Harness

Pin

Wire

Circuit

Function

Pin

Wire

Circuit

Function

1

--

--

Not Used

1

--

--

Not Used

2

OG/BK

1733

Main Voltage Relay

2

OG/BK

1733

Main Voltage Relay

3-4

--

--

Not Used

3-4

--

--

Not Used

5

L-BU/BK

844

Fuel Injector 4 Control

5

L-BU/BK

844

Fuel Injector 4 Control

6

PK/BK

1746

Fuel Injector 3 Control

6

PK/BK

1746

Fuel Injector 3 Control

7

L-GN/BK

1745

Fuel Injector 2 Control

7

L-GN/BK

1745

Fuel Injector 2 Control

8

BN

1744

Fuel Injector 1 Control

8

BN

1744

Fuel Injector 1 Control

C201 Floor Harness to I/P Harness


Object Number: 1661107  Size: CH

Object Number: 1661105  Size: CH

Connector Part Information

  • OEM: 936098-1
  • Service: N/A
  • Description: 26-Way F 090 III Series (NA)

Connector Part Information

  • OEM: 936133-1
  • Service: N/A
  • Description: 26-Way M 090 III Series (NA)

C201 Floor Harness to I/P Harness

Pin

Wire

Circuit

Function

Pin

Wire

Circuit

Function

1

OG

122

Rear Fog Lamp Supply Voltage (w/Rear Fog Lamp)

1

OG

122

Rear Fog Lamp Supply Voltage

2

GY/YE

596

5-Volt Reference

2

GY/YE

596

5-Volt Reference

3

L-BU

14

Left Turn Signal Voltage

3

L-BU

14

Left Turn Signal Voltage

4

PU

709

Left Park Lamp Supply Voltage

4

PU

709

Left Park Lamp Supply Voltage

PU

709

Left Park Lamp Supply Voltage (w/Datyime Running Lights)

5

L-BU/D-BU

20

Stop Lamp Supply Voltage

5

L-BU/D-BU

20

Stop Lamp Supply Voltage

L-BU/D-BU

20

Stop Lamp Supply Voltage

L-BU/D-BU

20

Stop Lamp Supply Voltage

6

RD/WH

840

Battery Positive Voltage

6

RD/WH

840

Battery Positive Voltage

RD/WH

840

Battery Positive Voltage (LHD)

7

GY/BK

745

Left Front Door Switch Signal

7

GY/BK

745

Left Front Door Switch Signal

8

BN

294

Door Lock Actuator Unlock Control (w/Power Door Locks)

8

BN

294

Door Lock Actuator Unlock Control

BN

294

Door Lock Actuator Unlock Control

9

YE

234

Seat Belt Indicator Control

9

YE

234

Seat Belt Indicator Control

10

BN/YE

141

Ignition 2 Voltage

10

BN/YE

141

Ignition 2 Voltage (w/Rear Wiper and Washer)

11

PU

293

Rear Defogger Voltage

11

PU

293

Rear Defogger Voltage (w/Rear Defogger)

12

D-BU/WH

46

Right Rear Speaker Output (+)

12

D-BU/WH

46

Right Rear Speaker Output (+)

13

YE/D-BU

116

Left Rear Speaker Output (-)

13

YE/D-BU

116

Left Rear Speaker Output (-)

14

--

--

Not Used

14

--

--

Not Used

15

GY

720

Fuel Sender Low Reference

15

GY

720

Fuel Sender Low Reference

16

D-BU

15

Right Turn Signal Lamp Supply Voltage

16

D-BU

15

Right Turn Signal Lamp Supply Voltage

17

BN/WH

309

Illumination Voltage

17

BN/WH

309

Illumination Voltage

BN/WH

309

Illumination Voltage

18

L-GN

24

Back-Up Lamp Voltage

18

L-GN

24

Back-Up Lamp Voltage

19

YE/D-GN

172

Low Fuel Indicator Control

19

YE/D-GN

172

Low Fuel Indicator Control

20

YE

804

Door Switch Signal

20

YE

804

Door Switch Signal

YE

804

Door Switch Signal (LHD)

21

GY

295

Door Lock Actuator Lock Control (w/Power Door Locks)

21

GY

295

Door Lock Actuator Lock Control

GY

295

Door Lock Actuator Lock Control

22

BN/WH

33

Brake Indicator Control

22

BN/WH

33

Brake Indicator Control (LHD)

BN

33

Brake Indicator Control (RHD)

23

GY/WH

391

Rear Wiper Switch Signal

23

GY/WH

391

Rear Wiper Switch Signal (w/Rear Wiper and Washer)

24

GY/BK

120

Fuel Pump Supply Voltage

24

GY/BK

120

Fuel Pump Supply Voltage

25

L-BU/RD

115

Right Rear Speaker Output (-)

25

L-BU/RD

115

Right Rear Speaker Output (-)

26

BN/YE

199

Left Rear Speaker Output (+)

26

BN/YE

199

Left Rear Speaker Output (+)

C202 Engine Harness to I/P Harness (0.8L LHD)


Object Number: 1661112  Size: CH

Object Number: 1661109  Size: CH

Connector Part Information

  • OEM: MG611133
  • Service: N/A
  • Description: 22-Way F .2507 Series (NA)

Connector Part Information

  • OEM: MG621134
  • Service: N/A
  • Description: 22-Way M .2507 Series (NA)

C202 Engine Harness to I/P Harness (0.8L LHD)

Pin

Wire

Circuit

Function

Pin

Wire

Circuit

Function

1

--

--

Not Used

1

--

--

Not Used

2

PK

1561

Automatic Transmission Warning Lamp Signal (A/T)

2

PK

1561

Automatic Transmission Warning Lamp Signal (A/T)

3

D-GN

2386

Overdrive Off Switch (A/T)

3

D-GN

2386

Overdrive Off Switch (A/T)

4

PU

1319

Serial Data

4

PU

1319

Serial Data (w/o Theft)

L-GN

488

Power Take-Off Enable Switch (w/Theft)

5

D-GN/WH

762

A/C Request Signal

5

D-GN/WH

762

A/C Request Signal (C60/C68)

6

D-BU

732

Evaporator Temperature Signal

6

D-BU

732

Evaporator Temperature Signal (C60/C68)

7

BN/D-BU

718

Low Reference

7

BN/D-BU

718

Low Reference (C60/C68)

BN/D-BU

718

Low Reference (M/T)

8

GY/YE

596

Fuel Sender Signal

8

GY/YE

596

Fuel Sender Signal

9

GY/BK

720

Sensor Ground

9

GY

720

Sensor Ground

10

PU

30

Fuel Gage Signal

10

PU

30

Fuel Gage Signal

11

BN/WH

419

Malfunction Indicator Lamp (MIL) Control

11

BN/WH

419

Malfunction Indicator Lamp (MIL) Control

12

BN/D-GN

437

Vehicle Speed Sensor Signal (A/T)

12

YE

400

Vehicle Speed Sensor Signal

BN/D-GN

437

Vehicle Speed Sensor Signal (M/T)

BN/D-GN

437

Vehicle Speed Sensor Signal (M/T)

13

WH

121

Tachometer Signal

13

WH

121

Tachometer Signal

14

D-GN/WH

135

Temperature Signal

14

D-GN/WH

135

Temperature Signal

15

BN/BK

241

Ignition 2 Voltage

15

BN/BK

241

Ignition 2 Voltage

16

L-GN

24

Back-Up Lamp Voltage (A/T)

16

L-GN

24

Back-Up Lamp Voltage

L-GN

24

Back-Up Lamp Voltage

17

--

--

Not Used

17

--

--

Not Used

18

GY/BK

2387

Serial Data (A/T)

18

GY/BK

2387

Serial Data (A/T)

19

YE

5

Starter Solenoid (A/T)

19

PU/RD

5

Starter Solenoid

PU

6

Starter Solenoid (M/T)

20

--

--

Not Used

20

--

--

Not Used

21

BN

31

Oil Pressure Indicator Lamp

21

BN

31

Oil Pressure Indicator Lamp

BN

31

Oil Pressure Indicator Lamp (w/Daytime Running Lights)

22

BN/YE

25

Charge Indicator Lamp

22

BN/YE

25

Charge Indicator Lamp

C202 I/P Harness to Engine Harness (0.8L RHD)


Object Number: 1661115  Size: CH

Object Number: 1661117  Size: CH

Connector Part Information

  • OEM: 936151-1
  • Service: N/A
  • Description: 22-Way F 090 III Series (NA)

Connector Part Information

  • OEM: 936154-1
  • Service: N/A
  • Description: 22-Way M 090 III Series (NA)

C202 I/P Harness to Engine Harness (0.8L RHD)

Pin

Wire

Circuit

Function

Pin

Wire

Circuit

Function

1

PU/RD

5

Starter Solenoid

1

YE

5

Starter Solenoid

2

D-GN

2386

Overdrive Off Switch (A/T)

2

D-GN

2386

Overdrive Off Switch (A/T)

D-GN

2386

Overdrive Off Switch (A/T)

3

--

--

Not Used

3

--

--

Not Used

4

PK

1561

A/T Warning Lamp Signal (A/T)

4

PK

1561

A/T Warning Lamp Signal (A/T)

5

L-GN

24

Back-Up Lamp Voltage

5

L-GN

24

Back-Up Lamp Voltage

6

D-GN/WH

762

A/C Request Signal (C60/C68)

6

D-GN/WH

762

A/C Request Signal

7

BN/D-BU

718

Low Reference (C60/C68)

7

BN/D-BU

718

Low Reference

8

BN

31

Oil Pressure Indicator Lamp

8

BN

31

Oil Pressure Indicator Lamp

9

BN/WH

419

Check Engine Indicator Lamp

9

BN/WH

419

Check Engine Indicator Lamp

10

D-GN/WH

135

Temperature Signal

10

D-GN/WH

135

Temperature Signal

11

WH

121

Tachometer Signal

11

WH

121

Tachometer Signal

12

--

--

Not Used

12

--

--

Not Used

13

BN/BK

241

Ignition 2 Voltage

13

BN/BK

241

Ignition 2 Voltage

14

--

--

Not Used

14

--

--

Not Used

15

GY/BK

2387

Serial Data (A/T)

15

GY/BK

2387

Serial Data (A/T)

16

PU

1319

Serial Data (w/o Theft)

16

PU

1319

Serial Data

L-GN

488

Power Take-Off Enable Switch (w/Theft)

17

BN/D-GN

437

Vehicle Speed Signal

17

YE

400

Vehicle Speed Sensor Signal (A/T)

BN/D-GN

437

Vehicle Speed Signal (M/T)

BN/D-GN

437

Vehicle Speed Signal (M/T)

18

D-BU

732

Evaporator Temperature Signal (w/Air Conditioning)

18

D-BU

732

Evaporator Temperature Signal

19

BN/YE

25

Charge Indicator Lamp

19

BN/YE

25

Charge Indicator Lamp

20

GY/YE

596

Fuel Sender Signal

20

GY/YE

596

Fuel Sender Signal

21

GY

720

Sensor Ground

21

GY

720

Sensor Ground

22

PU

30

Fuel Gage Signal

22

PU

30

Fuel Gage Signal

C202 Engine Harness to I/P Harness (1.0L M/T LHD)


Object Number: 1661112  Size: CH

Object Number: 1661109  Size: CH

Connector Part Information

  • OEM: MG611133
  • Service: N/A
  • Description: 22-Way F .2507 Series (NA)

Connector Part Information

  • OEM: MG6221134
  • Service: N/A
  • Description: 22-Way M .2507 Series (NA)

C202 Engine Harness to I/P Harness (1.0L M/T LHD)

Pin

Wire

Circuit

Function

Pin

Wire

Circuit

Function

1-3

--

--

Not Used

1-3

--

--

Not Used

4

PU

1319

Serial Data

4

PU

1319

Serial Data (w/o Theft)

L-GN

488

Power Take-Off Enable Switch (w/Theft)

5

D-GN/WH

762

A/C request Signal

5

D-GN/WH

762

A/C Request Signal (C60/C68)

6

D-BU

732

Evaporator Temperature Signal

6

D-BU

732

Evaporator Temperature Signal (C60/C68)

7

BN/D-BU

718

Low Reference

7

BN/D-BU

718

Low Reference (C60/C68)

8

GY/YE

596

Fuel Sender Signal

8

GY/YE

596

Fuel Sender Signal

9

BN

808

Low Reference

9

GY

720

Sensor Ground

10

PU

30

Fuel Gage Signal

10

PU

30

Fuel Gage Signal

11

BN/WH

419

Check Engine Indicator Lamp

11

BN/WH

419

Check Engine Indicator Lamp

12

BN/D-GN

437

Vehicle Speed Signal

12

BN/D-GN

437

Vehicle Speed Signal

BN/D-GN

437

Vehicle Speed Signal

13

WH

121

Tachometer Signal

13

WH

121

Tachometer Signal

14

D-GN/WH

135

Temperature Gage Signal

14

D-GN/WH

135

Temperature Gage Signal

15

BN/BK

241

Ignition 2 Voltage

15

BN/BK

241

Ignition 2 Voltage

16

L-GN

24

Back-Up Lamp Voltage

16

L-GN

24

Back-Up Lamp Voltage

17-18

--

--

Not Used

17-18

--

--

Not Used

19

PU

6

Starter Solenoid

19

PU/RD

5

Starter Solenoid

20

--

--

Not Used

20

--

--

Not Used

21

BN

31

Oil Pressure Indicator Lamp

21

BN

31

Oil Pressure Indicator Lamp

BN

31

Oil Pressure Indicator Lamp (w/Daytime Running Lights)

22

BN/YE

25

Charge Indicator Lamp

22

BN/YE

25

Charge Indicator Lamp

C202 Engine Harness to I/P Harness (1.0L M/T RHD)


Object Number: 1661115  Size: CH

Object Number: 1661117  Size: CH

Connector Part Information

  • OEM: 936151-1
  • Service: N/A
  • Description: 22-Way F 090 III Series (NA)

Connector Part Information

  • OEM: 936154-1
  • Service: N/A
  • Description: 22-Way M 090 III Series (NA)

C202 Engine Harness to I/P Harness (1.0L M/T RHD)

Pin

Wire

Circuit

Function

Pin

Wire

Circuit

Function

1

PU/RD

5

Starter Solenoid

1

PU

6

Starter Solenoid

2

--

--

Not Used

2

--

--

Not Used

3

--

--

Not Used

3

--

--

Not Used

4

--

--

Not Used

4

--

--

Not Used

5

L-GN

24

Back-Up Lamp Voltage

5

L-GN

24

Back-Up Lamp Voltage

6

D-GN/WH

762

A/C request Signal (w/Air Conditioning)

6

D-GN/WH

762

A/C request Signal

7

BN/D-BU

718

Low Reference (w/Air Conditioning)

7

D-GN/WH

718

Low Reference

8

BN

31

Oil Pressure Indicator Lamp

8

BN

31

Oil Pressure Indicator Lamp

9

BN/WH

419

Check Engine Indicator Lamp

9

BN/WH

419

Check Engine Indicator Lamp

10

D-GN/WH

135

Temperature Gage Signal

10

D-GN/WH

135

Temperature Gage Signal

11

WH

121

Tachometer Signal

11

WH

121

Tachometer Signal

12

--

--

Not Used

12

--

--

Not Used

13

BN/BK

241

Fuse Output - Ignition 3

13

BN/BK

241

Fuse Output - Ignition 3

14

--

--

Not Used

14

--

--

Not Used

15

--

--

Not Used

15

--

--

Not Used

16

L-GN

488

Power Take-Off Enable Switch (w/Theft)

16

PU

1319

Serial Data

PU

1319

Serial Data (w/o Theft)

17

BN/D-GN

437

Vehicle Speed Signal

17

BN/D-GN

437

Vehicle Speed Signal

18

D-BU

732

Evaporator Temperature Signal (w/Air Conditioning)

18

D-BU

732

Evaporator Temperature Signal

19

BN/YE

25

Charge Indicator Lamp

19

BN/YE

25

Charge Indicator Lamp

20

GY/YE

596

Fuel Sender Signal

20

GY/YE

596

Fuel Sender Signal

21

GY

720

Sensor Ground

21

BN

808

Low Reference

22

PU

30

Fuel Gage Signal

22

PU

30

Fuel Gage Signal

C203 I/P Harness to Air Bag Harness


Object Number: 1283885  Size: CH

Object Number: 1661120  Size: CH

Connector Part Information

  • OEM: 174928-1
  • Service: N/A
  • Description: 3-Way F .070 Multilock Series (WH)

Connector Part Information

  • OEM: 368500-1
  • Service: N/A
  • Description: 3-Way M .070 Multilock Series (NA)

C203 I/P Harness to Air Bag Harness

Pin

Wire

Circuit

Function

Pin

Wire

Circuit

Function

1

PK/BK

139

Ignition 2 Voltage

1

PK/BK

139

Ignition 2 Voltage

2

L-GN

377

SDM Serial Data

2

L-GN

377

SDM Serial Data

3

BN

358

Air Bag Warning Lamp

3

BN

358

Air Bag Warning Lamp

C204 Front Harness to I/P Harness (LHD)


Object Number: 1661119  Size: CH

Object Number: 1661123  Size: CH

Connector Part Information

  • OEM: 936227-1
  • Service: N/A
  • Description: 4-Way F 090 II Series (NA)

Connector Part Information

  • OEM: 936238-1
  • Service: N/A
  • Description: 4-Way M 090 II Series (NA)

C204 Front Harness to I/P Harness (LHD)

Pin

Wire

Circuit

Function

Pin

Wire

Circuit

Function

1

YE

261

Arm Alarm Signal (w/Remote Keyless)

1

YE

261

Arm Alarm Signal

2

PK/BK

109

Hood Ajar Switch Signal (w/Remote Keyless)

2

PK/BK

109

Hood Ajar Switch Signal

3

--

--

Not Used

3

L-GN/BK

735

Outside Ambient Air Temperature Sensor High

4

--

--

Not Used

4

YE

61

Outside Ambient Air Temperature Sensor Low

C204 Front Harness to I/P Harness (RHD)


Object Number: 1849820  Size: CH

Object Number: 1849805  Size: CH

Connector Part Information

  • OEM: 936268-1
  • Service: N/A
  • Description: 6-Way F 090 Series (NA)

Connector Part Information

  • OEM: 936271-1
  • Service: N/A
  • Description: 6-Way M 090 Series (NA)

C204 Front Harness to I/P Harness (RHD)

Pin

Wire

Circuit

Function

Pin

Wire

Circuit

Function

1

YE

261

Arm Alarm Signal

1

YE

261

Arm Alarm Signal (CAL)

2

BN

41

Ignition 2 Voltage

2

BN

41

Ignition 2 Voltage

3

BN/WH

96

Wiper Motor Pulse Delay Signal

3

BN/WH

96

Wiper Motor Pulse Delay Signal

4

PK/BK

109

Hood Ajar Switch Signal

4

PK/BK

109

Hood Ajar Switch Signal (CAL)

5

D-GN/YE

95

Wiper Motor Low Speed

5

D-GN/YE

95

Wiper Motor Low Speed

6

PU

92

Wiper Motor High Speed

6

PU

92

Wiper Motor High Speed

C208 Roof Harness to I/P Harness


Object Number: 1413001  Size: CH

Object Number: 1661133  Size: CH

Connector Part Information

  • OEM: 936224-1
  • Service: N/A
  • Description: 2-Way F 090 II Series (NA)

Connector Part Information

  • OEM: 936236-1
  • Service: N/A
  • Description: 2-Way M 090 II Series (NA)

C208 Roof Harness to I/P Harness

Pin

Wire

Circuit

Function

Pin

Wire

Circuit

Function

1

YE

804

Door Switch Signal

1

YE

804

Door Switch Signal

2

RD/WH

840

Battery Voltage

2

RD/WH

840

Battery Voltage

C301 Floor Harness to Front Harness


Object Number: 1661119  Size: CH

Object Number: 1661123  Size: CH

Connector Part Information

  • OEM: 936227-1
  • Service: N/A
  • Description: 4-Way F 090 II Series (NA)

Connector Part Information

  • OEM: 936238-1
  • Service: N/A
  • Description: 4-Way M 090 II Series (NA)

C301 Floor Harness to Front Harness

Pin

Wire

Circuit

Function

Pin

Wire

Circuit

Function

1

WH

883

Right Rear Wheel Speed Sensor Return

1

WH

883

Right Rear Wheel Speed Sensor Return

2

BN

882

Right Rear Wheel Speed Sensor Signal

2

BN

882

Right Rear Wheel Speed Sensor Signal

3

OG

885

Left Rear Wheel Speed Sensor Return

3

OG

885

Left Rear Wheel Speed Sensor Return

4

BN

884

Left Rear Wheel Speed Sensor Signal

4

BN

884

Left Rear Wheel Speed Sensor Signal

C351 I/P Harness to Driver Front Door Harness


Object Number: 1902505  Size: CH

Object Number: 1661136  Size: CH

Connector Part Information

  • OEM: MG612231
  • Service: N/A
  • Description: 8-Way F ASC Series (NA)

Connector Part Information

  • OEM: MG622232
  • Service: N/A
  • Description: 8-Way M 090 Series (NA)

C351 I/P Harness to Driver Front Door Harness

Pin

Wire

Circuit

Function

Pin

Wire

Circuit

Function

1

L-BU

166

LH Power Window Motor Up

1

L-BU

166

LH Power Window Motor Up

2

PK/WH

539

Ignition Voltage

2

PK/WH

539

Ignition Voltage

3

BN

294

Power Door Lock Motor Unlock Feed (w/Power Door Locks)

3

BN

294

Power Door Lock Motor Unlock Feed (w/Power Door Locks)

4

BN

167

RH Front Power Window Down

4

BN

167

RH Front Power Window Down

5

D-BU

1307

Ignition Voltage (w/Rear Power Windows)

5

D-BU

1307

Ignition Voltage (w/Rear Power Windows)

6

BK

650

Ground

6

BK

550

Ground

7

RD/D-BU

1140

Ignition Voltage (Power Door Locks w/o CAL)

7

RD/D-BU

1140

Ignition Voltage (Power Door Locks)

YE

356

Power Door Lock Signal (CAL)

8

GY

295

Power Door Lock Motor Lock Feed

8

GY

295

Power Door Lock Motor Lock Feed (w/Power Door Locks)

GY

295

Power Door Lock Motor Lock Feed (w/Power Door Locks)

C352 Floor Harness to Driver Front Door Harness


Object Number: 1908545  Size: CH

Object Number: 1661140  Size: CH

Connector Part Information

  • OEM: MG612228
  • Service: N/A
  • Description: 6-Way F ASC Series (NA)

Connector Part Information

  • OEM: MG622229
  • Service: N/A
  • Description: 6-Way M ASC Series (NA)

C352 Floor Harness to Driver Front Door Harness

Pin

Wire

Circuit

Function

Pin

Wire

Circuit

Function

1

L-GN

170

RH Rear Power Window Motor Up

1

L-GN

170

RH Rear Power Window Motor Up

2

D-GN

168

LH Rear Power Window Motor Up

2

D-GN

168

LH Rear Power Window Motor Up

3

PU

171

RH Rear Power Window Motor Down

3

PU

171

RH Rear Power Window Motor Down

4

--

--

Not Used

4

--

--

Not Used

5

D-BU

1307

Ignition 1 Voltage

5

D-BU

1307

Ignition 1 Voltage

6

PU

169

LH Rear Power Window Motor Down

6

PU

169

LH Rear Power Window Motor Down

C361 I/P Harness to Passenger Front Door Harness


Object Number: 1902505  Size: CH

Object Number: 1661136  Size: CH

Connector Part Information

  • OEM: MG612231
  • Service: N/A
  • Description: 8-Way F ASC Series (NA)

Connector Part Information

  • OEM: MG622232
  • Service: N/A
  • Description: 8-Way M 090 Series (NA)

C361 I/P Harness to Passenger Front Door Harness

Pin

Wire

Circuit

Function

Pin

Wire

Circuit

Function

1

BN

167

Power Window Switch Down

1

BN

167

Power Window Switch Down

2

D-BU

1307

Ignition Voltage (w/Rear Power Windows)

2

D-BU

1307

Ignition Voltage (w/Rear Power Windows)

PK/WH

539

Ignition Voltage (w/o Rear Power Windows)

PK/WH

539

Ignition Voltage (w/o Rear Power Windows)

3

GY

295

Power Door Lock Feed (w/Power Door Locks)

3

GY

295

Power Door Lock Feed (w/Power Door Locks)

4

L-BU

166

Power Window Switch Down

4

L-BU

166

Power Window Switch Down

5

OG/WH

881

Power Mirror Motor Vertical (w/Power Mirror)

5

OG/WH

881

Power Mirror Motor Vertical (w/Power Mirror)

6

BN/WH

330

Power Mirror Motor Ground (w/Power Mirror)

6

BN/WH

330

Power Mirror Motor Ground (w/Power Mirror)

7

PU/WH

889

Power Mirror Motor Horizontal (w/Power Mirror)

7

PU/WH

889

Power Mirror Motor Horizontal (w/Power Mirror)

8

BN

294

Power Door Lock Unlock Feed

8

BN

294

Power Door Lock Unlock Feed

C371 Floor Harness to Left Rear Door Harness (w/o Rear Power Windows)


Object Number: 1265364  Size: CH

Object Number: 1661143  Size: CH

Connector Part Information

  • OEM: MG611857
  • Service: N/A
  • Description: 2-Way F 090 Series (NA)

Connector Part Information

  • OEM: MG621858
  • Service: N/A
  • Description: 2-Way M ASC Series (NA)

C371 Floor Harness to Left Rear Door Harness (w/o Rear Power Windows)

Pin

Wire

Circuit

Function

Pin

Wire

Circuit

Function

1

BN

294

Power Door Lock Motor Unlock

1

BN

294

Power Door Lock Motor Unlock

2

GY

295

Power Door Lock Motor Lock

2

GY

295

Power Door Lock Motor Lock

C371 Floor Harness to Left Rear Door Harness (w/Rear Power Windows)


Object Number: 1908545  Size: CH

Object Number: 1661140  Size: CH

Connector Part Information

  • OEM: MG612228
  • Service: N/A
  • Description: 6-Way F ASC Series (NA)

Connector Part Information

  • OEM: MG622229
  • Service: N/A
  • Description: 6-Way M ASC Series (NA)

C371 Floor Harness to Left Rear Door Harness (w/Rear Power Windows)

Pin

Wire

Circuit

Function

Pin

Wire

Circuit

Function

1

BN

294

Power Door Lock Motor Unlock

1

BN

294

Power Door Lock Motor Unlock

2

GY

295

Power Door Lock Motor Lock

2

GY

294

Power Door Lock Motor Lock

3

--

--

Not Used

3

--

--

Not Used

4

D-BU

1307

Ignition 1 Voltage

4

D-BU

1307

Ignition 1 Voltage

5

PU

169

Power Window Switch Down

5

PU

169

Power Window Switch Down

6

D-GN

168

Power Window Switch Up

6

D-GN

168

Power Window Switch Up

C381 Floor Harness to Right Rear Door Harness (w/o Rear Power Windows)


Object Number: 1265364  Size: CH

Object Number: 1661143  Size: CH

Connector Part Information

  • OEM: MG611857
  • Service: N/A
  • Description: 2-Way F 090 Series (NA)

Connector Part Information

  • OEM: MG621858
  • Service: N/A
  • Description: 2-Way M ASC Series (NA)

C381 Floor Harness to Right Rear Door Harness (w/o Rear Power Windows)

Pin

Wire

Circuit

Function

Pin

Wire

Circuit

Function

1

BN

294

Power Door Lock Motor Unlock

1

BN

294

Power Door Lock Motor Unlock

2

GY

295

Power Door Lock Motor Lock

2

GY

294

Power Door Lock Motor Lock

C381 Floor Harness to Right Rear Door Harness (w/Rear Power Windows)


Object Number: 1908545  Size: CH

Object Number: 1661140  Size: CH

Connector Part Information

  • OEM: MG612228
  • Service: N/A
  • Description: 6-Way F ASC Series (NA)

Connector Part Information

  • OEM: MG622229
  • Service: N/A
  • Description: 6-Way M ASC Series (NA)

C381 Floor Harness to Right Rear Door Harness (w/Rear Power Windows)

Pin

Wire

Circuit

Function

Pin

Wire

Circuit

Function

1

BN

294

Power Door Lock Motor Unlock

1

BN

294

Power Door Lock Motor Unlock

2

GY

295

Power Door Lock Motor Lock

2

GY

294

Power Door Lock Motor Lock

3

--

--

Not Used

3

--

--

Not Used

4

D-BU

1307

Ignition 1 Voltage

4

D-BU

1307

Ignition 1 Voltage

5

PU

171

Power Window Switch Down

5

PU

171

Power Window Switch Down

6

L-GN

170

Power Window Switch Up

6

L-GN

170

Power Window Switch Up

C401 Liftgate Harness to Floor Harness


Object Number: 1962081  Size: CH

Object Number: 1661148  Size: CH

Connector Part Information

  • OEM: 936230-1
  • Service: N/A
  • Description: 6-Way F 090 II Series (NA)

Connector Part Information

  • OEM: 936240-1
  • Service: N/A
  • Description: 6-Way M 090 Series (NA)

C401 Liftgate Harness to Floor Harness

Pin

Wire

Circuit

Function

Pin

Wire

Circuit

Function

1

PU

293

Rear Defogger

1

PU

293

Rear Defogger

2

YE

804

Liftgate Switch

2

YE

804

Liftgate Switch

3

PU

709

License Lamp

3

PU

709

License Lamp

4

L-BU/D-BU

20

Center High Mount Stop Lamp (CHMSL)

4

L-BU/D-BU

20

Center High Mount Stop Lamp (CHMSL)

5

GY/WH

391

Rear Wiper Signal

5

GY/WH

391

Rear Wiper Signal

6

BN/YE

141

Rear Wiper Battery Voltage

6

BN/YE

141

Rear Wiper Battery Voltage