GM Service Manual Online
For 1990-2009 cars only
Makes
🢒
Pontiac
🢒
2006
🢒
Matiz
🢒
Brakes
🢒
Disc Brakes
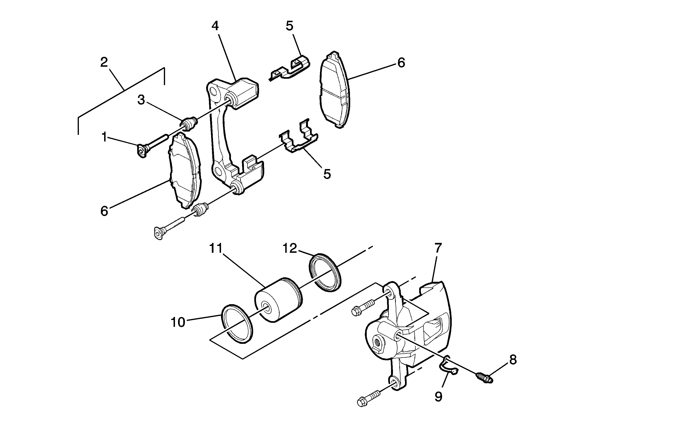
🢒 Disc Brake Component Views
(1)
Pins
(2)
Front Brake Boot Assemblies
(3)
Pin Boots
(4)
Carrier
(5)
Pad Spring
(6)
Front Brake Pads
(7)
Cylinder
(8)
Bleeder Screw
(9)
Bleeder Screw Cap
(10)
Piston Seal
(11)
Piston
(12)
Piston Boot