GM Service Manual Online
For 1990-2009 cars only

Tools Required

DT 47524 (DW 260-190) Low Clutch Spring Compressor


    Object Number: 1348738  Size: SH
  1. Replace the O-ring with a new one. Apply AT fluid to the new O-ring and then install it in the low clutch piston.
  2. Be careful not to twist or misalign out the O-ring when inserting the low clutch piston.

  3. Object Number: 1348739  Size: SH

    Important: Note the direction of the cushion plate.

  4. Assemble with cushion plate periphery touching the low clutch.
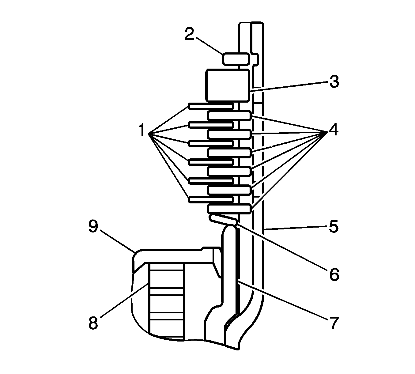
  5. Be sure to assemble the low clutch plate set components in the right order as indicated.
  6. • Snap ring (2)
    • Retaining plate (3)
    • Friction plate (1)
    • Separator (4)
    • Low clutch drum, (5)
    • Cancel cover (9)
    • Cushion plate (6)
    • Piston (7)
    • Return plate (8)

    Object Number: 1348736  Size: SH
  7. Be careful not to distort the cancel cover when pressing it into position using DT 47524  (1).
  8. Ensure that the snap ring fits snugly in the drum groove.
  9. Ensure that the snap ring opening is not aligned with the stopper.
  10. Ensure that the snap ring opening is aligned with the concave aperture.
  11. Before using a new low clutch plate set, soak it in AT fluid for more than 2 hours.

Operational check


    Object Number: 1348732  Size: MH

    Important: If the application limit is exceeded, replace the friction plates (10) and the separator plates (4) with new ones, and select a suitable retaining plate so that specified clearance will be obtained.

    Important: If clearance is less than the application limit, select a suitable retaining plate (3) so that the clearance will fail within the desired range.

  1. Using a thickness gage (1), measure the clearance between the snap ring and the retaining plate (2).
  2. Clearance Specification
    Specification standard is 0.8 - 1.1 mm (0.03 - 0.04 in).

    Clearance Specification
    Specification application limit is 1.3 mm (0.05 in).

    Caution: Refer to Safety Glasses and Compressed Air Caution in the Preface section.


    Object Number: 1348733  Size: SH

    Important: Close the other holes when blowing air using an air gun.

  3. Blow air into the oil inlet of the low clutch drum (2), and check the functioning of the piston.