GM Service Manual Online
For 1990-2009 cars only

Tools Required

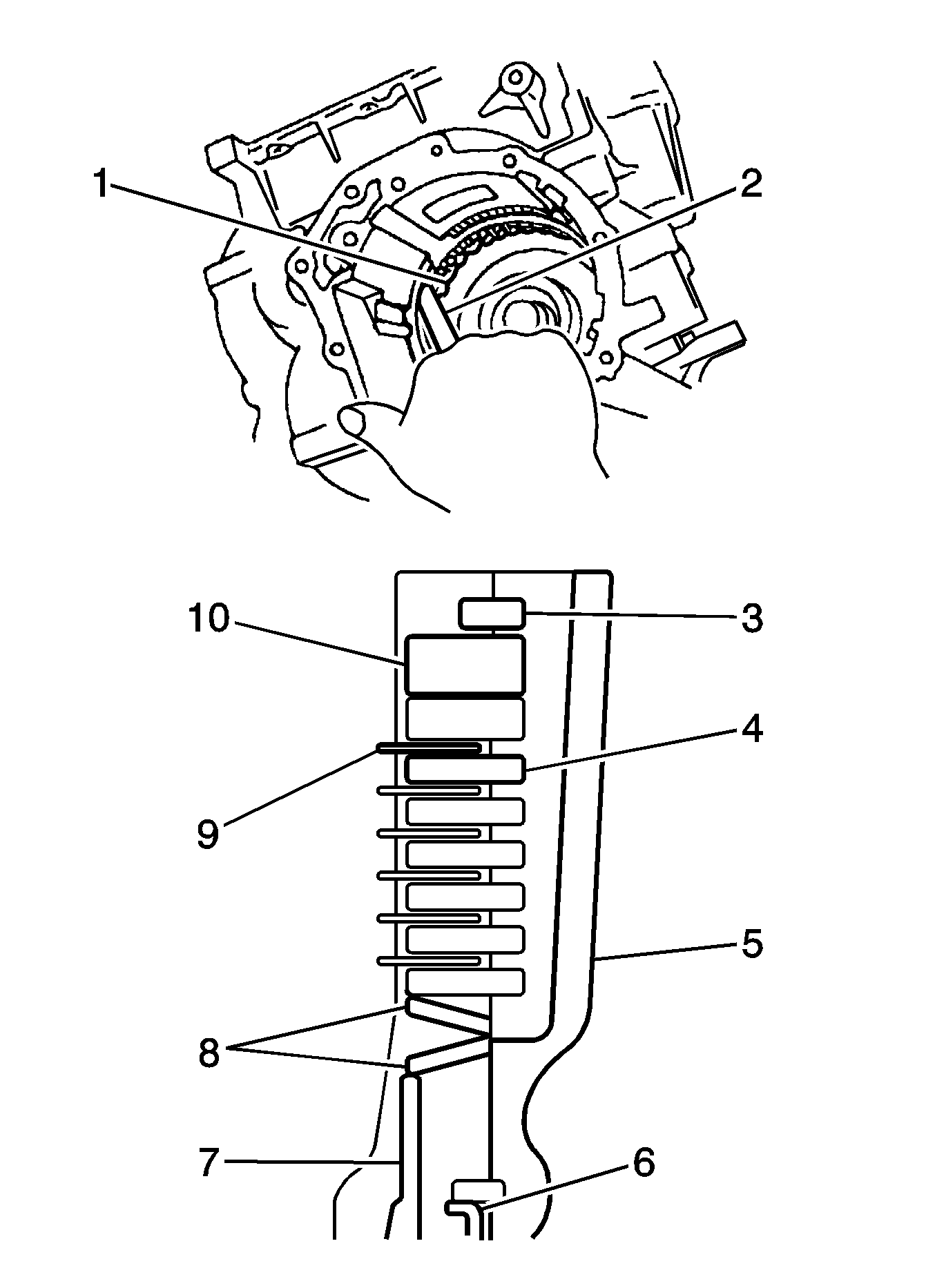
DT 47526 (DW 260-210) Low & Reverse Brake Spring Compressor


    Object Number: 1348745  Size: SH
  1. Replace the O-ring with a new one. Apply AT fluid to the new O-ring, and then install it in the low clutch piston.
  2. Be careful not to twist or misalign out the O-ring when inserting the low & reverse clutch piston.
  3. Important: Note the direction of the cushion plate.


    Object Number: 1348746  Size: SH
  4. Assemble with the cushion plate periphery touching the low & reverse clutch.
  5. Be sure to assemble the low & reverse brake plate set components in the right order as indicated.
  6. • Snap ring (2)
    • Retaining plate (1)
    • Friction plates ( 8)
    • Separator plates (3)
    • Case (4)
    • Cushion plates (7)
    • Piston (6)
    • Return spring (5)

    Object Number: 1348744  Size: SH
  7. Be careful not to distort the spring retainer when using DT 47526  (1).
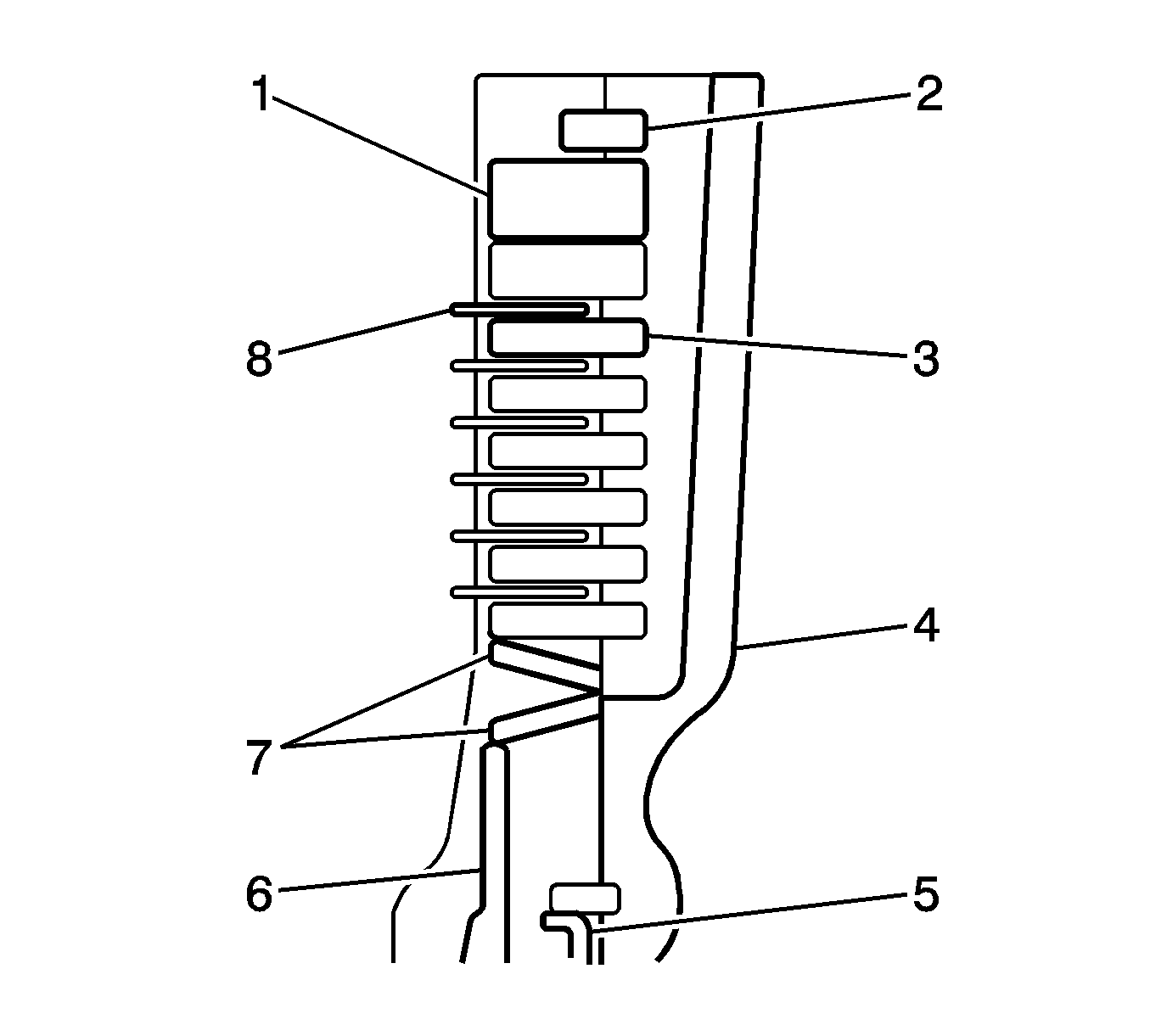
  8. Ensure that the snap ring fits snugly in the drum groove.
  9. Ensure that the snap ring opening is not aligned with the stopper.
  10. Ensure that the snap ring opening is aligned with the concave aperture.
  11. Before using a new low & reverse brake plate set, soak it in AT fluid for more than 2 hours.

Operational Check


    Object Number: 1348741  Size: MH

    Important: If the application limit is exceeded, replace the friction (9) and separator plates (4) with new ones, and select a suitable retaining plate (10) so that the specified clearance will be obtained.

    If the clearance is less than the application limit, select a suitable retaining plate (10) so that the clearance will fall within the desired range.

  1. Using a thickness gage (2), measure the clearance between the snap ring and the retaining plate (10).
  2. Clearance Specification
    Specification standard is 0.8-1.1 mm (0.03-0.04 in).

    Clearance Specification
    Specification application limit is 1.3 mm (0.05 in).

    Caution: Refer to Safety Glasses and Compressed Air Caution in the Preface section.


    Object Number: 1348742  Size: SH

    Important: Close the other holes when blowing air using an air gun.

  3. Blow air into the oil inlet (2) of the control valve installation face, and check the functioning of the piston.