GM Service Manual Online
For 1990-2009 cars only

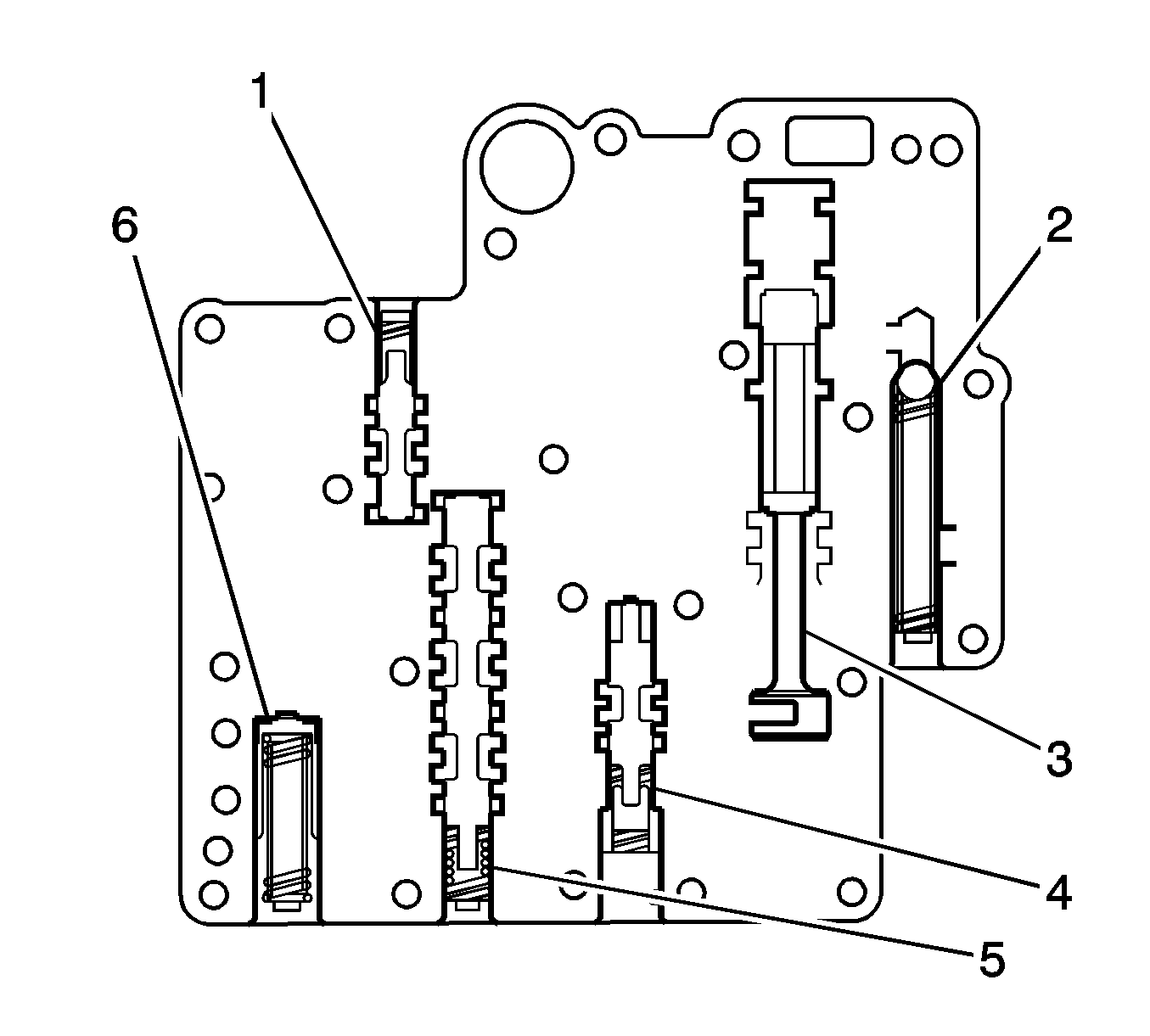
    Object Number: 1343856  Size: SH

    Important: 

       • Before assembly, wash all the components thoroughly.
       • Apply AT fluid to all of the components and holes.
       • Do not use components which may have been dropped.
       • With plastic tape, tape the screwdrivers and rods to be used for inserting the valve.
       • Note the orientation of valves and plugs.

  1. Install the line pressure relief valve (2).
  2. Install the manual valve (3).
  3. Install the pressure modifier valve (4).
  4. Install the shift valve A (5).
  5. Install the throttle pressure accumulator (6).
  6. Install the neutral shift valve (1).