GM Service Manual Online
For 1990-2009 cars only

    Object Number: 1343858  Size: SH

    Important: 

       • Before assembly, wash all the components thoroughly.
       • Apply AT fluid to all of the components and holes.
       • Do not use components which may have been dropped.
       • With plastic tape, tape the screwdrivers and rods to be used for inserting the valve.
       • Note the orientation of valves and plugs.

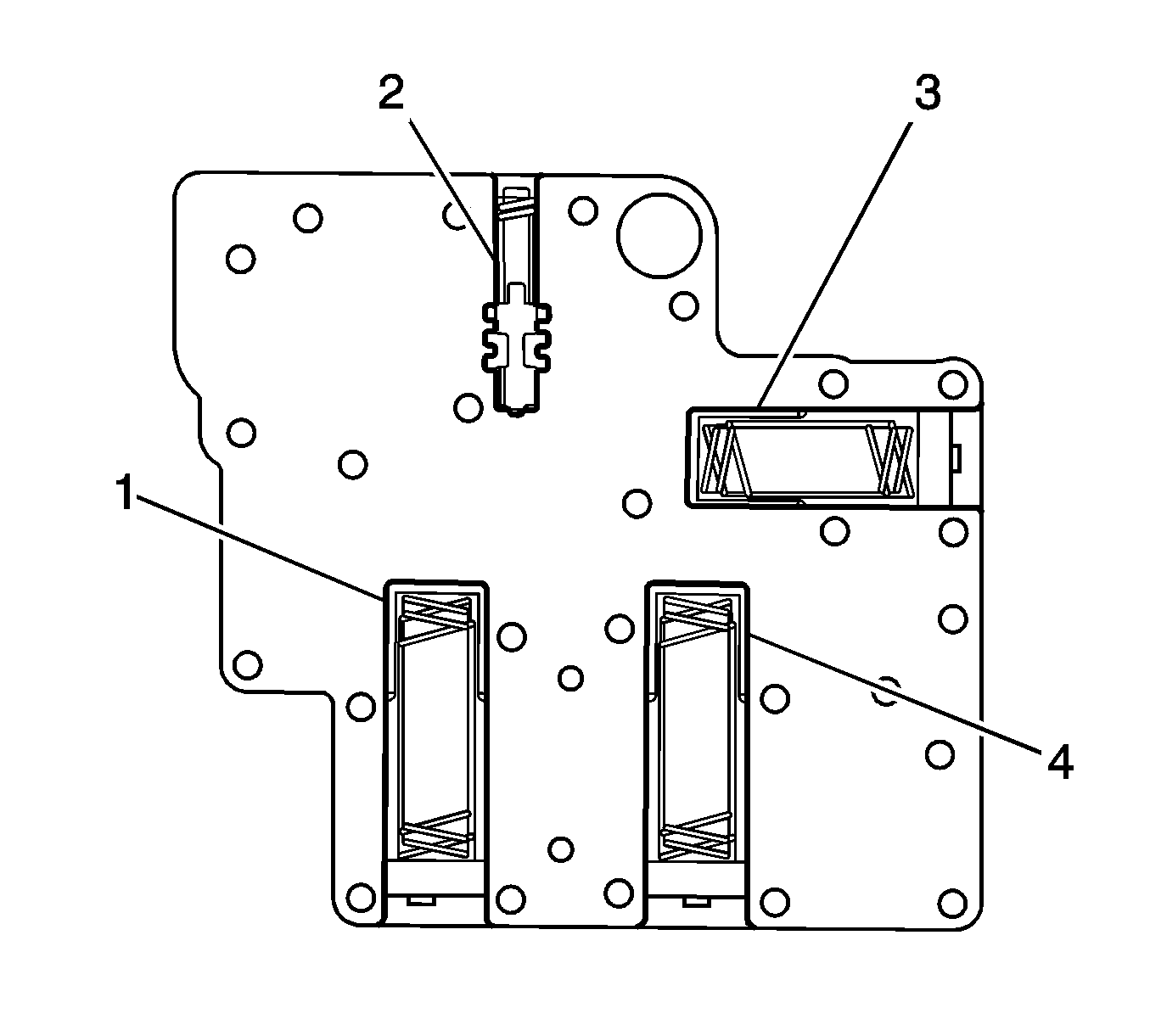
  1. Install the low clutch accumulator (1).
  2. Install the throttle pressure accumulator (4).
  3. Install 1-2 accumulator (3).
  4. Install the torque converter relief valve (2).