GM Service Manual Online
For 1990-2009 cars only

Tools Required

DT 47525 (DW 260-200) Reverse Clutch Spring Compressor


    Object Number: 1348721  Size: SH
  1. Replace the O-ring with a new one. Apply AT fluid tot he new O-ring, and then install in to the reverse clutch piston.
  2. Be careful no to twist or come out the O-ring when inserting the piston.

  3. Object Number: 1348722  Size: SH
  4. Be sure to assemble the components of the clutch plate in the right order as indicated.
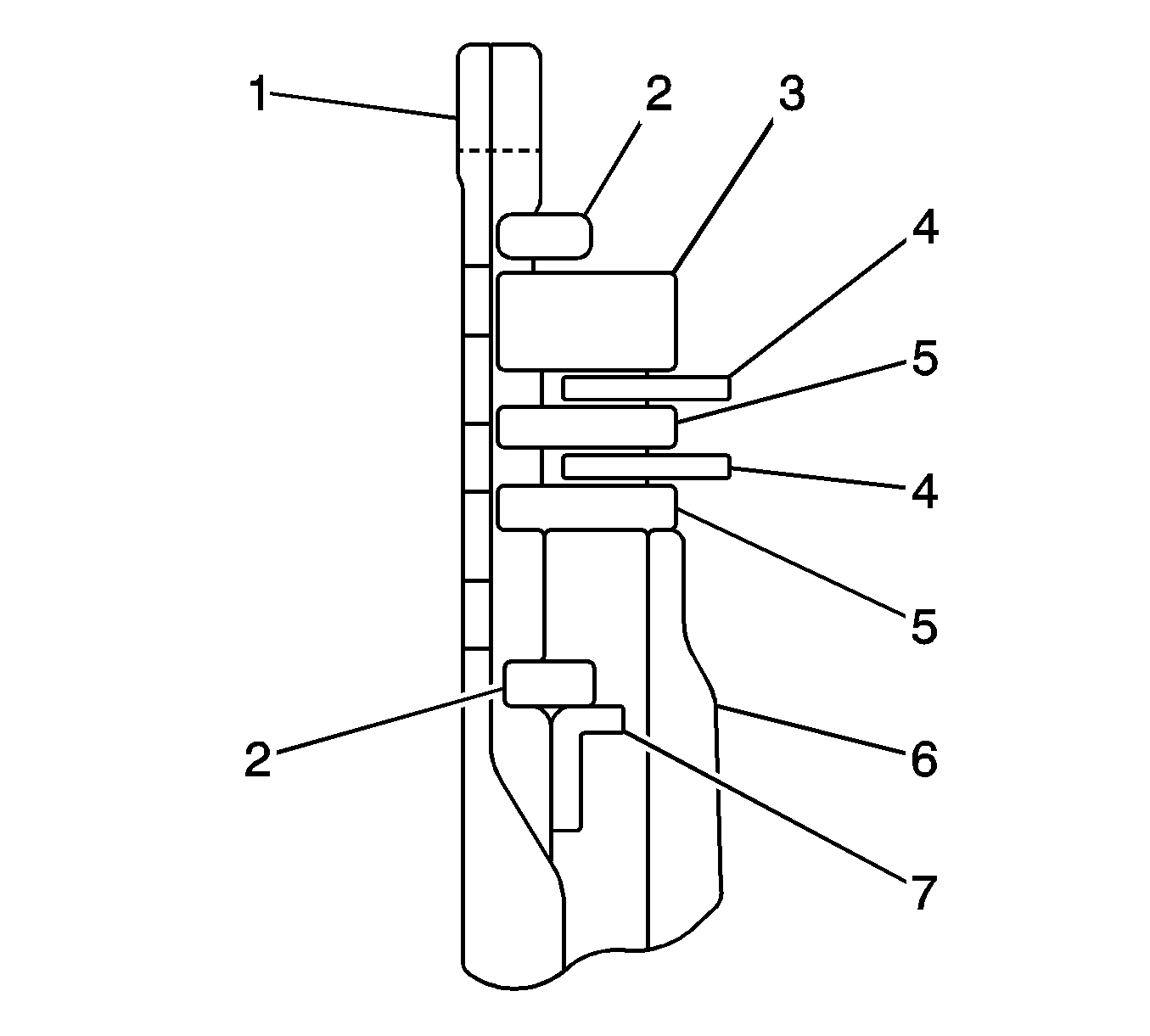
  5. • Reverse clutch drum (1)
    • Snap ring (2)
    • Retaining plate (3)
    • Friction plates (4)
    • Separator plates (5)
    • Piston (6)
    • Return spring (7)

    Object Number: 1348718  Size: SH
  6. Be careful not to distort the reverse clutch return spring plate when pressing into position using DT 47525  (1).
  7. Ensure that the snap ring fits snugly into the drum groove.
  8. Ensure that the snap ring opening is not aligned with the stopper.
  9. Ensure that the snap ring opening is aligned with the concave aperture.
  10. Before using a new reverse clutch plate set, soak it in AT fluid for more than 2 hours.

Operational check


    Object Number: 1348715  Size: MH

    Important: If the application limit is exceeded, replace the friction plate (5) and the separator plate (9) with new ones, and select a suitable retaining plate so that the specified clearance will be obtained.

    Important: If the clearance is less than the application limit, select a suitable retaining plate (4) so that the clearance will fall within the desired range.

  1. Using a thickness gauge (1), measure the clearance between the snap ring (3) and the retaining plate (4).
  2. Clearance Specification
    Specification standard is 0.5 - 0.8 mm (0.02 - 0.03 in).

    Clearance Specification
    Specification application limit is 1.0 mm (0.04 in).

    Caution: Refer to Safety Glasses and Compressed Air Caution in the Preface section.


    Object Number: 1348716  Size: SH

    Important: Close the other holes when blowing air using an air gun.

  3. Blow air into the oil inlet of reverse clutch drum (1) and check the functioning of the piston.