GM Service Manual Online
For 1990-2009 cars only

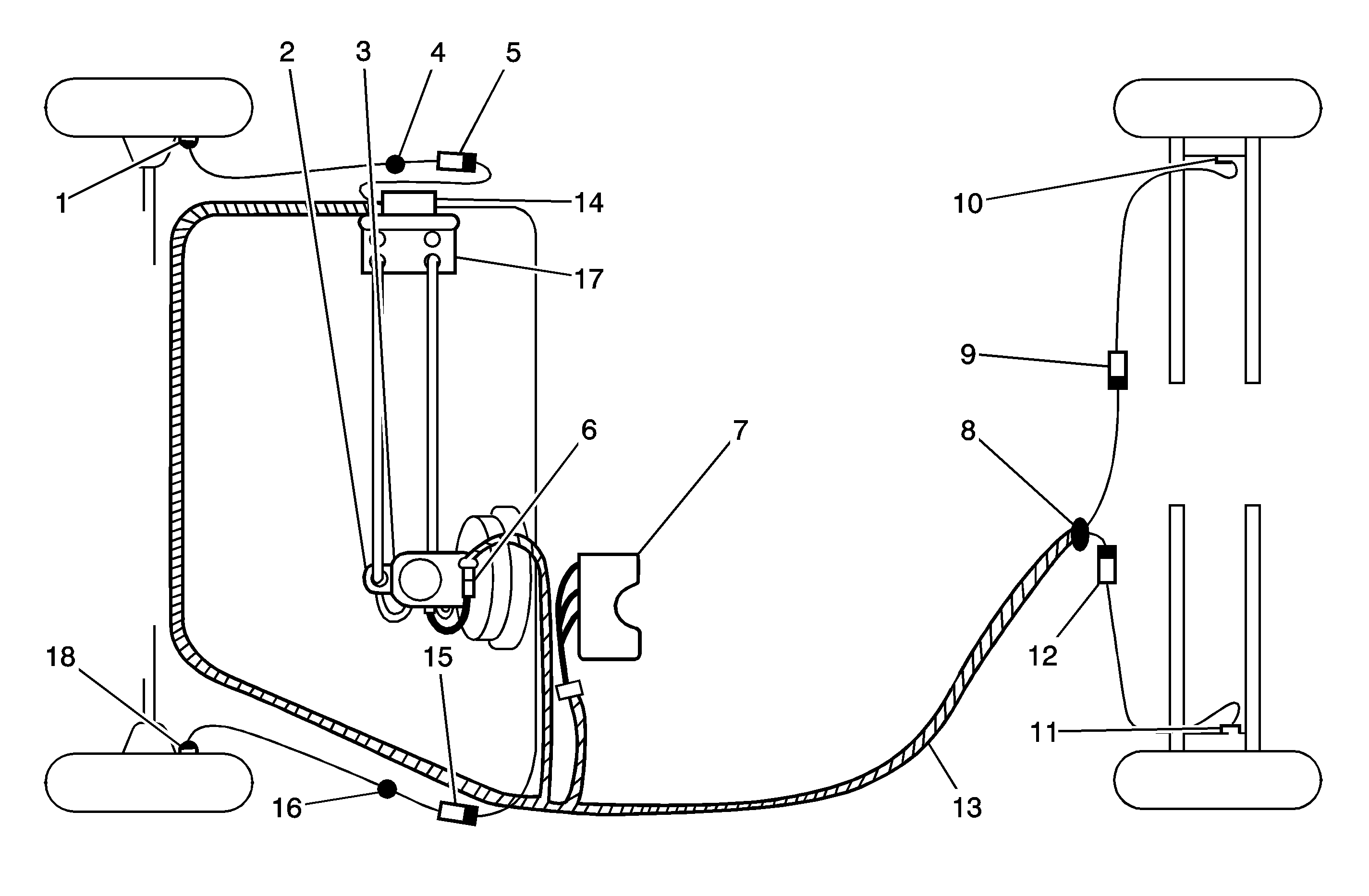
Left Hand Drive Shown, Right Hand Drive Similar


Object Number: 1618026  Size: MF
(1)Right Front Wheel Speed Sensor
(2)Brake Master Cylinder
(3)Master Cylinder Reservoir
(4)Grommet
(5)Right Front Wheel Speed Sensor Connector
(6)Brake Fluid Level Switch Connector
(7)Instrument Cluster
(8)Connector C205
(9)Right Rear Wheel Speed Sensor Connector
(10)Right Rear Wheel Speed Sensor
(11)Left Rear Wheel Speed Sensor
(12)Left Rear Wheel Speed Sensor Connector
(13)Body Wiring Harness
(14)EBCM Connector
(15)Left Front Speed Sensor Connector
(16)Grommet
(17)Hydraulic Modulator with Attached EBCM
(18)Left Front Wheel Speed Sensor