GM Service Manual Online
For 1990-2009 cars only
Table 1: Backup Lamp - Right or Left
Table 2: Backup Lamp Switch
Table 3: Center High Mount Stop Lamp
Table 4: Courtesy Lamp
Table 5: Courtesy Lamp Diode
Table 6: Daytime Running Lamp (DRL) Diode (0.8L)
Table 7: Daytime Running Lamp (DRL) Module
Table 8: Daytime Running Lamp (DRL) Relay (w/DRL)
Table 9: Door Jamb Switch - Driver
Table 10: Door Jamb Switch - Passenger
Table 11: Door Jamb Switch - Rear (Left and Right)
Table 12: Fog Lamp - Left Front
Table 13: Fog Lamp - Right Front
Table 14: Fog Lamp Switch - Rear
Table 15: Hazard Switch
Table 16: Headlamp Assembly - Left (Leveling)
Table 17: Headlamp Assembly - Right (Leveling)
Table 18: Headlamp Leveling Switch
Table 19: Headlamp - Left
Table 20: Headlamp - Right
Table 21: HVAC Illumination Lamp
Table 22: License Lamp
Table 23: Light Switch
Table 24: Park Position Lamp - Left Front
Table 25: Park Position Lamp - Right Front
Table 26: Rear Compartment Lamp
Table 27: Rear Fog Lamp
Table 28: Rear Fog Lamp Relay
Table 29: Shift Indicator Lamp
Table 30: Stop Lamp Switch
Table 31: Tail Lamp - Left Rear
Table 32: Tail Lamp - Right Rear
Table 33: Turn Relay
Table 34: Turn Signal Multifunction Switch
Table 35: Turn Signal Repeater Lamp - Left
Table 36: Turn Signal Repeater Lamp - Right

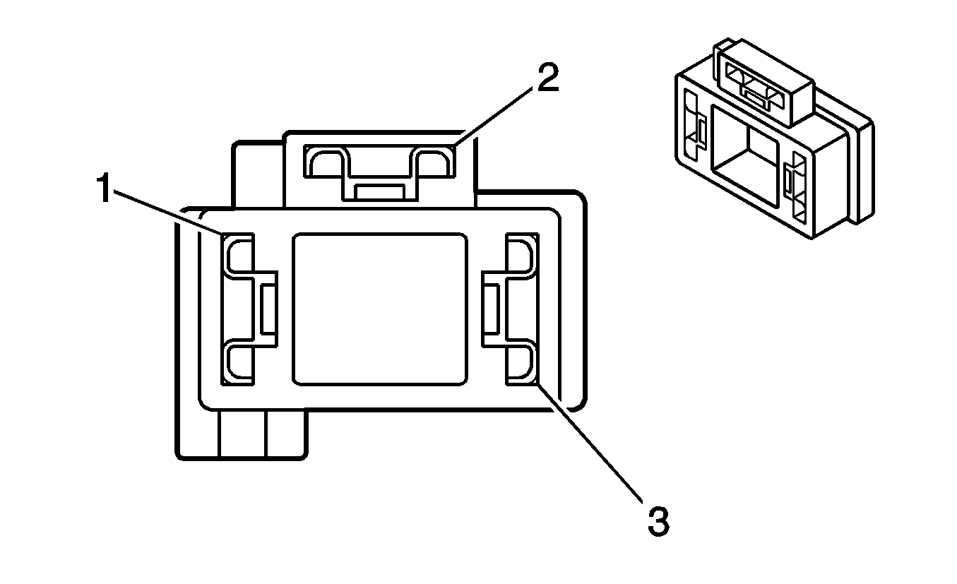
Backup Lamp - Right or Left


Object Number: 1467011  Size: CH

Connector Part Information

    •  AMP 936184-1
    • ?

Pin

Wire Color

Circuit No.

Function

1

L-GN

24

Backup Lamps Supply Voltage

2

BK

950

Ground (LHD)

850

Ground (RHD)

Backup Lamp Switch


Object Number: 1467026  Size: CH

Connector Part Information

    • AMP 936184-1
    • ?

Pin

Wire Color

Circuit No.

Function

1

L-GN

24

Backup Lamp Supply Voltage

2

BN/BK

241

Ignition 2 Voltage

Center High Mount Stop Lamp


Object Number: 1467020  Size: CH

Connector Part Information

    • KET MG 610070
    • 2-Way F 090 (2.3 mm) Series (WH)

Pin

Wire Color

Circuit No.

Function

1

BK

850

Ground

2

L-BU

20

Stop Lamp Supply Voltage

Courtesy Lamp


Object Number: 1467049  Size: CH

Connector Part Information

    • KET MG 610489
    • 2-Way F 090 (2.3 mm) Series (WH)

Pin

Wire Color

Circuit No.

Function

1

YE

804

Courtesy Lamp Control

2

RD/WH

840

Battery Positive Voltage

Courtesy Lamp Diode


Object Number: 1468509  Size: CH

Connector Part Information

    • KET MG 620102-5
    • 2-Way F DIODE Connector (BK)

Pin

Wire Color

Circuit No.

Function

1

WH/BK

159

Buzzer Warning

WH/BK

159

Buzzer Warning

2

WH

156

Courtesy Lamp Supply

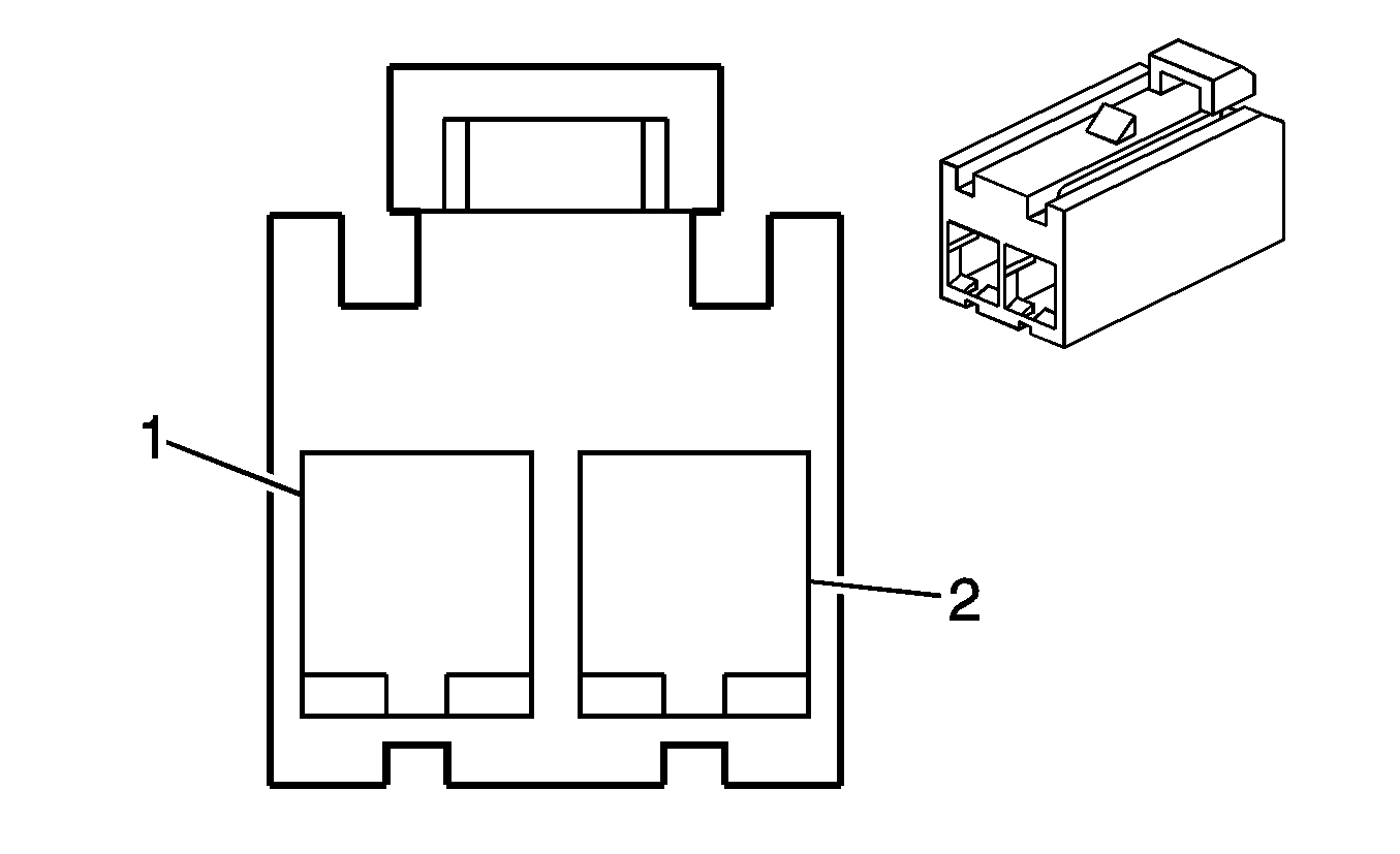
Daytime Running Lamp (DRL) Diode (0.8L)


Object Number: 1468509  Size: CH

Connector Part Information

    • KET MG 620102-5
    • 2-Way F DIODE Connector (BK)

Pin

Wire Color

Circuit No.

Function

A

BN/YE

33

Brake Warning Indicator Control

B

L-BU

35

Temperature Warning Lamp

Daytime Running Lamp (DRL) Module


Object Number: 1500892  Size: CH

Connector Part Information

    • F8-4
    • 8-Way F Connector (BK)

Pin

Wire Color

Circuit No.

Function

1

YE

712

Left Headlamp Low Beam Supply Voltage

2

D-BU

2641

Illumination Supply Voltage

3

BN/WH

309

Illumination Supply Voltage

4

RD/BK

1240

Battery Voltage

5

BN

31

Oil Pressure Indicator Control

6

PU

709

Left Park Lamp Supply Voltage

7

PK/D-BU

239

Ignition 1 Voltage

8

BK

650

Ground

Daytime Running Lamp (DRL) Relay (w/DRL)


Object Number: 1497842  Size: CH

Connector Part Information

    • Molex SD 35883-003
    • 9-Way F Relay (BK)

Pin

Wire Color

Circuit No.

Function

1

--

--

Not Used

2 (86)

RD/BK

1240

Battery Positive Voltage

3

--

--

Not Used

4 (30)

BN/WH

309

Illumination Voltage

5

--

--

Not Used

6 (85)

WH/BK

1080

Park Lamp Relay Control

7

--

--

Not Used

8 (87)

D-BU

2641

Illumination Voltage

9

--

--

Not Used

Door Jamb Switch - Driver


Object Number: 1467006  Size: CH

Connector Part Information

    • F1-11
    • ?

Pin

Wire Color

Circuit No.

Function

1

GY/BK

745

Door Switch Open Signal

Door Jamb Switch - Passenger


Object Number: 1467006  Size: CH

Connector Part Information

    • F1-11
    • ?

Pin

Wire Color

Circuit No.

Function

1

YE

804

Door Switch Open Signal

Door Jamb Switch - Rear (Left and Right)


Object Number: 1467006  Size: CH

Connector Part Information

    • KET ST 730173-1
    • 1-Way F 250 Series Connector (CL)

Pin

Wire Color

Circuit No.

Function

1

YE

804

Door Switch Open Signal

Fog Lamp - Left Front


Object Number: 1467028  Size: CH

Connector Part Information

    • PED 12124819
    • ?

Pin

Wire Color

Circuit No.

Function

1

YE

1769

Fog Lamp Switch Supply Voltage

2

BK

50

Ground

Fog Lamp - Right Front


Object Number: 1467028  Size: CH

Connector Part Information

    • PED 12124819
    • ?

Pin

Wire Color

Circuit No.

Function

1

YE

1769

Fog Lamp Switch Supply Voltage

2

BK

250

Ground

Fog Lamp Switch - Rear


Object Number: 1467028  Size: CH

Connector Part Information

    • MG 620393
    • ?

Pin

Wire Color

Circuit No.

Function

1

YE

1977

Rear Fog Lamp Relay Control

2

BK

550

Ground

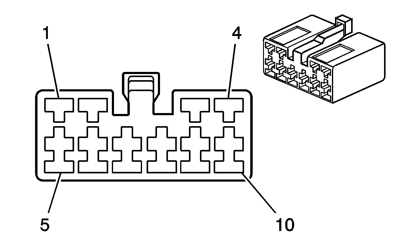
Hazard Switch


Object Number: 1467018  Size: CH

Connector Part Information

    • KET MG 612234
    • ?

Pin

Wire Color

Circuit No.

Function

1

--

--

Not Used

2

D-GN

440

Illumination Ground

3

BN/WH

309

Illumination Supply Voltage

4

L-GN

62

Hazard Indicator Supply Voltage

5

L-BU

14

Left Turn Signal Lamps Supply Voltage

6

D-BU

15

Right Turn Signal Lamps Supply Voltage

7

L-BU/RD

1508

Turn/Hazard Module Voltage

8

RD/WH

1040

Battery Positive Voltage

9

PU

16

Turn Signal Flasher Signal

10

PK/D-BU

239

Ignition 1 Voltage

Headlamp Assembly - Left (Leveling)


Object Number: 1467094  Size: CH

Connector Part Information

    • KET MG 641234-5
    • 3-Way F SSD & 0509 (BK)

Pin

Wire Color

Circuit No.

Function

1

BK

50

Ground

2

D-GN

189

Headlamp Leveling Motor Supply Voltage

3

PU

709

Left Park Lamp Supply Voltage

Headlamp Assembly - Right (Leveling)


Object Number: 1467094  Size: CH

Connector Part Information

    • KET MG 641234-5
    • 3-Way F SSD & 0509 (BK)

Pin

Wire Color

Circuit No.

Function

1

BK

250

Ground

2

D-GN

189

Headlamp Leveling Motor Supply Voltage

3

BN/WH

309

Right Park Lamp Supply Voltage

Headlamp Leveling Switch


Object Number: 1468511  Size: CH

Connector Part Information

    • MOLEX 5557-046R
    • 6-Way F Mini Fit Conn. Rec. Housing (WH)

Pin

Wire Color

Circuit No.

Function

1

BN/WH

309

Right Park Lamp Supply Voltage

2

YE

712

Left Headlamp Low Beam Voltage

3

D-GN

189

Headlamp Leveling Motor Supply Voltage

4

D-GN

44

Illumination Ground

5

--

--

Not Used

6

BK

550

Ground

Headlamp - Left


Object Number: 1481284  Size: CH

Connector Part Information

    • OPES PH-2
    • 3-Way F Connector (WH)

Pin

Wire Color

Circuit No.

Function

1

D-GN/WH

711

Left Headlamp High Beam Supply Voltage

2

YE

712

Left Headlamp Low Beam Supply Voltage

3

BK

50

Ground

Headlamp - Right


Object Number: 1481284  Size: CH

Connector Part Information

    • OPES PH-2
    • 3-Way F Connector (WH)

Pin

Wire Color

Circuit No.

Function

1

L-GN/BK

311

Right Headlamp High Beam Supply Voltage

2

BN/WH

312

Right Headlamp Low Beam Supply Voltage

3

BK

250

Ground

HVAC Illumination Lamp


Object Number: 1467007  Size: CH

Connector Part Information

    • KET MG 610043
    • 2-Way F 250 Series (WH)

Pin

Wire Color

Circuit No.

Function

1

D-GN

44

Illumination Ground

2

BN/WH

309

Illumination Voltage

License Lamp


Object Number: 1467028  Size: CH

Connector Part Information

    • MG 620074
    • ?

Pin

Wire Color

Circuit No.

Function

1

PU

709

License Lamp Supply Voltage

2

BK

850

Ground

Light Switch


Object Number: 1468511  Size: CH

Connector Part Information

    • MOLEX 5559-06R
    • 6-Way Mini Fit Conn. Rec. Housing (WH)

Pin

Wire Color

Circuit No.

Function

1

BN/WH

309

Illumination Voltage

2

YE

10

Headlamp Switch Signal

3

BK

550

Ground

4

--

--

Not Used

5

YE

317

Fog Lamp Voltage

6

YE/BK

1081

Park Lamp Relay Control

WH

1080

Park Lamp Relay Control

Park Position Lamp - Left Front


Object Number: 1467029  Size: CH

Connector Part Information

    • AMP 936187-3
    • ?

Pin

Wire Color

Circuit No.

Function

A

PU

709

Left Park Lamp Supply Voltage

B

BK

50

Ground

C

L-BU

14

Left Turn Signal Supply Voltage

Park Position Lamp - Right Front


Object Number: 1467029  Size: CH

Connector Part Information

    • AMP 936187-3
    • ?

Pin

Wire Color

Circuit No.

Function

A

BN/WH

309

Right Park Lamp Supply Voltage

B

BK

250

Ground

C

D-BU

15

Right Turn Signal Supply Voltage

Rear Compartment Lamp


Object Number: 1481285  Size: CH

Connector Part Information

    • SSP F2-14
    • 2-Way F Connector (BK)

Pin

Wire Color

Circuit No.

Function

1

RW

840

Battery Positive Voltage

2

--

--

Not Used

3

YE

804

Rear Compartment Lid Ajar Switch Signal

Rear Fog Lamp


Object Number: 1467029  Size: CH

Connector Part Information

    •  AMP 936184-1
    • ?

Pin

Wire Color

Circuit No.

Function

1

OG

122

Rear Fog Lamp Supply Voltage

2

BK

850

Ground (LHD)

950

Ground (RHD)

Rear Fog Lamp Relay


Object Number: 281199  Size: CH

Connector Part Information

    • ?
    • ?

Pin

Wire Color

Circuit No.

Function

1 (15)

BN/WH

312

Headlamp Relay Control

2 (30)

BN/BK

241

Ignition 2 Voltage

3

--

--

Not Used

4 (E)

YE

1977

Fog Lamp Relay Control

5

YE

317

Fog Lamp Relay Voltage

6 (31)

BK

550

Ground

7

--

--

Not Used

8 (87)

OG

122

Rear Fog Lamp Supply Voltage

OG

122

Rear Fog Lamp Supply Voltage

9

--

--

Not Used

Shift Indicator Lamp


Object Number: 1468402  Size: CH

Connector Part Information

    • KET MG 620042
    • 2-Way M 250 Series

Pin

Wire Color

Circuit No.

Function

1

BN/WH

309

Illumination Voltage

2

D-GN

44

Illumination Ground

Stop Lamp Switch


Object Number: 1467011  Size: CH

Connector Part Information

    • KET MG 610267
    • ?

Pin

Wire Color

Circuit No.

Function

1

PK

390

Ignition 1 Voltage

2

L-BU/D-BU

20

Stop Lamp Supply Voltage

3

WH

17

Stop Lamp Switch Signal

4

RD/YE

740

Battery Positive Voltage

Tail Lamp - Left Rear


Object Number: 1466979  Size: CH

Connector Part Information

    • KET MG 610159
    • ?

Pin

Wire Color

Circuit No.

Function

1

PU

709

Left Park Lamp Supply Voltage

2

BK

850

Ground

3

L-BU

14

Left Turn Signal Supply Voltage

4

L-BU/D-BU

20

Stop Lamp Supply Voltage

Tail Lamp - Right Rear


Object Number: 1466979  Size: CH

Connector Part Information

    • KET MG 610159
    • ?

Pin

Wire Color

Circuit No.

Function

1

BN/WH

309

Right Park Lamp Supply Voltage

2

BK

950

Ground

3

D-BU

15

Right Turn Signal Supply Voltage

4

L-BU/D-BU

20

Stop Lamp Supply Voltage

Turn Relay


Object Number: 281199  Size: CH

Connector Part Information

    • ?
    • ?

Pin

Wire Color

Circuit No.

Function

1-3

--

--

Not Used

4 (31)

BK

550

Ground

5

--

--

Not Used

6 (49)

L-BU

1508

Turn Signal Switch Voltage

7

--

--

Not Used

8 (49a)

PU

16

Turn Signal Flasher Signal

PU

16

Turn Signal Flasher Signal

PU

16

Turn Signal Flasher Signal

9

--

--

Not Used

Turn Signal Multifunction Switch


Object Number: 1467023  Size: CH

Connector Part Information

    • KET MG 610203
    • 7-Way F 118 (PA) Series (WH)

Pin

Wire Color

Circuit No.

Function

1

L-BU

14

Left Turn Signal Lamps Supply Voltage

2

PU

16

Turn Flasher Signal

3

D-BU

15

Right Turn Signal Lamps Supply Voltage

4

L-GN

11

Headlamp High Beam Supply Voltage

5

BN

12

Headlamp Low Beam Supply Voltage

6

YE

10

Headlamp Switch Signal

7

BK

550

Ground

Turn Signal Repeater Lamp - Left


Object Number: 1467026  Size: CH

Connector Part Information

    • AMP 936184-1
    • ?

Pin

Wire Color

Circuit No.

Function

1

L-BU

14

Left Turn Signal Lamps Supply Voltage

2

BK

50

Ground

Turn Signal Repeater Lamp - Right


Object Number: 1467026  Size: CH

Connector Part Information

    • AMP 936184-1
    • ?

Pin

Wire Color

Circuit No.

Function

1

D-BU

15

Right Turn Signal Lamps Voltage

2

BK

250

Ground