| Connector 1: | Inflatable Restraint Sensing and Diagnostic Module (SDM) |
| Connector 2: | Inflatable Restraint I/P Module |
| Connector 3: | Inflatable Restraint Side Impact Module - Driver |
| Connector 4: | Inflatable Restraint Side Impact Module - Passenger |
| Connector 5: | Inflatable Restraint Side Impact Sensor - Driver |
| Connector 6: | Inflatable Restraint Side Impact Sensor - Passenger |
| Connector 7: | Inflatable Restraint Steering Wheel Module |
| Connector 8: | Inflatable Restraint Steering Wheel Module Coil |
| Connector 9: | Seat Belt Pretensioner - Driver |
| Connector 10: | Seat Belt Pretensioner - Passenger |
Connector Part Information
|
Pin | Wire | Circuit | Function |
|---|---|---|---|
A1 | WH | 347 | Steering Wheel Module - High |
A2 | D-GN | 348 | Steering Wheel Module - Low |
A3 | D-GN/WH | 1404 | Instrument Panel (I/P) Module - Low |
A4 | WH/BK | 1403 | Instrument Panel (I/P) Module - High |
A5 | BN/WH | 2118 | Seat Belt Pretensioner (Driver) - High (A70) |
BN/BK | 2105 | Driver Side Module - High (AJ7 w/o A70) | |
A6 | OG/WH | 2119 | Seat Belt Pretensioner (Driver) - Low (A70) |
L-GN/RD | 2106 | Drive Side Module - Low (AJ7 w/o A70) | |
A7 | OG | 2117 | Seat Belt Pretensioner (Passenger) - Low (A70) |
D-GN/WH | 2104 | Passenger Side Moule - Low (AJ7 w/o A70) | |
A8 | L-GN | 2116 | Seat Belt Pretensioner (Passenger) - High (A70) |
PU | 2103 | Passenger Side Module - High (AJ7 w/o A70) | |
A9 | BK | 250 | Ground |
A10 | PK/BK | 139 | Ignition 2 |
A11 | L-GN | 377 | SDM Serial Data |
A12-A17 | -- | -- | Not Used |
A18 | BN | 358 | Warning Lamp |
B1-B8 | -- | -- | Not Used |
C1 | D-GN | 2105 | Driver Side Module - High (AJ7 w/A70) |
C2 | BN | 2106 | Driver Side Module - Low (AJ7 w/A70) |
C3 | D-BU | 2104 | Passenger Side Module - Low (AJ7 w/A70) |
C4 | GY | 2103 | Passenger Side Module - High (AJ7 w/A70) |
C5 | D-GN/WH | 6620 | Driver Side Impact Sensor Signal |
C6 | GY/BK | 6621 | Driver Side Impact Sensor Return |
C7 | L-GN/WH | 6625 | Passenger Side Impact Sensor Return |
C8 | L-BU/BK | 6624 | Passenger Side Impact Sensor Signal |
Connector Part Information
|
Pin | Wire | Circuit | Function |
|---|---|---|---|
A | WH/BK | 1403 | Instrument Panel (I/P) Module - High |
B | D-GN/WH | 1404 | Instrument Panel (I/P) Module - Low |
Connector Part Information
|
Pin | Wire | Circuit | Function |
|---|---|---|---|
1 | BN | 2106 | Driver Side Module - Low |
2 | D-GN | 2105 | Driver Side Module - High |
Connector Part Information
|
Pin | Wire | Circuit | Function |
|---|---|---|---|
1 | BN/WH | 2118 | Passenger Side Module - High |
2 | OG/WH | 2119 | Passenger Side Module - Low |
Connector Part Information
|
Pin | Wire | Circuit | Function |
|---|---|---|---|
A | GY/BK | 6621 | Driver Side Impact Sensor Return |
B | D-GN/WH | 6620 | Driver Side Impact Sensor Signal |
Connector Part Information
|
Pin | Wire | Circuit | Function |
|---|---|---|---|
A | L-GN/WH | 6625 | Passenger Side Impact Sensor Return |
B | L-BU/BK | 6624 | Passenger Side Impact Sensor Signal |
Connector Part Information
|
Pin | Wire | Circuit | Function |
|---|---|---|---|
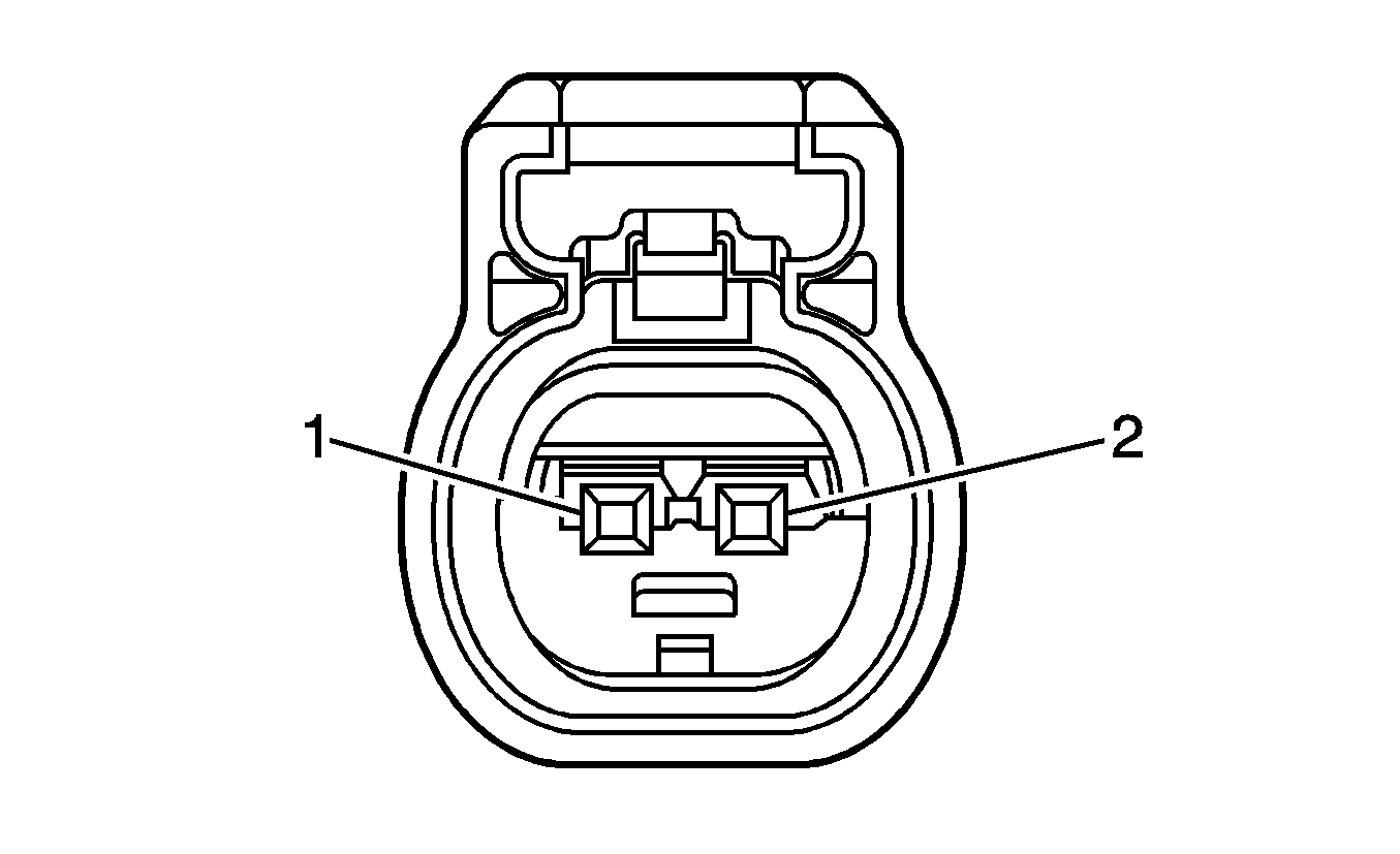
1 | D-GN | 348 | Steering Wheel Module - Low |
2 | WH | 347 | Steering Wheel Module - High |
Connector Part Information
|
Pin | Wire | Circuit | Function |
|---|---|---|---|
A | D-GN | 348 | Steering Wheel Module - Low Control |
B | WH | 347 | Steering Wheel Module - High Control |
Connector Part Information
|
Pin | Wire | Circuit | Function |
|---|---|---|---|
1 | BN/WH | 2118 | Seat Belt Pretensioner Driver High Control |
2 | OG/WH | 2119 | Seat Belt Pretensioner Driver Low Control |
Connector Part Information
|
Pin | Wire | Circuit | Function |
|---|---|---|---|
1 | L-GN | 2116 | Seat Belt Pretensioner Passenger High Control |
2 | OG | 2117 | Seat Belt Pretensioner Passenger Low Control |