GM Service Manual Online
For 1990-2009 cars only
Connector 1: Electronic Brake Control Module (EBCM)
Connector 2: Oil Feeding Connector
Connector 3: Wheel Speed Sensor (WSS) - Left Front
Connector 4: Wheel Speed Sensor (WSS) - Left Rear
Connector 5: Wheel Speed Sensor (WSS) - Right Front
Connector 6: Wheel Speed Sensor (WSS) - Right Rear

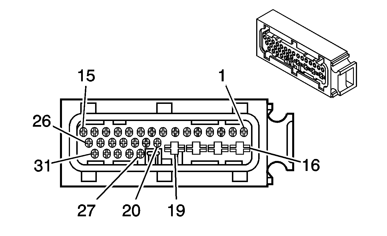
Electronic Brake Control Module (EBCM)


Object Number: 1509184  Size: CH

Connector Part Information

  • OEM: 1-953042-3
  • Service: N/A
  • Description: 31-Way F Hybrid Timer Series (BK)

Electronic Brake Control Module (EBCM)

Pin

Wire

Circuit

Function

1

WH

883

Wheel Speed Sensor Return - Right Rear

2

--

--

Not Used

3

BN

882

Wheel Speed Sensor Signal - Right Rear

4

BN

833

Wheel Speed Sensor Return - Right Front

5

D-GN

872

Wheel Speed Sensor Signal - Right Front

6

YE

873

Wheel Speed Sensor Return - Left Front

7

L-BU

830

Wheel Speed Sensor Signal - Left Front

8

OG

885

Wheel Speed Sensor Return - Left Rear

9

BN

884

Wheel Speed Sensor Signal - Left Rear

10

--

--

Not Used

11

BN/WH

799

Serial Data

12-13

--

--

Not Used

14

L-BU/D-BU

20

Stop Lamp Signal

15

PK/RD

339

Ignition 1 Voltage

16

BK

150

Ground

17

RD/BK

342

Battery Voltage

18

RD/BK

342

Battery Voltage

19

BK

150

Ground

20

L-GN/BK

875

ABS Indicator Control

21

BN/WH

33

Parking Brake Signal

22-25

--

--

Not Used

26

WH

1909

Wheel Speed Signal

27-31

--

--

Not Used

Oil Feeding Connector


Object Number: 1468405  Size: CH

Connector Part Information

  • OEM: MG640322
  • Service: N/A
  • Description: 2-Way M SWP Series (BK)

Oil Feeding Connector

Pin

Wire

Circuit

Function

1

BN/WH

799

Serial Data - Electronic Brake Control Module (EBCM) (w/ABS)

2

BK

50

Ground

Wheel Speed Sensor (WSS) - Left Front


Object Number: 1466983  Size: CH

Connector Part Information

  • OEM: 174354-2
  • Service: N/A
  • Description: 2-Way M Econoseal J-Mark II+ Series (BK)

Wheel Speed Sensor (WSS) - Left Front

Pin

Wire

Circuit

Function

1

L-BU

830

Wheel Speed Sensor Signal - Left Front

2

YE

873

Wheel Speed Sensor Return - Left Front

Wheel Speed Sensor (WSS) - Left Rear


Object Number: 1466983  Size: CH

Connector Part Information

  • OEM: 174354-2
  • Service: N/A
  • Description: 2-Way M Econoseal J-Mark II+ Series (BK)

Wheel Speed Sensor (WSS) - Left Rear

Pin

Wire

Circuit

Function

1

BN

884

Wheel Speed Sensor Signal - Left Rear

2

OG

885

Wheel Speed Sensor Return - Left Rear

Wheel Speed Sensor (WSS) - Right Front


Object Number: 1466983  Size: CH

Connector Part Information

  • OEM: 174354-2
  • Service: N/A
  • Description: 2-Way M Econoseal J-Mark II+ Series (BK)

Wheel Speed Sensor (WSS) - Right Front

Pin

Wire

Circuit

Function

1

D-GN

872

Wheel Speed Sensor Signal - Right Front

2

BN

833

Wheel Speed Sensor Return - Right Front

Wheel Speed Sensor (WSS) - Right Rear


Object Number: 1466983  Size: CH

Connector Part Information

  • OEM: 174354-2
  • Service: N/A
  • Description: 2-Way M Econoseal J-Mark II+ Series (BK)

Wheel Speed Sensor (WSS) - Right Rear

Pin

Wire

Circuit

Function

1

BN

882

Wheel Speed Sensor Signal - Right Rear

2

WH

883

Wheel Speed Sensor Return - Right Rear