GM Service Manual Online
For 1990-2009 cars only

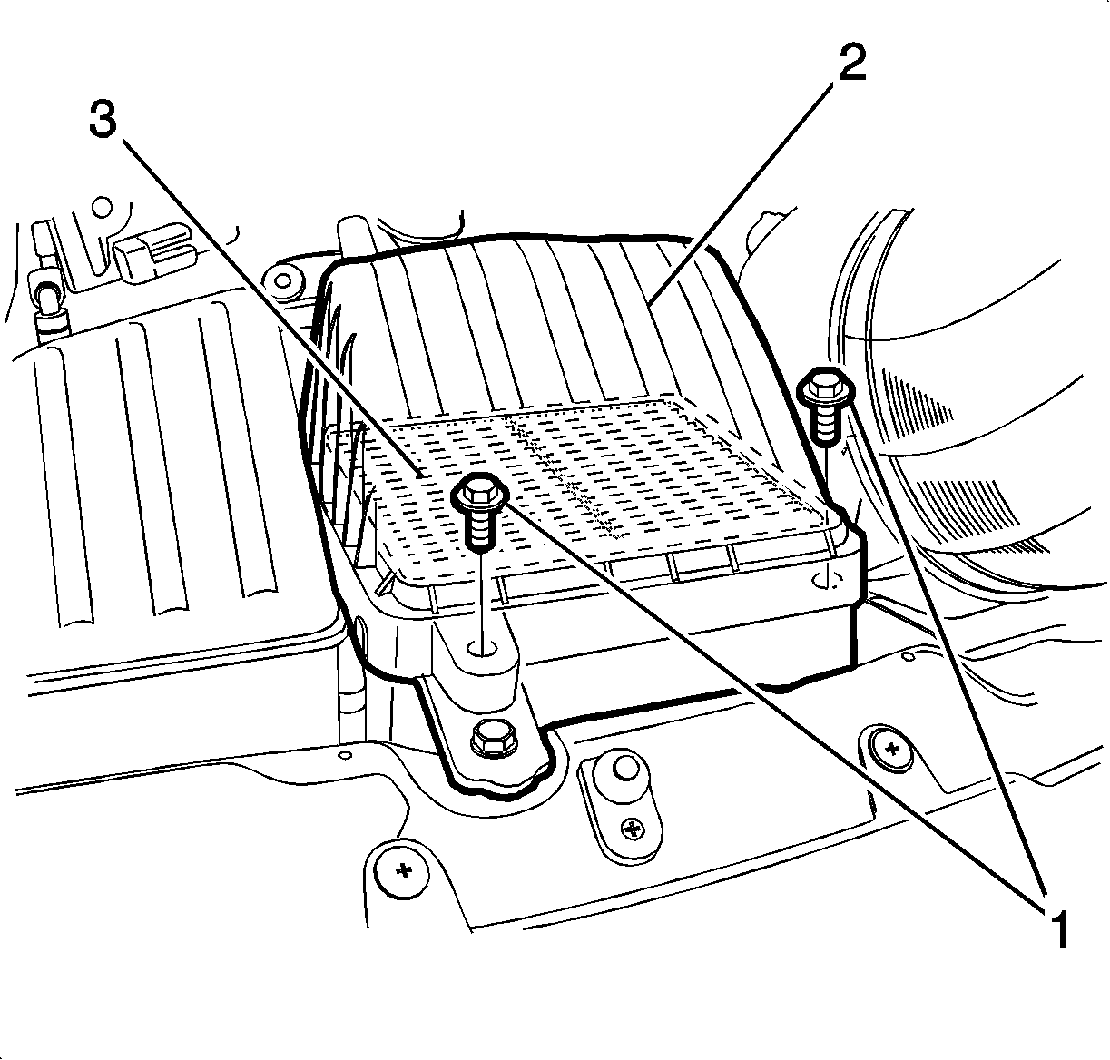
Removal Procedure


    Object Number: 1203470  Size: SH
  1. Remove the air filter element bolts (1).
  2. Remove the air filter upper housing with connecting manifold air temperature sensor with intake tube (2).
  3. Remove the air filter element (3).

Installation Procedure


    Object Number: 1203470  Size: SH
  1. Install the air filter element (3).
  2. Install the air filter upper housing by connecting the manifold air temperature sensor to the intake tube (2).
  3. Install the air filter element bolts.