- Inspect the outer race and input shaft for the following:
| • | Worn or damaged splines |
| • | Scoring inside the diameter of the race |
- Inspect the sprag elements for flat spots.
- Inspect the cage for distortion or broken ribbon tabs.
- Inspect the inner bearing for cracks.
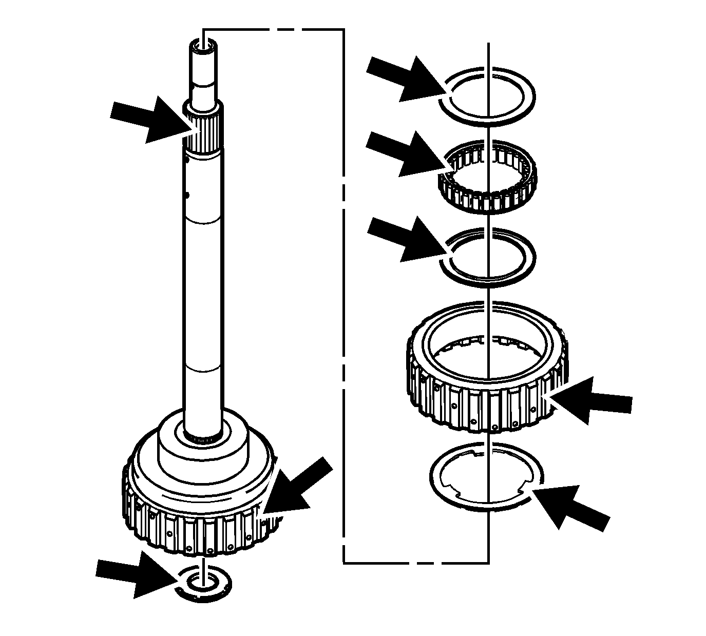
- Install the inner roller bearing (456).
- Install the new inner race thrust ring (455).
- Install the outer race washer (458) onto the outer race (459).
- Install the retaining rings (460) and the forward clutch sprag (461) onto the outer race (459).
- Install the sprag assembly (460, 461, 459) onto the sun gear shaft (457).
- Check that the forward clutch sprag rotation freewheels and locks up in the correct
direction.
- Install the input sun gear shaft (8) into the case.