GM Service Manual Online
For 1990-2009 cars only

    Object Number: 749381  Size: SH
  1. Install the transmission case fluid passage cover (40).
  2. Notice: Use the correct fastener in the correct location. Replacement fasteners must be the correct part number for that application. Fasteners requiring replacement or fasteners requiring the use of thread locking compound or sealant are identified in the service procedure. Do not use paints, lubricants, or corrosion inhibitors on fasteners or fastener joint surfaces unless specified. These coatings affect fastener torque and joint clamping force and may damage the fastener. Use the correct tightening sequence and specifications when installing fasteners in order to avoid damage to parts and systems.

  3. Install the 2 - M6 x 1.0 x 14 mm transmission case fluid passage cover bolts (41).
  4. Tighten
    Tighten the transmission case fluid passage cover bolts to 5 N·m (44 lb in).


    Object Number: 749382  Size: SH
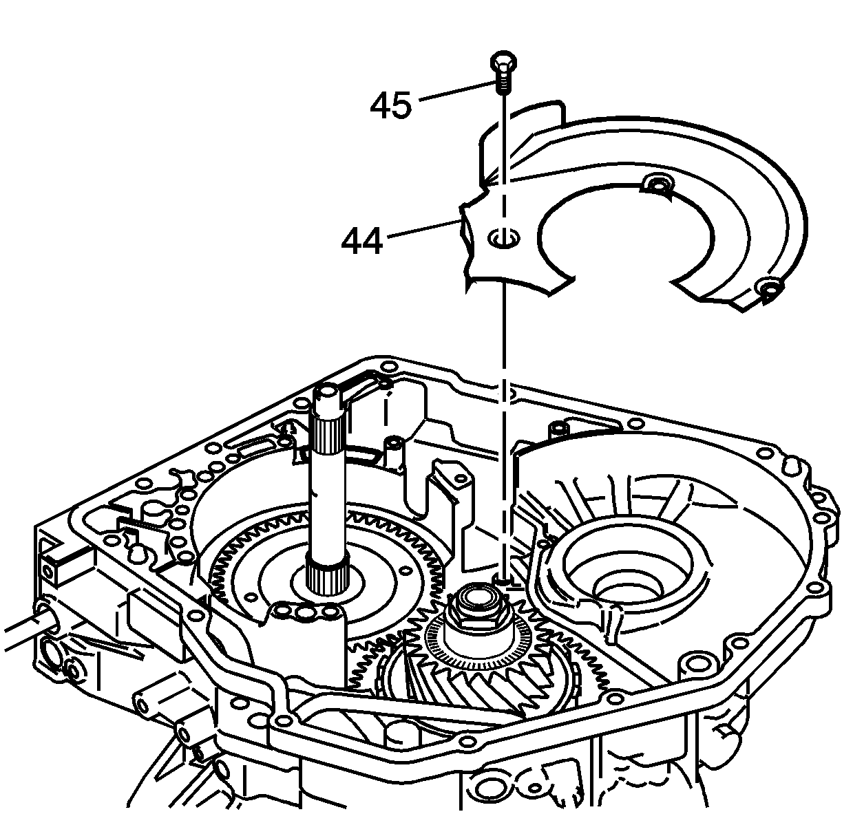
  5. Install the transmission fluid baffle (44).
  6. Install the 3 - M6 x 1.0 x 14 mm transmission fluid baffle bolts (45).
  7. Tighten
    Tighten the transmission fluid baffle bolts to 5 N·m (44 lb in).