GM Service Manual Online
For 1990-2009 cars only

Removal Procedure


    Object Number: 1222924  Size: SH
  1. Remove the rear seat back assembly. Refer to Rear Seat Back Replacement .
  2. Remove the lock knob from the seat back by twisting it (1).

  3. Object Number: 1222929  Size: SH
  4. Remove the rear seat back cover from the seat back frame.
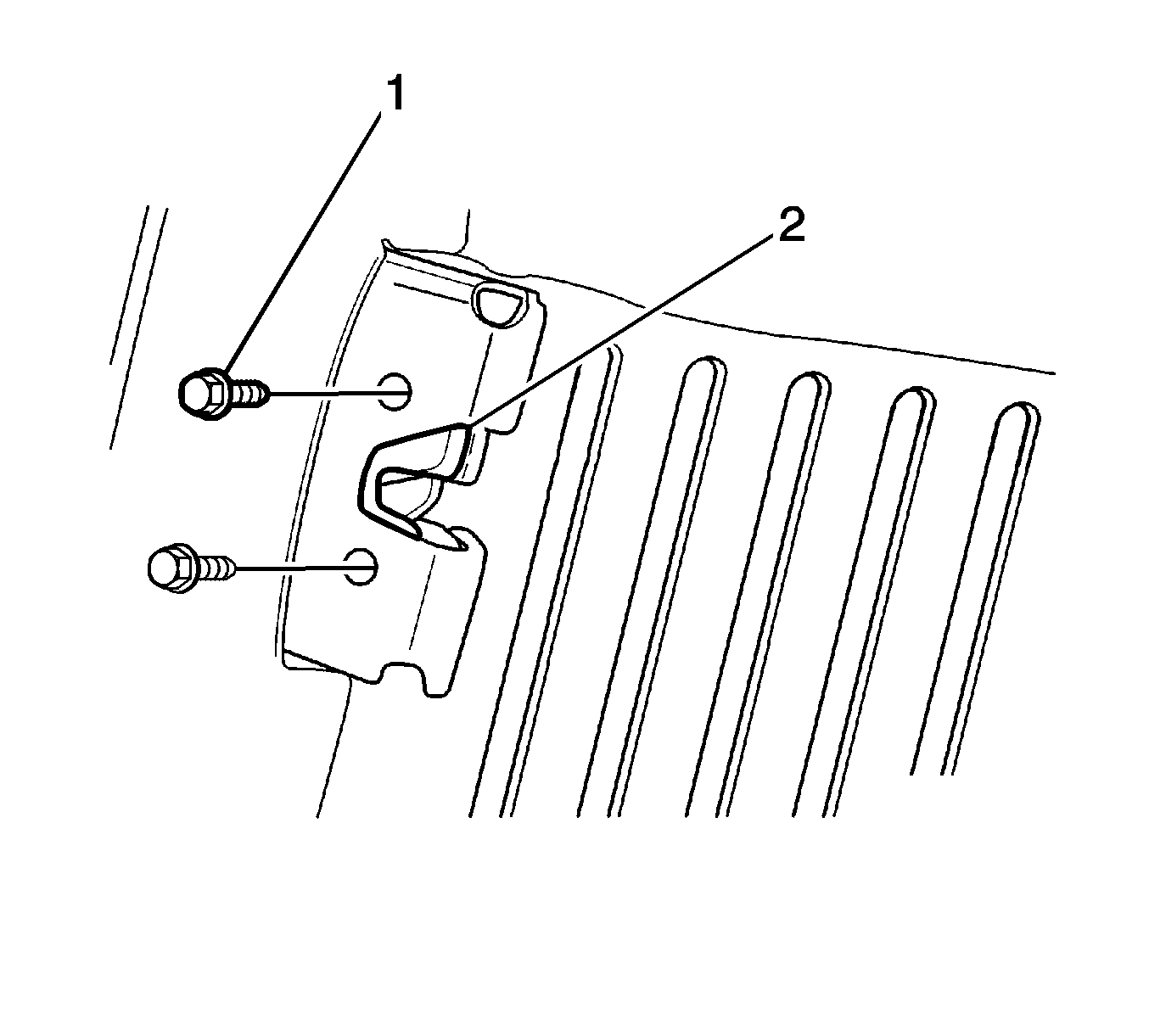
  5. Remove the bolts (1).
  6. Remove the lock (2) from the seat back frame.

Installation Procedure


    Object Number: 1222932  Size: SH
  1. Install the lock to the seat back frame with the bolts.
  2. Install the rear seat back cover to the seat back frame.

  3. Object Number: 1222924  Size: SH
  4. Install the lock knob to the seat back.
  5. Install the rear seat back assembly. Refer to Rear Seat Back Replacement .