GM Service Manual Online
For 1990-2009 cars only
Makes
🢒
Pontiac
🢒
2005
🢒
Montana
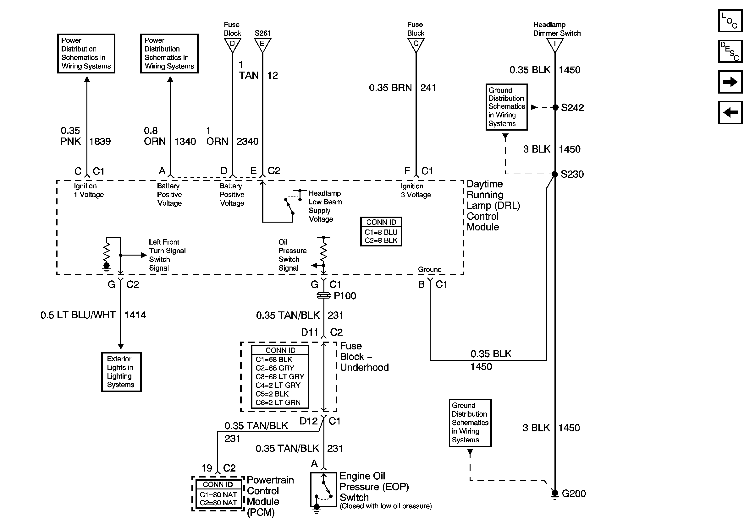
🢒 Daytime Running Lamp Control Module
Daytime Running Lamp Control Module
Daytime Running Lamps Control Module
Master Electrical Component List
Exterior Lighting Systems Description and Operation
Headlights
DRL Headlamp and Headlamp Dimmer Switch - Export
IGN Main 1, PCM/ABS, CAN VENT SOL, DRL and PCM/CRANK Fuses
EBCM, BATT Main 1, RADIO and PARK LP Fuses
Front Turn Signal Lamps
DRL Headlamp and Headlamp Dimmer Switch - Export
DRL Headlamp and Headlamp Dimmer Switch - Export
DRL Headlamp and Headlamp Dimmer Switch - Export
DRL Headlamp and Headlamp Dimmer Switch - Export
G200, Page 1 of 3
G200, Page 1 of 3