GM Service Manual Online
For 1990-2009 cars only
Makes
🢒
Pontiac
🢒
2005
🢒
Montana
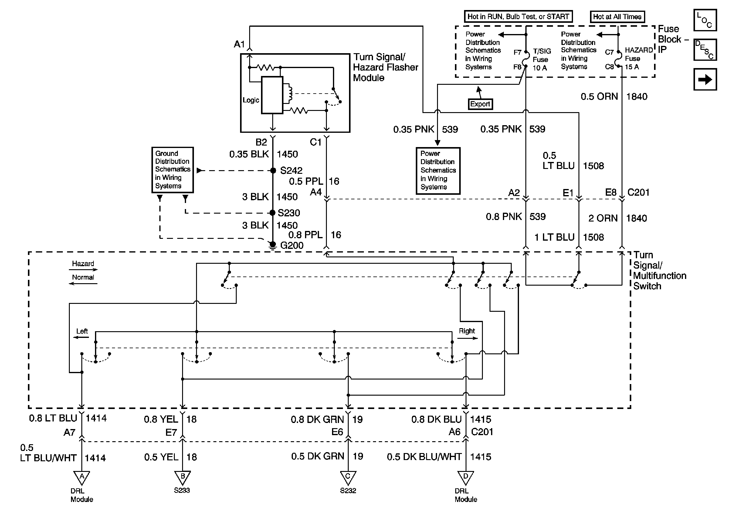
🢒 Turn Signal/Hazard Lamp Control
Turn Signal/Hazard Lamp Control
Turn Signal/Hazard Lamp Control
Master Electrical Component List
Exterior Lighting Systems Description and Operation
Stop Lamps
G200, Page 1 of 3
IGN Main 1, SDM, T/SIG, CRUISE and PCM PASS KEY/CLUSTER Fuses
IGN Main 1, SDM, T/SIG, CRUISE and PCM PASS KEY/CLUSTER Fuses
Headlamps and Fuse Block - I/P Fuses
Front Turn Signal Lamps
Marker, Front Park, and Rear Turn Signals Lamps, and Turn Indicators
Marker, Front Park, and Rear Turn Signals Lamps, and Turn Indicators
Front Turn Signal Lamps