GM Service Manual Online
For 1990-2009 cars only
Makes
🢒
Pontiac
🢒
2000
🢒
Montana Ext.
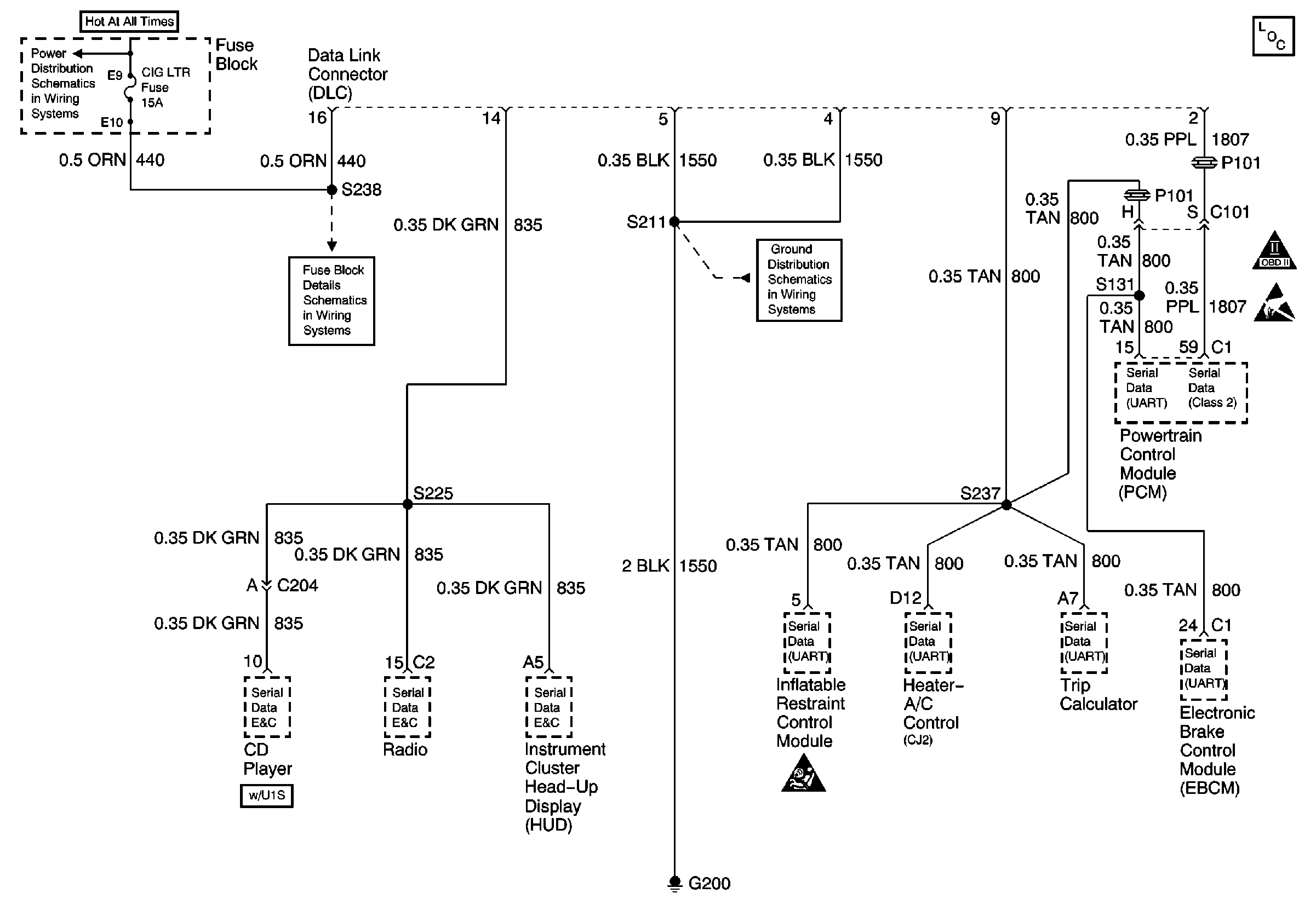
🢒 DLC Schematic 1 of 4
DLC Schematic 1 of 4
(1 of 4)