GM Service Manual Online
For 1990-2009 cars only
Makes
🢒
Pontiac
🢒
2004
🢒
Montana Ext.
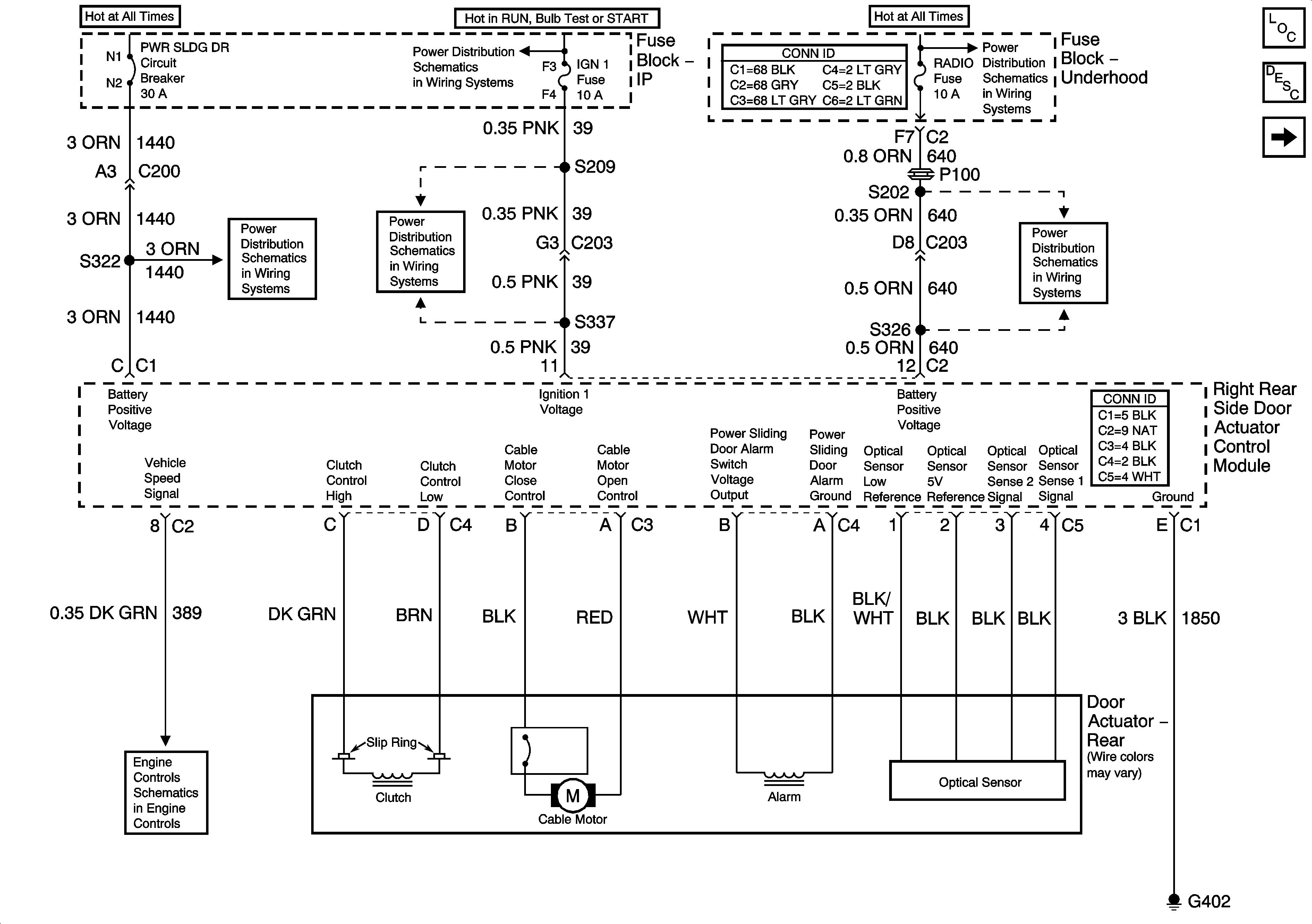
🢒 Right Door Power, Ground and PSD Motor
Right Door Power, Ground and PSD Motor
Right Door Power, Ground and PSD Motor
Master Electrical Component List
Power Sliding Door (PSD) Description and Operation
Right Door PSD Switches, Park/Neutral Switch and RCDLR
IGN Main 1, SDM, T/SIG, CRUISE and PCM PASS KEY/CLUSTER Fuses
EBCM, BATT Main 1, RADIO and PARK LP Fuses
BATT Main 2, ELC/TRAILER, RR FOG LP Fuses
IGN Main 1, SDM, T/SIG, CRUISE and PCM PASS KEY/CLUSTER Fuses
EBCM, BATT Main 1, RADIO and PARK LP Fuses
Engine Data Sensors - MAF and VSS