GM Service Manual Online
For 1990-2009 cars only
Makes
🢒
Pontiac
🢒
2004
🢒
Montana Ext.
🢒 Rear Quarter Windows
Rear Quarter Windows
Rear Quarter Windows
Master Electrical Component List
Rear Quarter Window Description and Operation
I/P REAR HATCH AJAR Telltale
Rear Object Sensor Control Module, Power and Ground
Vanity and Reading Lamps
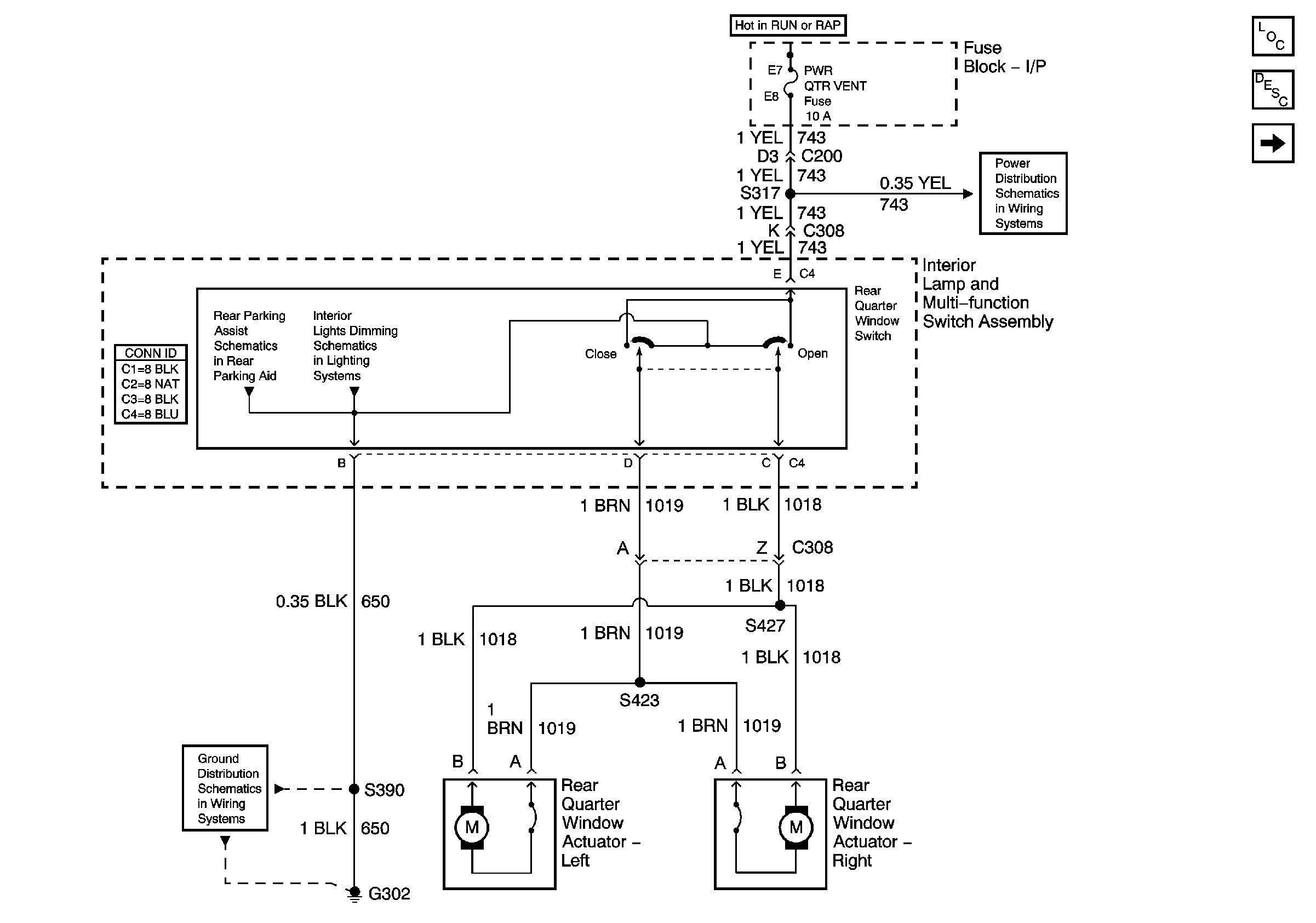
G302, Page 1 of 3
RAP Relay, Fuse Block - Underhood, and Fuse Block - I/P Fuses