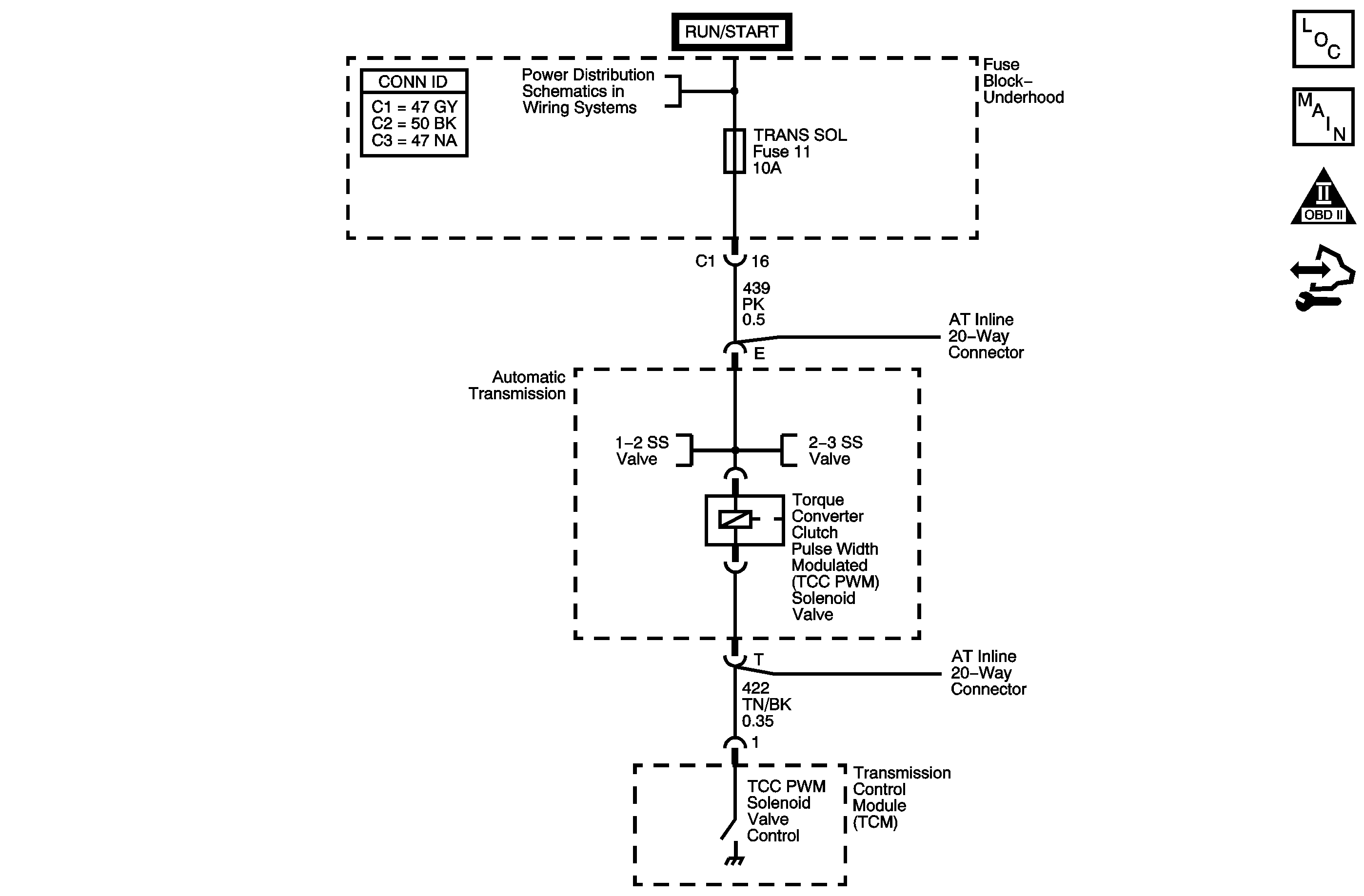
The torque converter clutch pulse width modulated (TCC PWM) solenoid valve is a normally closed solenoid used to control the apply and release of the converter clutch. The transmission control module (TCM) operates the solenoid with a negative duty cycle. When vehicle operating conditions are appropriate to apply the TCC, the TCM immediately increases the duty cycle to approximately 42 percent. The TCM then ramps the duty cycle to approximately 90 percent to achieve full TCC apply pressure. When the solenoid is commanded OFF, the TCM senses high voltage. When the solenoid is commanded ON, the TCM senses low voltage.
When the TCM detects a continuous short to voltage in the TCC PWM solenoid valve circuit, then DTC P2763 sets. DTC P2763 is a type B DTC.
This diagnostic procedure supports the following DTC:
DTC P2763 Torque Converter Clutch (TCC) Pressure Control (PC) Solenoid Control Circuit High Voltage
| • | The engine is running for 5 seconds. |
| • | The TCC is commanded ON. |
The TCM detects a short to voltage on the TCC PWM solenoid valve circuit for 4.4 seconds.
| • | The TCM illuminates the malfunction indicator lamp (MIL) during the second consecutive trip in which the Conditions for Setting the DTC are met. |
| • | The TCM commands maximum line pressure. |
| • | The TCM forces the TCC solenoid OFF. |
| • | The TCM inhibits TCC engagement. |
| • | The TCM freezes transmission adaptive functions. |
| • | The TCM inhibits 4th gear when in HOT mode. |
| • | The TCM records the operating conditions when the Conditions for Setting the DTC are met. The TCM stores this information as Freeze Frame and Failure Records. |
| • | The TCM stores DTC P2763 in TCM history. |
| • | The TCM turns OFF the MIL during the third consecutive trip in which the diagnostic test runs and passes. |
| • | A scan tool can clear the MIL/DTC. |
| • | The TCM clears the DTC from TCM history if the vehicle completes 40 warm-up cycles without an emission related diagnostic fault occurring. |
| • | The TCM cancels the DTC default actions when the ignition switch is OFF long enough in order to power down the TCM. |
Ensure the wiring harness is not stretched too tightly or other components are pressing on the A/T inline 20-way connector body. Also inspect for proper clearance to any other components and wiring. Refer to Testing for Intermittent Conditions and Poor Connections .
The number below refers to the step number on the diagnostic table.
This step tests the TCM and the wiring to the transmission.
This step verifies that the circuit has the correct resistance.
Step | Action | Value(s) | Yes | No | ||||
|---|---|---|---|---|---|---|---|---|
1 | Did you perform the Diagnostic System Check - Vehicle? | -- | Go to Step 2 | |||||
2 |
Important: Before clearing the DTCs, use the scan tool in order to record the Freeze Frame and Failure Records for reference. Using the Clear Info function will erase the stored Freeze Frame and Failure Records from the TCM. When the TCC Duty Cycle is above 40 percent, does the scan tool display indicate a short to voltage? | -- | Go to Step 3 | Go to Testing for Intermittent Conditions and Poor Connections | ||||
Refer to Automatic Transmission Inline 20-Way Connector End View . Is the test lamp ON? | -- | Go to Step 4 | Go to Step 5 | |||||
4 | Test the control circuit of the TCC PWM Solenoid valve for a short to voltage between the TCM connector and the AT inline 20-way connector. Refer to Testing for a Short to Voltage and Wiring Repairs . Did you find and correct the condition? | -- | Go to Step 10 | Go to Step 9 | ||||
Refer to Automatic Transmission Inline 20-Way Connector End View . Is the resistance less than the specified value? | 10 ohms | Go to Step 6 | Go to Testing for Intermittent Conditions and Poor Connections | |||||
6 |
Is the resistance less than the specified value? | 10 ohms | Go to Step 7 | Go to Step 8 | ||||
7 | Replace the automatic transmission wiring harness. Refer to Wiring Harness Replacement . Did you complete the replacement? | -- | Go to Step 10 | -- | ||||
8 | Replace the TCC PWM solenoid valve. Refer to Torque Converter Clutch Pulse Width Modulation Solenoid Replacement . Did you complete the replacement? | -- | Go to Step 10 | -- | ||||
9 | Replace the TCM. Refer to Control Module References for replacement, setup and programming. Did you complete the replacement? | -- | Go to Step 10 | -- | ||||
10 | Perform the following procedure in order to verify the repair:
Has the test run and passed? | -- | Go to Step 11 | Go to Step 2 | ||||
11 | With a scan tool, observe the stored information, capture info and DTC info. Does the scan tool display any DTCs that you have not diagnosed? | -- | System OK |