GM Service Manual Online
For 1990-2009 cars only
Connector 1: Powertrain Control Module (PCM) C1
Connector 2: Powertrain Control Module (PCM) C2
Connector 3: Powertrain Control Module (PCM) C3

Powertrain Control Module (PCM) C1


Object Number: 1228485  Size: CH

Connector Part Information

  • OEM: 15452125
  • Service: 88953346
  • Description: 56-Way F Micro-Pack 64 Series (BU)

Terminal Part Information

  • Terminal: 15359541/Tray 4
  • Core/Insulation Crimp: M/M
  • Release Tool/Test Probe: 15381651-2/J-35616-64A

Powertrain Control Module (PCM) C1

Pin

Wire Color

Circuit No.

Function

1-3

--

--

Not Used

4

GY

2700

5-Volt Reference

5

--

--

Not Used

6

BN/WH

419

MIL Control

7

BK/WH

2751

Low Reference

8

TN

2759

Low Reference

9

--

--

Not Used

10

WH

1310

EVAP Canister Vent Solenoid Control

11-14

--

--

Not Used

15

D-GN

1049

Class 2 Serial Data

16-17

--

--

Not Used

18

BN

1141

Accessory Voltage

19

PK

439

Ignition 1 Voltage

20

RD/WH

540

Battery Positive Voltage

21

--

--

Not Used

22

D-GN

389

Vehicle Speed Signal

23

YE/BK

625

Starter Enable Relay Control

24

BN

5069

Powertrain Relay Control

25

--

--

Not Used

26

D-GN

890

Fuel Tank Pressure Sensor Signal

27-30

--

--

Not Used

31

OG/BK

380

A/C Refrigerant Pressure Sensor Signal

32

L-GN

526

Stop Lamp Supply Voltage

33

D-GN/WH

459

A/C Compressor Clutch Relay Control

34-36

--

--

Not Used

37

D-GN/WH

465

Fuel Pump Relay Control

38-42

--

--

Not Used

43

PU

1589

Fuel Level Sensor Signal

44

GY

1884

Cruise Control Switch Signal

45-47

--

--

Not Used

48

D-GN

335

Low Speed Cooling Fan Relay Control

49

--

--

Not Used

50

D-BU

473

High Speed Cooling Fan Relay Control

51-52

--

--

Not Used

53

GY

2709

5-Volt Reference

54-56

--

--

Not Used

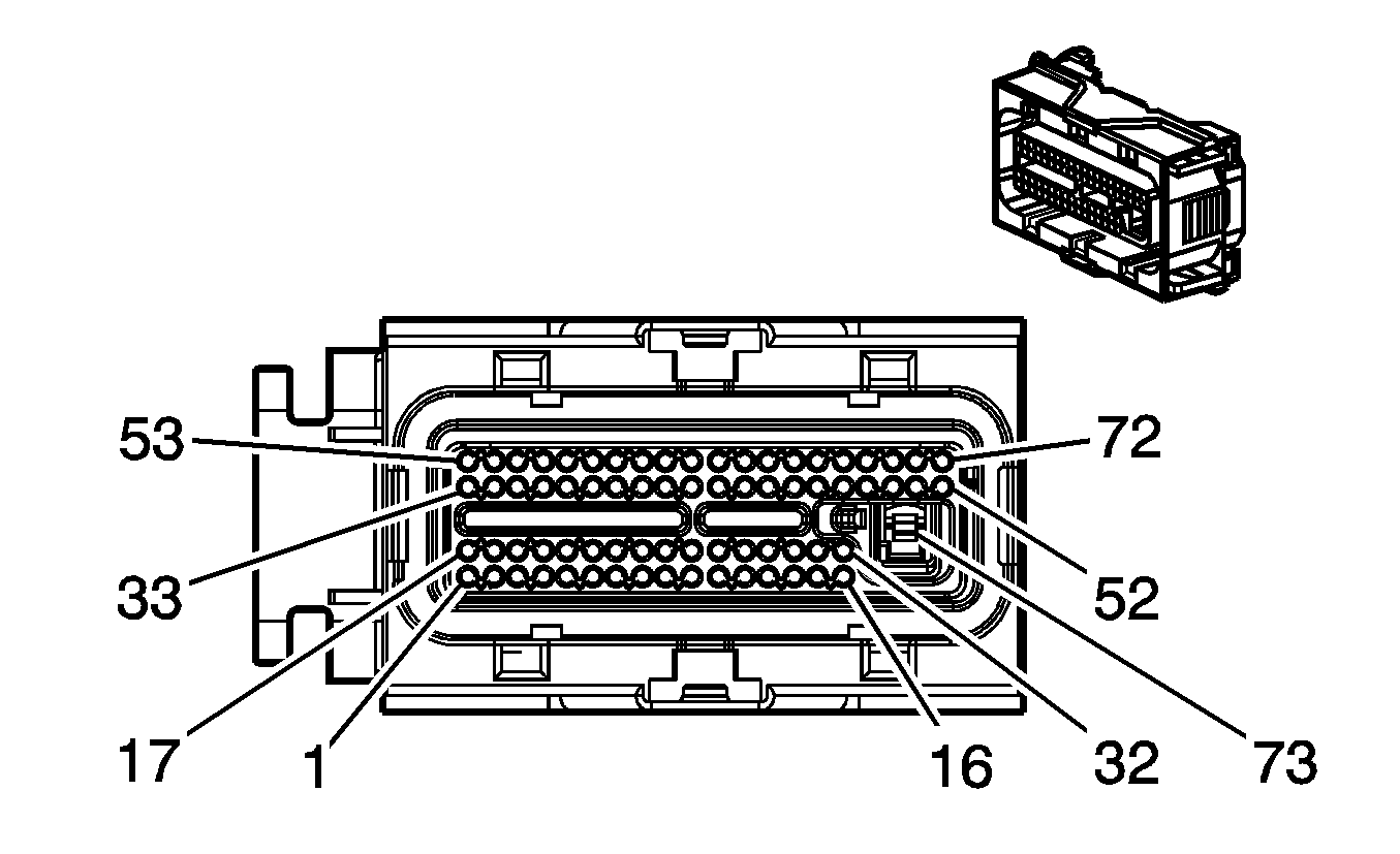
Powertrain Control Module (PCM) C2


Object Number: 1391793  Size: CH

Connector Part Information

  • OEM: 15452126
  • Service: 88953274
  • Description: 73-Way F GT 280 Series Micro-Pack 64 Series Sealed (BK)

Terminal Part Information

  • Terminal: 15359541/Tray 4
  • Core/Insulation Crimp: M/M
  • Release Tool/Test Probe: 15381651-2/J-35616-64A

Powertrain Control Module (PCM) C2

Pin

Wire Color

Circuit No.

Function

1

BN

1456

EGR Valve Position Signal

2

TN

800

UART Serial Data (Primary)

3

OG/BK

1061

UART Serial Data (Secondary)

4

PK/BK

1746

Fuel Injector 3 Control

5

TN

1744

Fuel Injector 1 Control

6

L-GN/BK

1745

Fuel Injector 2 Control

7

TN/WH

845

Fuel Injector 5 Control

8

TN

2753

Low Reference

9

YE/BK

846

Fuel Injector 6 Control

10

L-BU/BK

844

Fuel Injector 4 Control

11

OG/WH

2122

IC 2 Control

12

L-BU

5038

HO2S Heater Low Control - Sensor 1

13

OG

1676

EGR Solenoid High Control

14

--

--

Not Used

15

YE/BK

1868

Low Reference

16

GY

435

EGR Solenoid Low Control

17

--

--

Not Used

18

L-GN

432

MAP Sensor Signal

19-20

--

--

Not Used

21

OG/WH

812

12-Volt Reference

22

L-GN

1867

12-Volt Reference

23-25

--

--

Not Used

26

BN/WH

633

CMP Sensor Signal

27

L-BU/WH

1800

CKP Sensor Signal

28-29

--

--

Not Used

30

OG/BK

469

Low Reference

31

--

--

Not Used

32

TN

407

Low Reference

33

GY

2702

5-Volt Reference

34

GY

2704

5-Volt Reference

35

--

--

Not Used

36

GY

2303

KS 2 Signal

37

YE

2174

Low Reference

38

D-BU

496

KS 1 Signal

39

BARE

1251

Ground

40

GY

1716

KS 1 Signal

41

D-GN/WH

428

EVAP Canister Purge Solenoid Control

42-44

--

--

Not Used

45

GY

23

Generator Field Duty Cycle Signal

46

--

--

Not Used

47

PU

1664

HO2S Low Signal - Sensor 1

48

PU/WH

1665

HO2S High Signal - Sensor 1

49-52

--

--

Not Used

53

OG

225

Generator Turn On Signal

54

L-BU

1876

KS 2 Signal

55

YE

410

ECT Sensor Signal

56

BARE

1251

Ground

57

TN/BK

231

Oil Pressure Switch Signal

58-60

--

--

Not Used

61

PU

2121

IC 1 Control

62

--

--

Not Used

63

L-BU

2123

IC 3 Control

64-72

--

--

Not Used

73

BK/WH

451

Ground

Powertrain Control Module (PCM) C3


Object Number: 1228485  Size: CH

Connector Part Information

  • OEM: 15437820
  • Service: 88953347
  • Description: 56-Way F Micro-Pack 64 Series Sealed (GY)

Terminal Part Information

  • Terminal: 15359541/Tray 4
  • Core/Insulation Crimp: M/M
  • Release Tool/Test Probe: 15381651-2/J-35616-64A

Powertrain Control Module (PCM) C3

Pin

Wire Color

Circuit No.

Function

1-3

--

--

Not Used

4

TN/WH

1669

HO2S Low Signal - Sensor 2

5

YE/BK

1227

TFT Sensor Signal

6

YE

492

MAF Sensor Signal

7

--

--

Not Used

8

TN/WH

1423

HO2S Heater Low Control - Sensor 2

9-10

--

--

Not Used

11

OG/BK

1230

AT ISS High Signal

12

YE

400

VSS High Signal

13-14

--

--

Not Used

15

GY

773

Transmission Range Switch Signal 3

16-18

--

--

Not Used

19

PU/WH

1668

HO2S High Signal - Sensor 2

20

TN/BK

464

Delivered Torque Signal

21

--

--

Not Used

22

YE

772

Transmission Range Switch Signal B

23

WH

776

Transmission Range Switch Signal P

24

WH

1804

TCC Release Switch Signal

25

--

--

Not Used

26

TN/BK

472

IAT Sensor Signal

27-32

--

--

Not Used

33

L-GN

1222

1-2 Shift Solenoid Valve Control

34

TN/WH

771

Transmission Range Switch Signal A

35-36

--

--

Not Used

37

L-BU

1296

Axle Actuator - Control (F46)

38

--

--

Not Used

39

BN

418

TCC PWM Solenoid Valve Control

40

OG/BK

463

Requested Torque Signal

41-43

--

--

Not Used

44

PU

401

VSS Low Signal

45

--

--

Not Used

46

YE/BK

1223

2-3 Shift Solenoid Valve Control

47

OG/BK

1228

PC Solenoid Valve High Control (Sol. A)

48

TN

452

Low Reference

49

D-BU/WH

1231

AT ISS Low Signal

50

TN

2760

Low Reference

51

L-BU/WH

1229

PC Solenoid Valve Low Control (Sol. A)

52-56

--

--

Not Used