The automatic transmission input speed sensor (ISS) is a permanent magnet with a coil of wire wound around it. The ISS mounts in the case cover facing the reluctor wheel of the input shaft. As the reluctor wheel is driven by the turbine shaft, an AC signal is induced in the input speed sensor. Higher vehicle speeds induce a higher frequency and voltage at the sensor.
There is a fixed air gap between the sensor and the teeth on the sensor reluctor wheel. The ISS input is used by the powertrain control module (PCM) in order to control line pressure, TCC apply and release and transmission shift patterns. This sensor is also used to calculate the appropriate gear ratios and TCC slippage.
This diagnostic indicates stuck, erratic, or intermittent conditions in the system.
If the PCM detects an unrealistically large change in the ISS high signal in a short period of time, then DTC P0716 sets. DTC P0716 is a type B DTC.
This diagnostic procedure supports the following DTC:
DTC P0716 Input Speed Sensor Performance
| • | No VSS DTC P0502 or P0503. |
| • | No ISS DTC P0717. |
| • | No 1-2 shift solenoid valve DTC P0751, P0752 or P0753. |
| • | DTC P0717 has passed this ignition cycle. |
| • | The engine speed is greater than 500 RPM for 5 seconds and not in fuel cut off. |
| • | The TP angle is 14 percent or greater. |
| • | The vehicle speed is 8 km/h (5 mph) or greater. |
The input shaft speed changes by 1,300 RPM or more for 0.8 seconds.
| • | The PCM illuminates the malfunction indicator lamp (MIL) during the second consecutive trip in which the Conditions for Setting the DTC are met. |
| • | The PCM freezes transmission adaptive functions. |
| • | The PCM records the operating conditions when the Conditions for Setting the DTC are met. The PCM stores this information as Freeze Frame and Failure Records. |
| • | The PCM stores DTC P0716 in PCM history during the second consecutive trip in which the Conditions for Setting the DTC are met. |
| • | The PCM turns OFF the MIL during the third consecutive trip in which the diagnostic test runs and passes. |
| • | A scan tool can clear the MIL/DTC. |
| • | The PCM clears the DTC from PCM history if the vehicle completes 40 warm-up cycles without an emission-related diagnostic fault occurring. |
| • | The PCM cancels the DTC default actions when the ignition switch is OFF long enough in order to power down the PCM. |
Ensure the wiring harness is not stretched too tightly or other components are pressing on the A/T inline 20-way connector body. Also inspect for proper clearance to any other components and wiring. Refer to Testing for Intermittent Conditions and Poor Connections .
The numbers below refer to the step numbers on the diagnostic table.
A Yes answer indicates that the transmission side of the circuit is functioning properly.
Although the resistance is within specification in Step 3, there may be a short to ground or a short to voltage condition.
This step begins the transmission harness diagnosis.
Step | Action | Value(s) | Yes | No |
|---|---|---|---|---|
1 | Did you perform the Diagnostic System Check - Vehicle? | -- | Go to Step 2 | |
2 |
Important: Before clearing the DTCs, use the scan tool in order to record the Freeze Frame and Failure Records for reference. Using the Clear DTC Information function will erase the stored Freeze Frame and Failure Records from the PCM. Does the scan tool display a transmission input shaft speed greater than the specified value? | 100 RPM | Go to Testing for Intermittent Conditions and Poor Connections | Go to Step 3 |
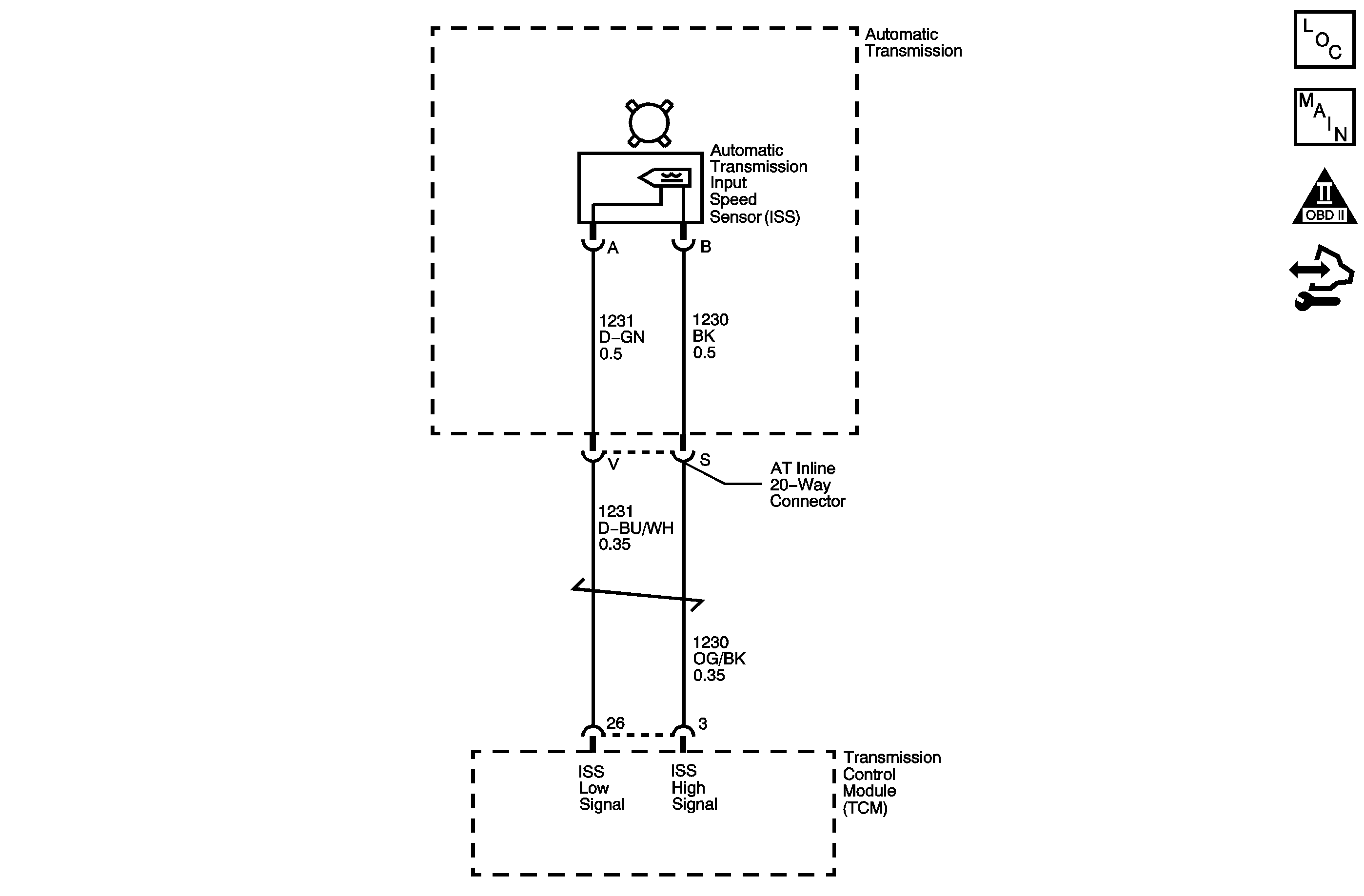
Refer to Automatic Transmission Inline 20-Way Connector End View . Is the resistance within the specified value? | 820-1428 ohms | Go to Step 4 | Go to Step 8 | |
Refer to Circuit Testing . Did you find the condition? | -- | Go to Step 10 | Go to Step 5 | |
5 | Test the high signal circuit of the ISS for an open, a short to ground or a short to the low signal circuit between the PCM and the AT inline 20-way connector. Refer to Circuit Testing and Wiring Repairs . Did you find and correct the condition? | -- | Go to Step 13 | Go to Step 6 |
6 |
Refer to Testing for a Short to Voltage and Wiring Repairs . Did you find and correct the condition? | -- | Go to Step 13 | Go to Step 7 |
7 | Test the low signal circuit of the ISS for an open between the PCM and the AT inline 20-way connector. Refer to Testing for Continuity and Wiring Repairs . Did you find and correct the condition? | -- | Go to Step 13 | Go to Step 12 |
Test the high signal circuit of the ISS for an open or a short to the low signal circuit of the ISS between the AT inline 20-way connector and the sensor. Refer to Circuit Testing . Did you find the condition? | -- | Go to Step 10 | Go to Step 9 | |
9 | Test the low signal circuit of the ISS for an open between the AT inline 20-way connector and the sensor. Refer to Testing for Continuity . Did you find the condition? | -- | Go to Step 10 | Go to Step 11 |
10 | Replace the automatic transmission wiring harness assembly. Refer to Wiring Harness Replacement . Did you complete the replacement? | -- | Go to Step 13 | -- |
11 | Replace the input speed sensor. Refer to Input Speed Sensor Replacement . Did you complete the replacement? | -- | Go to Step 13 | -- |
12 | Replace the PCM. Refer to Control Module References for replacement, setup and programming. Did you complete the replacement? | -- | Go to Step 13 | -- |
13 | Perform the following procedure in order to verify the repair:
Has the test run and passed? | -- | Go to Step 14 | Go to Step 2 |
14 | With a scan tool, observe the stored information, capture info and DTC info. Does the scan tool display any DTCs that you have not diagnosed? | -- | System OK |
The automatic transmission input speed sensor (ISS) is a permanent magnet with a coil of wire wound around it. The ISS mounts in the case cover facing the reluctor wheel of the input shaft. As the reluctor wheel is driven by the turbine shaft, an AC signal is induced in the input speed sensor. Higher vehicle speeds induce a higher frequency and voltage at the sensor.
There is a fixed air gap between the sensor and the teeth on the sensor reluctor wheel. The ISS input is used by the transmission control module (TCM) in order to control line pressure, TCC apply and release and transmission shift patterns. This sensor is also used to calculate the appropriate gear ratios and TCC slippage.
This diagnostic indicates stuck, erratic, or intermittent conditions in the system.
If the TCM detects an unrealistically large change in the ISS high signal in a short period of time, then DTC P0716 sets. DTC P0716 is a type B DTC.
This diagnostic procedure supports the following DTC:
DTC P0716 Input Speed Sensor Performance
| • | No TP sensor DTC P0120 or P0220. |
| • | No ISS DTC P0717. |
| • | No OSS DTC P0722 or P0723. |
| • | DTC P0717 has passed this ignition cycle. |
| • | No 1-2 shift solenoid valve DTC P0752, P0973 or P0974. |
| • | The engine speed is greater than 500 RPM for 5 seconds. |
| • | The ISS is 1050 RPM or greater for at least 2 seconds. |
| • | A change in ISS is 500 RPM or less for at least 2 seconds. |
| • | The vehicle speed is 16 km/h (10 mph) or greater. |
| • | The calc. throttle position is 8 percent or more. |
| • | The engine torque is greater than 50 N·m (37 lb ft). |
The input shaft speed changes by 1,000 RPM or more for 3.25 seconds.
| • | The TCM requests the ECM to illuminate the malfunction indicator lamp (MIL) during the second consecutive trip in which the Conditions for Setting the DTC are met. |
| • | The TCM commands maximum line pressure. |
| • | The TCM freezes transmission adaptive functions. |
| • | The TCM calculates input speed based on engine speed and gear ratio. |
| • | The TCM records the operating conditions when the Conditions for Setting the DTC are met. The TCM stores this information as Freeze Frame and Failure Records. |
| • | The TCM stores DTC P0716 in TCM history during the second consecutive trip in which the Conditions for Setting the DTC are met. |
| • | The ECM turns OFF the MIL during the third consecutive trip in which the TCM does not send an MIL illumination request. |
| • | A scan tool can clear the MIL/DTC. |
| • | The TCM clears the DTC from TCM history if the vehicle completes 40 warm-up cycles without an emission-related diagnostic fault occurring. |
| • | The TCM cancels the DTC default actions when the ignition switch is OFF long enough in order to power down the TCM. |
Ensure the wiring harness is not stretched too tightly or other components are pressing on the A/T inline 20-way connector body. Also inspect for proper clearance to any other components and wiring. Refer to Testing for Intermittent Conditions and Poor Connections .
The numbers below refer to the step numbers on the diagnostic table.
A Yes answer indicates that the transmission side of the circuit is functioning properly.
Although the resistance is within specification in Step 3, there may be a short to ground or a short to voltage condition.
This step begins the transmission harness diagnosis.
Step | Action | Value(s) | Yes | No |
|---|---|---|---|---|
1 | Did you perform the Diagnostic System Check - Vehicle? | -- | Go to Step 2 | |
2 |
Important: Before clearing the DTCs, use the scan tool in order to record the Freeze Frame and Failure Records for reference. Using the Clear Info function will erase the stored Freeze Frame and Failure Records from the TCM. Does the scan tool display a transmission input shaft speed greater than the specified value? | 100 RPM | Go to Testing for Intermittent Conditions and Poor Connections | Go to Step 3 |
Refer to Automatic Transmission Inline 20-Way Connector End View . Is the resistance within the specified value? | 820-1428 ohms | Go to Step 4 | Go to Step 8 | |
Refer to Circuit Testing . Did you find the condition? | -- | Go to Step 10 | Go to Step 5 | |
5 |
Refer to Circuit Testing and Wiring Repairs . Did you find and correct the condition? | -- | Go to Step 13 | Go to Step 6 |
6 |
Refer to Testing for a Short to Voltage and Wiring Repairs . Did you find and correct the condition? | -- | Go to Step 13 | Go to Step 7 |
7 | Test the low signal circuit of the ISS for an open between the TCM connector and the AT inline 20-way connector. Refer to Testing for Continuity and Wiring Repairs . Did you find and correct the condition? | -- | Go to Step 13 | Go to Step 12 |
Test the high signal circuit of the ISS for an open or a short to the low signal circuit of the ISS between the AT inline 20-way connector and the sensor. Refer to Circuit Testing . Did you find the condition? | -- | Go to Step 10 | Go to Step 9 | |
9 | Test the low signal circuit of the ISS for an open between the AT inline 20-way connector and the sensor. Refer to Testing for Continuity . Did you find the condition? | -- | Go to Step 10 | Go to Step 11 |
10 | Replace the automatic transmission wiring harness assembly. Refer to Wiring Harness Replacement . Did you complete the replacement? | -- | Go to Step 13 | -- |
11 | Replace the automatic transmission input shaft speed sensor. Refer to Input Speed Sensor Replacement . Did you complete the replacement? | -- | Go to Step 13 | -- |
12 | Replace the TCM. Refer to Control Module References for replacement, setup and programming. Did you complete the replacement? | -- | Go to Step 13 | -- |
13 | Perform the following procedure in order to verify the repair:
Has the test run and passed? | -- | Go to Step 14 | Go to Step 2 |
14 | With a scan tool, observe the stored information, capture info and DTC info. Does the scan tool display any DTCs that you have not diagnosed? | -- | System OK |