GM Service Manual Online
For 1990-2009 cars only

DTC P1826 3.5L


Object Number: 1537490  Size: LF
Master Electrical Component List
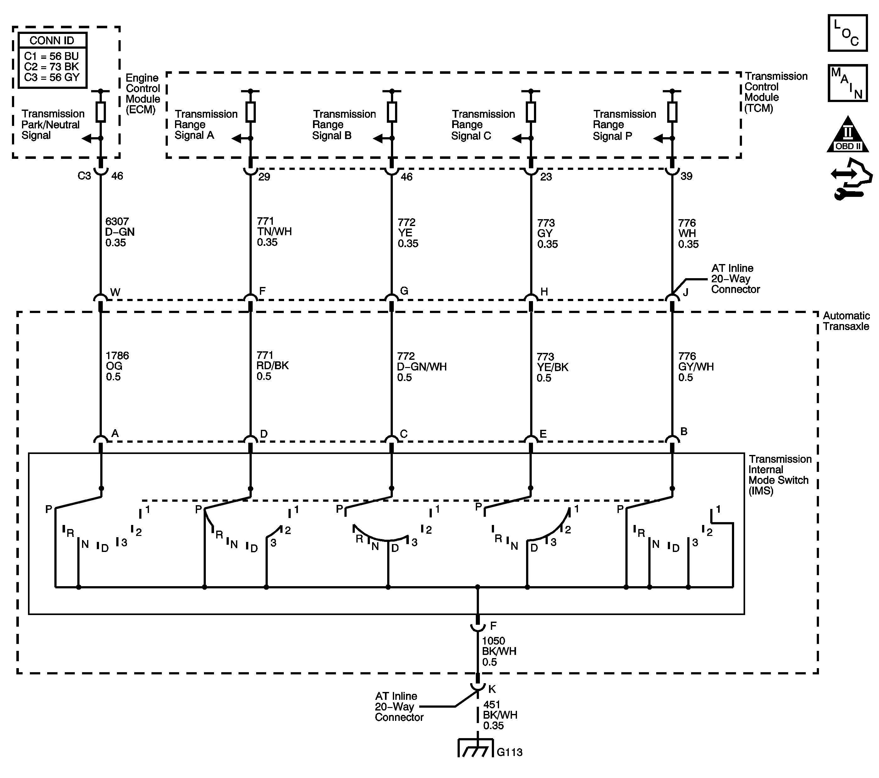
Automatic Transmission Controls Schematics (LX9)
OBD II Symbol Description Notice
Control Module References

Circuit Description

The transmission internal mode switch (IMS) is a sliding contact switch attached to the selector detent inside the transmission side cover. The 4 inputs to the powertrain control module (PCM) indicate the position of the transmission range selector. The input voltage level at the PCM is high, B+, when the IMS is open and low when the switch is closed to ground. The 4 input parameters represented are Signals A, B, C and P - Parity. Refer to Transmission Internal Mode Switch Logic .

If the PCM detects that IMS Signal C is high while the vehicle is being driven with a forward gear ratio, then DTC P1826 sets. DTC P1826 is a type C DTC.

DTC Descriptor

This diagnostic procedure supports the following DTC:

DTC P1826 Internal Mode Switch C Circuit High Voltage

Conditions for Running the DTC

    • No VSS DTCs P0502 or P0503.
    • Vehicle speed is 16 km/h (10 mph) or greater.
    • Engine torque is 27 N·m (20 lb ft) or greater.
    • DTC P1826 has not passed this key cycle.

Conditions for Setting the DTC

The PCM detects IMS Signal C is high, while the gear ratio indicates first, second, third or fourth gear for 60 seconds.

Action Taken When the DTC Sets

    • The PCM does not illuminate the malfunction indicator lamp (MIL).
    • The PCM commands maximum line pressure.
    • The PCM freezes transmission adaptive functions.
    • The PCM assumes D4 for shifting.
    • The PCM records the operating conditions when the Conditions for Setting the DTC are met. The PCM stores this information as Failure Records.
    • The PCM stores DTC P1826 in PCM history.

Conditions for Clearing the DTC

    • A scan tool can clear the DTC.
    • The PCM clears the DTC from PCM history if the vehicle completes 40 warm-up cycles without a non-emission-related diagnostic fault occurring.
    • The PCM cancels the DTC default actions when the ignition switch is OFF long enough in order to power down the PCM.

Test Description

The number below refers to the step number on the diagnostic table.

  1. This step tests the integrity of the engine harness and PCM by checking for the Signal C state change from HI to LOW. A LOW signal indicates the fault is either in the internal transmission harness or the switch. A HI signal indicates the fault is either in the engine harness or the PCM.

Step

Action

Value(s)

Yes

No

1

Did you perform the Diagnostic System Check - Vehicle?

--

Go to Step 2

Go to Diagnostic System Check - Vehicle

2

  1. Install a scan tool.
  2. Turn ON the ignition with the engine OFF.
  3. Important: Before clearing the DTC, use the scan tool in order to record the Failure Records. Using the Clear DTC Information function erases the Failure Records from the PCM.

  4. Record the DTC Failure Records.
  5. Clear the DTC.
  6. Select IMS on the scan tool.
  7. Place the range selector in D4.

Does the scan tool IMS parameter indicate Drive 4?

--

Go to Testing for Intermittent Conditions and Poor Connections

Go to Step 3

3

  1. Turn OFF the ignition.
  2. Disconnect the AT Inline 20-way connector. Additional DTCs may set.
  3. Install the J 44152 Jumper Harness on the engine side of the AT Inline 20-way connector.
  4. Using the J 35616 GM Approved Terminal Test Kit, connect a fused jumper wire from the TR signal C circuit of the J 44152 to a good ground.
  5. Refer to Automatic Transmission Inline 20-Way Connector End View .

  6. Turn ON the ignition, with the engine OFF.
  7. Select IMS A/B/C/P on the scan tool.

Does IMS Signal C indicate LOW?

--

Go to Step 5

Go to Step 4

4

Test the TR signal C circuit of the IMS for an open between the PCM and the AT Inline 20-way connector.

Refer to Testing for Continuity and Wiring Repairs .

Did you find and correct a condition?

--

Go to Step 9

Go to Step 8

5

Test the TR signal C circuit of the IMS for an open between the AT Inline 20-way connector and the IMS.

Refer to Testing for Continuity .

Did you find the condition?

--

Go to Step 6

Go to Step 7

6

Replace the automatic transmission wiring harness.

Refer to Wiring Harness Replacement .

Did you complete the replacement?

--

Go to Step 9

--

7

Replace the lever assembly-manual shaft detent with internal mode switch.

Refer to Manual Shift Detent Lever with Shaft Position Switch Assembly Removal in Transmission Unit Repair Manual.

Did you complete the replacement?

--

Go to Step 9

--

8

Replace the PCM.

Refer to Control Module References for replacement, setup and programming.

Did you complete the replacement?

--

Go to Step 9

--

9

Perform the following procedure in order to verify the repair:

  1. Select DTC.
  2. Select Clear DTC Information.
  3. Observe IMS A/B/C/P on the scan tool.
  4. Move the range selector to the D4 position.
  5. Drive the vehicle with a 1st, 2nd, 3rd and 4th gear ratio. Ensure that IMS Signal C indicates LOW for each ratio.
  6. Select Specific DTC.
  7. Enter DTC P1826.

Has the test run and passed?

--

Go to Step 10

Go to Step 2

10

With a scan tool, observe the stored information, capture info and DTC info.

Does the scan tool display any DTCs that you have not diagnosed?

--

Go to Diagnostic Trouble Code (DTC) List - Vehicle

System OK

DTC P1826 3.9L


Object Number: 1755906  Size: LF
Master Electrical Component List
Automatic Transmission Controls Schematics (LZ9)
OBD II Symbol Description Notice
Control Module References

Circuit Description

The transmission internal mode switch (IMS) is a sliding contact switch attached to the selector detent inside the transmission side cover. The 4 inputs to the transmission control module (TCM) indicate the position of the transmission range selector. The input voltage level at the TCM is high, B+, when the IMS is open and low when the switch is closed to ground. The 4 input parameters represented are Signals A, B, C and P - Parity. Refer to Transmission Internal Mode Switch Logic .

If the TCM detects that IMS Signal C is high while the vehicle is being driven in a forward gear, then DTC P1826 sets. DTC P1826 is a type B DTC.

DTC Descriptor

This diagnostic procedure supports the following DTC:

DTC P1826 Internal Mode Switch C Circuit High Voltage

Conditions for Running the DTC

    • No OSS DTCs P0722 or P0723.
    • The engine speed is greater than 500 RPM for 5 seconds.
    • The IMS indicates PARK or NEUTRAL for 1 second or more.
    • Vehicle speed is 16 km/h (10 mph) or more.
    • Engine torque is 50 N·m (37 lb ft) or more.
    • DTC P1826 has not passed this key cycle.

Conditions for Setting the DTC

The TCM detects IMS Signal C is high, while the gear ratio indicates first, second, third or fourth gear for 8 seconds or more.

Action Taken When the DTC Sets

    • The TCM requests the ECM to illuminate the malfunction indicator lamp (MIL) during the second consecutive trip in which the Conditions for Setting the DTC are met.
    • The TCM commands maximum line pressure.
    • The TCM commands an alternate coast shift pattern where downshifts occur at higher vehicle speeds while coasting.
    • The TCM freezes transmission adaptive functions.
    • The TCM assumes D4 for shifting.
    • The TCM records the operating conditions when the Conditions for Setting the DTC are met. The TCM stores this information as Failure Records.
    • The TCM stores DTC P1826 in TCM history during the consecutive trip in which the Conditions for Setting the DTC are met.

Conditions for Clearing the DTC

    • A scan tool can clear the DTC.
    • The TCM clears the DTC from TCM history if the vehicle completes 40 warm-up cycles without an emission-related diagnostic fault occurring.
    • The TCM cancels the DTC default actions when the ignition switch is OFF long enough in order to power down the TCM.

Test Description

The number below refers to the step number on the diagnostic table.

  1. This step tests the integrity of the engine harness and TCM by checking for the Signal C state change from HI to LOW. A LOW signal indicates the fault is either in the internal transmission harness or the switch. A HI signal indicates the fault is either in the engine harness or the TCM.

Step

Action

Value(s)

Yes

No

1

Did you perform the Diagnostic System Check - Vehicle?

--

Go to Step 2

Go to Diagnostic System Check - Vehicle

2

  1. Install a scan tool.
  2. Turn ON the ignition with the engine OFF.
  3. Important: Before clearing the DTC, use the scan tool in order to record the Failure Records. Using the Clear Info function erases Failure Records from the TCM.

  4. Record the DTC Freeze Frame and Failure Records.
  5. Clear the DTC.
  6. Select IMS on the scan tool.
  7. Place the range selector in D4.

Does the scan tool IMS parameter indicate Drive 4?

--

Go to Testing for Intermittent Conditions and Poor Connections

Go to Step 3

3

  1. Turn OFF the ignition.
  2. Disconnect the AT Inline 20-way connector. Additional DTCs may set.
  3. Install the J 44152 Jumper Harness on the engine side of the AT Inline 20-way connector.
  4. Using the J 35616 GM Approved Terminal Test Kit, connect a fused jumper wire from the TR signal C circuit of the J 44152 to a good ground.
  5. Refer to Automatic Transmission Inline 20-Way Connector End View .

  6. Turn ON the ignition, with the engine OFF.
  7. Select IMS A/B/C/P on the scan tool.

Does IMS Signal C indicate LOW?

--

Go to Step 5

Go to Step 4

4

Test the TR signal C circuit of the IMS for an open between the TCM connecto and the AT Inline 20-way connector.

Refer to Testing for Continuity and Wiring Repairs .

Did you find and correct a condition?

--

Go to Step 9

Go to Step 8

5

Test the TR signal C circuit of the IMS for an open between the AT Inline 20-way connector and the IMS.

Refer to Testing for Continuity .

Did you find the condition?

--

Go to Step 6

Go to Step 7

6

Replace the automatic transmission wiring harness.

Refer to Wiring Harness Replacement .

Did you complete the replacement?

--

Go to Step 9

--

7

Replace the lever assembly-manual shaft detent with internal mode switch.

Refer to Manual Shift Detent Lever with Shaft Position Switch Assembly Removal in Transmission Unit Repair Manual.

Did you complete the replacement?

--

Go to Step 9

--

8

Replace the TCM.

Refer to Control Module References for replacement, setup and programming.

Did you complete the replacement?

--

Go to Step 9

--

9

Perform the following procedure in order to verify the repair:

  1. Select DTC.
  2. Select Clear Info.
  3. Start and idle the engine in PARK for 10 seconds.
  4. Observe IMS A/B/C/P on the scan tool.
  5. Move the range selector to D1, D2, D3 and D4 positions. Ensure that IMS Signal C indicates LOW for each range.
  6. Operate the vehicle within the Conditions for Running the DTC, as specified in the supporting text.
  7. Select Specific DTC.
  8. Enter DTC P1826.

Has the test run and passed?

--

Go to Step 10

Go to Step 2

10

With a scan tool, observe the stored information, capture info and DTC info.

Does the scan tool display any DTCs that you have not diagnosed?

--

Go to Diagnostic Trouble Code (DTC) List - Vehicle

System OK