GM Service Manual Online
For 1990-2009 cars only
Makes
🢒
Pontiac
🢒
2002
🢒
Montana - 4WD
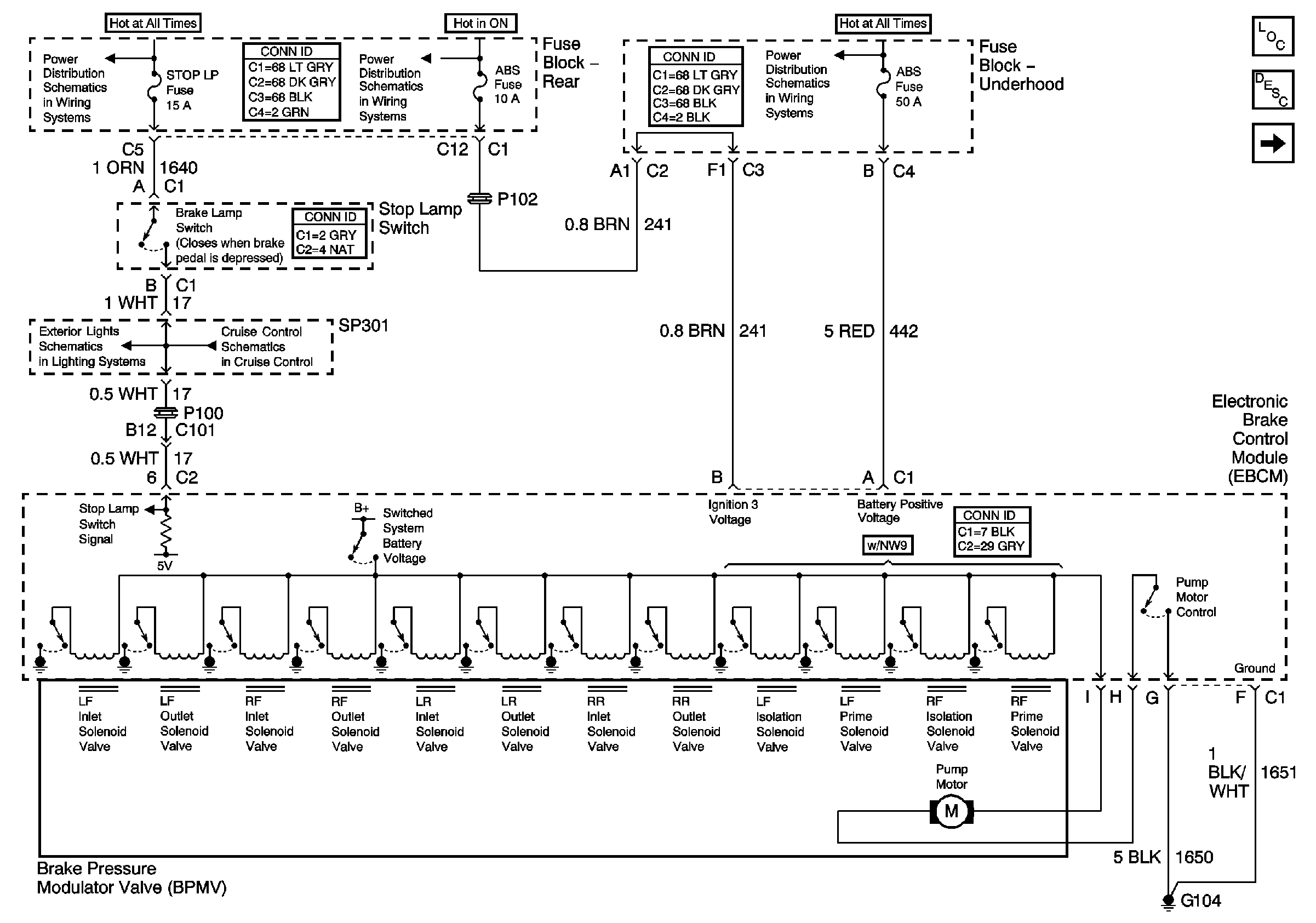
🢒 Power, Ground, BPMV Valves, and the Stoplamp Switch Controls
Power, Ground, BPMV Valves, and the Stoplamp Switch Controls
Power, Ground, BPMV Valves, and the Stoplamp Switch Controls
Master Electrical Component List
Battery Voltage to the Rear Fuse Block
Stoplamps
CCM and PCM Controls
Battery Voltage to the Rear Fuse Block
Battery Feed to the Fuse Block - Underhood
Wheel Speed Sensors