GM Service Manual Online
For 1990-2009 cars only
Makes
🢒
Pontiac
🢒
2002
🢒
Montana - 4WD
🢒 Power and Switch Controls
Power and Switch Controls
Power and Switch Controls
Master Electrical Component List
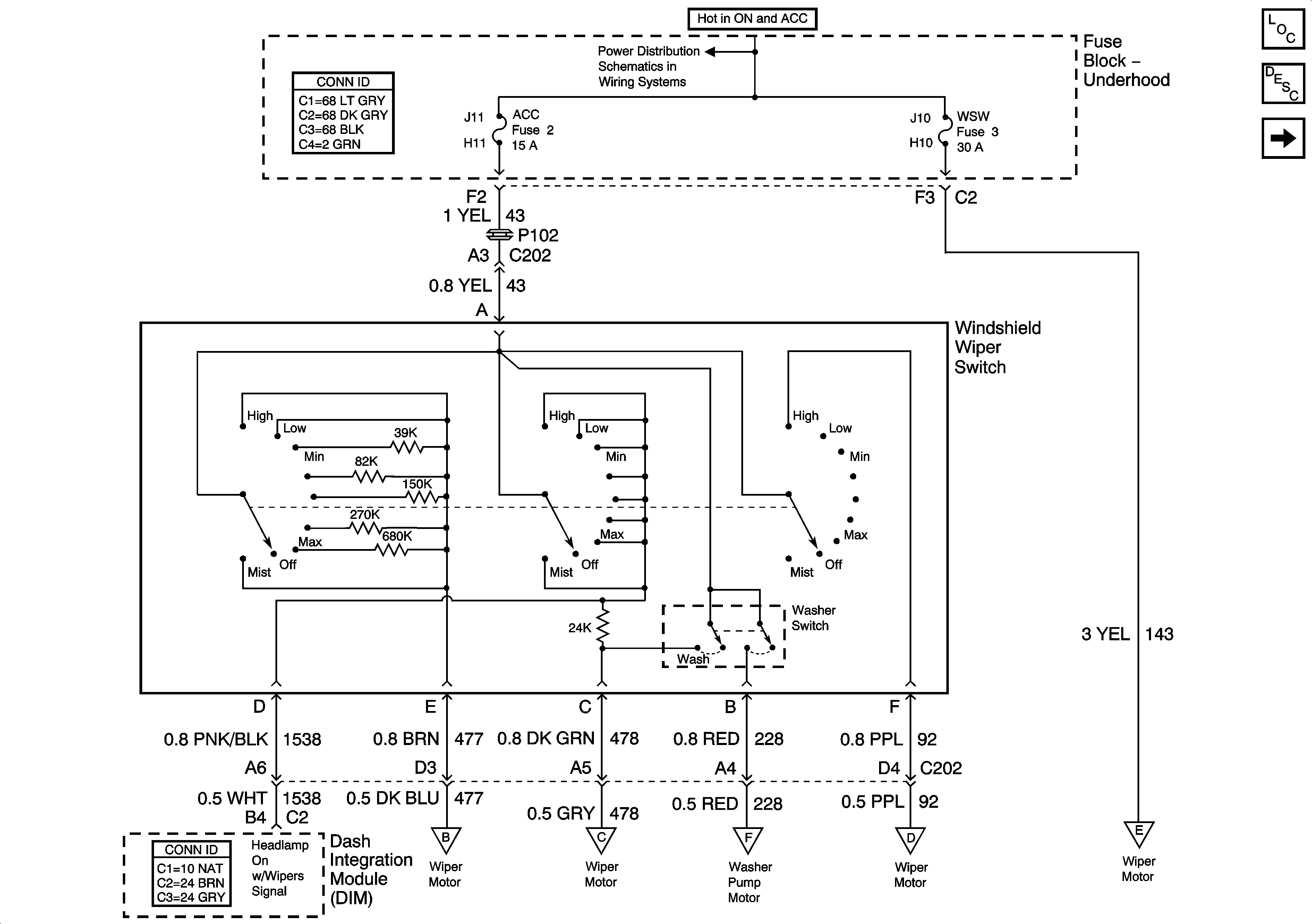
AIR, C/LTR, AUX PWR, WSW, ACCY Fuses and the AIR PUMP and ACCY Relays( Fuse Block - Underhood)
Motors
Motors
Motors
Motors
Motors
Motors