GM Service Manual Online
For 1990-2009 cars only
Connector 1: Cooling Fan Motor (L61/2.2L)
Connector 2: Cooling Fan - 1 (LSJ/2.0L)
Connector 3: Cooling Fan - 2 (LSJ/2.0L)
Connector 4: Cooling Fan Motor (LE5/2.4L)
Connector 5: Cooling Fan Resistor (LE5/2.4L)

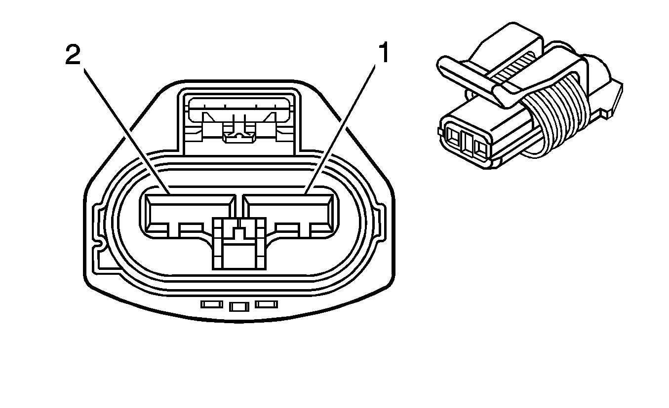
Cooling Fan Motor (L61/2.2L)


Object Number: 1646319  Size: CH

Connector Part Information

  • OEM: 15451371
  • Service: 88988310
  • Description: 3-Way F Metri-Pack 480 Series Sealed (BK)

Terminal Part Information

  • Terminal/Tray: 12191448/3
  • Core/Insulation Crimp: F/3
  • Release Tool/Test Probe: 15315247/J-35616-40 (BU)

Cooling Fan Motor (L61/2.2L)

Pin

Wire Color

Circuit No.

Function

1

L-BU

409

Cooling Fan Motor Supply Voltage

2

GY

532

Cooling Fan Motor Supply Voltage

3

BK

1050

Ground

Cooling Fan - 1 (LSJ/2.0L)


Object Number: 1283123  Size: CH

Connector Part Information

  • OEM: 15383305
  • Service: 88988311
  • Description: 2-Way F Metri-Pack 480 Series Sealed (NA)

Terminal Part Information

  • Terminal/Tray: 12191448/3
  • Core/Insulation Crimp: F/3
  • Release Tool/Test Probe: 15315247/J-35616-40 (BU)

Cooling Fan - 1 (LSJ/2.0L)

Pin

Wire Color

Circuit No.

Function

1

L-BU

409

Cooling Fan Motor Supply Voltage

2

--

--

Not Available

3

WH

504

Cooling Fan Motor Low Reference

Cooling Fan - 2 (LSJ/2.0L)


Object Number: 1283123  Size: CH

Connector Part Information

  • OEM: 15383305
  • Service: 88988311
  • Description: 2-Way F Metri-Pack 480 Series Sealed (NA)

Terminal Part Information

  • Terminal/Tray: 12191448/3
  • Core/Insulation Crimp: F/3
  • Release Tool/Test Probe: 15315247/J-35616-40 (BU)

Cooling Fan - 2 (LSJ/2.0L)

Pin

Wire Color

Circuit No.

Function

1

GY

532

Cooling Fan Motor Supply Voltage

2

--

--

Not Available

3

BK

1050

Ground

Cooling Fan Motor (LE5/2.4L)


Object Number: 1589967  Size: CH

Connector Part Information

  • OEM: F8ZB-14A464-CA
  • Service: 88988310
  • Description: 3-Way F Metri-Pack 480 Series Sealed (BK)

Terminal Part Information

  • Terminal/Tray: See Terminal Repair Kit
  • Core/Insulation Crimp: See Terminal Repair Kit
  • Release Tool/Test Probe: See Terminal Repair Kit

Cooling Fan Motor (LE5/2.4L)

Pin

Wire Color

Circuit No.

Function

1

YE

5358

Auxiliary Cooling Fan Motor Supply Voltage

2

GY

532

Cooling Fan Motor Supply Voltage

3

BK

1050

Ground

Cooling Fan Resistor (LE5/2.4L)


Object Number: 1590159  Size: CH

Connector Part Information

  • OEM: 7283-3214-30
  • Service: See Catalog
  • Description: 2-Way F (BK)

Terminal Part Information

  • Terminal/Tray: See Terminal Repair Kit
  • Core/Insulation Crimp: See Terminal Repair Kit
  • Release Tool/Test Probe: See Terminal Repair Kit

Cooling Fan Resistor (LE5/2.4L)

Pin

Wire Color

Circuit No.

Function

1

L-BU

409

Cooling Fan Motor Supply Voltage

2

YE

5358

Auxiliary Cooling Fan Motor Supply Voltage